
Het adres Zomerweg 25 bevindt zich in de plaats Kloetinge, in de gemeente Kloetinge en de provincie Zeeland. De oppervlakte bedraagt 179 m², waarmee het adres groter dan gemiddeld is. De grootte van het perceel waarop het adres ligt is 479 m². Het adres is klein vergeleken met andere objecten in de straat. Het grootste object in de straat heeft een oppervlakte van 1899 m², het kleinste is 93 m² groot. De meeste Nederlandse gebouwen zijn gebouwd in de periode 1965-1984. Zo ook het pand waarin Zomerweg 25 ligt, dat gebouwd is in 1969. Veel andere gebouwen in de straat zijn ouder dan dit pand. Het oudste pand komt uit het jaar 1930 en het nieuwste uit 2020. Voor het verblijfsobject gelden deze gebruiksdoelen: 'woonfunctie'.
Deze woning is voor het laatst verkocht op 1 augustus 2020. Meer informatie over deze transactie? Bestel het Woningtransactierapport om de verkoopprijs en andere informatie te zien.
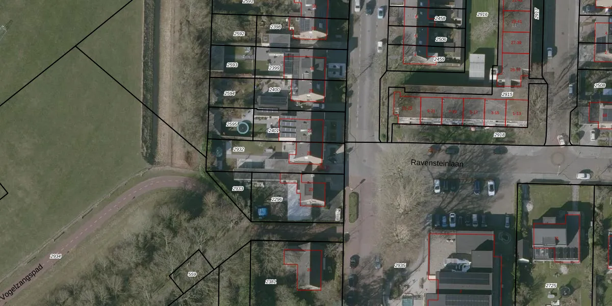
Het adres ligt op het perceel KTG00-A-2932, dat zich in de kadastrale gemeente Kloetinge bevindt. De gemiddelde perceelgrootte in Kloetinge is 903,24 m². Dit perceel is kleiner: de perceeloppervlakte bedraagt 479 m². De grootste perceeloppervlakte in de kadastrale gemeente is 7,5 ha. De kleinste oppervlakte bedraagt 1 m². Er zijn geen andere adressen aanwezig op het perceel. In de Basisregistratie Kadaster (BRK) werden de grenzen van het perceel geregistreerd op 27-04-2000.
Het adres ligt in een gebouw van het type 'twee-onder-een-kap / rijwoning hoek met het subtype twee-onder-een-kap'. Bij de laatste meting is voor het adres het energielabel C geregistreerd. Het hoogste energielabel in de straat is A; het laagste is G. Het gemiddelde energielabel is er C. Het adres Zomerweg 25 heeft als status: 'verblijfsobject in gebruik'. Het pand waarin dit adres ligt heeft als status: 'pand in gebruik'.
Zomerweg 25 is een adres gelegen in de gemeente Goes, provincie Zeeland. Dit adres is geregistreerd in de Basisregistratie Adressen en Gebouwen (BAG) met als unieke identificatie 0664010000005958.
Het pand op Zomerweg 25 is gebouwd in 1969, wat betekent dat het 57 jaar oud is. Dit is een ouder pand. Het pand heeft mogelijk aanzienlijke renovaties nodig om aan de huidige standaarden te voldoen.
De woning op Zomerweg 25 heeft een gebruiksoppervlakte van 179 m². Dit is ruim vergeleken met de gemiddelde Nederlandse woning, die een oppervlakte heeft van ongeveer 119 m². De gebruiksoppervlakte is de maat die wordt gebruikt in de BAG-registratie, de landelijke registratie van de Nederlandse overheid.
Zomerweg 25 heeft als functie: wonen. Deze gebruiksfunctie(s) zijn vastgelegd in de BAG-registratie en geven aan waarvoor het adres officieel mag worden gebruikt.
Zomerweg 25 is gelegen op kadastraal perceel KTG00A2932. Deze kadastrale aanduiding is uniek en wordt gebruikt door het Kadaster om eigendomsrechten en andere zakelijke rechten vast te leggen. Het perceel maakt onderdeel uit van de kadastrale gemeente Kloetinge.
Het perceel waarop Zomerweg 25 staat heeft een oppervlakte van 479 m². Dit is een groot perceel. De perceeloppervlakte wordt geregistreerd door het Kadaster. Gedetailleerde informatie over de maten van dit perceel kunt u vinden in het rapport Kadastrale kaart met maatvoering van Zomerweg 25.
De eigenaar van Zomerweg 25 is op te vragen op deze pagina.
De informatie over dit adres is afkomstig uit officiële overheidsregistraties, voornamelijk de Basisregistratie Adressen en Gebouwen (BAG) en de Basisregistratie Kadaster (BRK). Deze gegevens worden beheerd door respectievelijk gemeenten en het Kadaster, en worden regelmatig bijgewerkt. Energielabelgegevens komen uit de database van de Rijksdienst voor Ondernemend Nederland (RVO).
