
Boskloantsje 7 is een adres in Kollumersweach, dat zich bevindt binnen de gemeentegrenzen van Kollumersweach en de grenzen van de provincie Friesland. De oppervlakte bedraagt 198 m², waarmee het adres groter dan gemiddeld is. De grootte van het perceel waarop het adres ligt is 1410 m². Het object is klein ten opzichte van de andere adressen in de straat. Het grootste verblijfsobject is 5062 m² groot en het kleinste is 114 m². De gemiddelde bouwperiode van gebouwen in Nederland ligt tussen de jaren 1965-1984. Dat geldt ook voor het bouwjaar van Boskloantsje 7: het is gebouwd in het jaar 1976. In de straat komt het nieuwste gebouw uit het jaar 2005 en het oudste uit 1930. Het bouwjaar van dit object is relatief oud. De volgende gebruiksdoelen zijn geregistreerd voor dit adres: 'woonfunctie'.
Deze woning is voor het laatst verkocht op 1 september 2018. Meer informatie over deze transactie? Bestel het Woningtransactierapport om de verkoopprijs en andere informatie te zien.
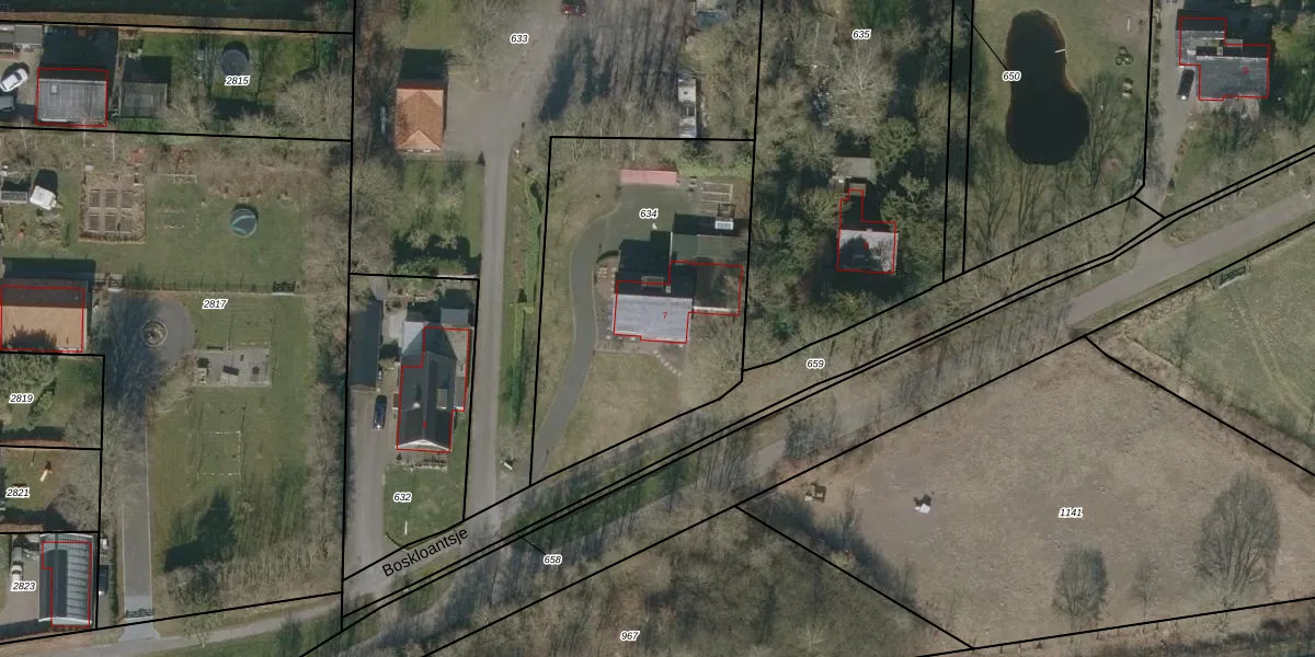
Het perceel waarop het adres ligt is WTG01-F-634. De afkorting 'WTG01' staat voor kadastrale gemeente Westergeest. Het perceel is 1410 m² groot. Dat is kleiner dan de gemiddelde perceeloppervlakte in Westergeest, dat op 8413,16 m² ligt. Het kleinste perceel in de kadastrale gemeente is 0 m² groot. De grootste perceeloppervlakte is 47,5 ha. Er zijn geen andere adressen aanwezig op het perceel. De huidige grenzen van het perceel zijn digitaal in de Basisregistratie Kadaster (BRK) geregistreerd op 29-05-2006.
Het adres ligt in een gebouw van het type 'vrijstaande woning'. Bij de laatste meting is voor het adres het energielabel C geregistreerd. Het hoogste energielabel in de straat is A; het laagste is G. Het gemiddelde energielabel is er B. Het adres Boskloantsje 7 heeft als status: 'verblijfsobject in gebruik'. Het pand waarin dit adres ligt heeft als status: 'pand in gebruik'.
Boskloantsje 7 is een adres gelegen in de gemeente Noardeast-Fryslân, provincie Friesland. Dit adres is geregistreerd in de Basisregistratie Adressen en Gebouwen (BAG) met als unieke identificatie 0079010000372563.
Het pand op Boskloantsje 7 is gebouwd in 1976, wat betekent dat het 50 jaar oud is. Dit is een ouder pand. Het pand heeft mogelijk aanzienlijke renovaties nodig om aan de huidige standaarden te voldoen.
De woning op Boskloantsje 7 heeft een gebruiksoppervlakte van 198 m². Dit is ruim vergeleken met de gemiddelde Nederlandse woning, die een oppervlakte heeft van ongeveer 119 m². De gebruiksoppervlakte is de maat die wordt gebruikt in de BAG-registratie, de landelijke registratie van de Nederlandse overheid.
Boskloantsje 7 heeft als functie: wonen. Deze gebruiksfunctie(s) zijn vastgelegd in de BAG-registratie en geven aan waarvoor het adres officieel mag worden gebruikt.
Boskloantsje 7 is gelegen op kadastraal perceel WTG01F634. Deze kadastrale aanduiding is uniek en wordt gebruikt door het Kadaster om eigendomsrechten en andere zakelijke rechten vast te leggen. Het perceel maakt onderdeel uit van de kadastrale gemeente Westergeest.
Het perceel waarop Boskloantsje 7 staat heeft een oppervlakte van 1410 m². Dit is een zeer groot perceel. De perceeloppervlakte wordt geregistreerd door het Kadaster. Gedetailleerde informatie over de maten van dit perceel kunt u vinden in het rapport Kadastrale kaart met maatvoering van Boskloantsje 7.
De eigenaar van Boskloantsje 7 is op te vragen op deze pagina.
De informatie over dit adres is afkomstig uit officiële overheidsregistraties, voornamelijk de Basisregistratie Adressen en Gebouwen (BAG) en de Basisregistratie Kadaster (BRK). Deze gegevens worden beheerd door respectievelijk gemeenten en het Kadaster, en worden regelmatig bijgewerkt. Energielabelgegevens komen uit de database van de Rijksdienst voor Ondernemend Nederland (RVO).
