
Het adres Massenbroekreed 1 bevindt zich in de plaats Kollumersweach, in de gemeente Kollumersweach en de provincie Friesland. De oppervlakte van het verblijfsobject is met 339 m² aan de grote kant. Het perceel heeft een oppervlakte van 2,1 ha. In de straat is dit het adres met de grootste oppervlakte. De objecten in de straat zijn gemiddeld 218 m² groot. Het kleinste verblijfsobject heeft een oppervlakte van 96 m². Massenbroekreed 1 ligt in een gebouw uit het jaar 2000. Daarmee behoort het tot de groep panden van na 1984, die we als relatief nieuw bestempelen. Dit pand is het meest recent exemplaar in de straat. Het oudste object komt er uit 1952 en het gemiddelde bouwjaar is 1976. De volgende gebruiksdoelen zijn geregistreerd voor dit adres: 'woonfunctie'.
Deze woning is voor het laatst verkocht op 1 april 2006. Meer informatie over deze transactie? Bestel het Woningtransactierapport om de verkoopprijs en andere informatie te zien.
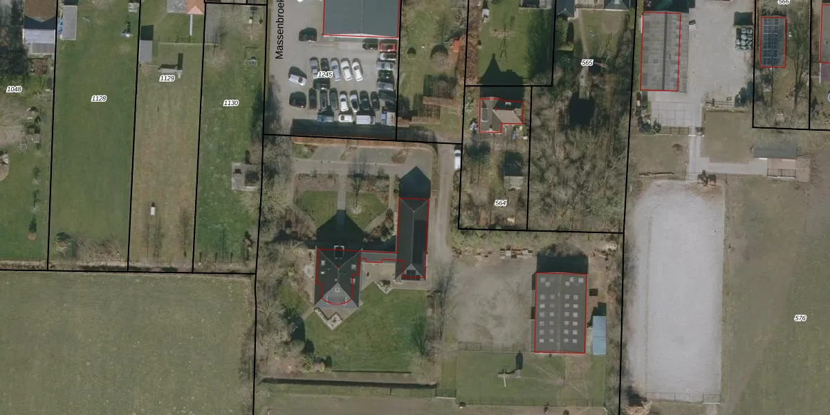
Het perceel waarop het adres ligt is WTG01-F-577. De afkorting 'WTG01' staat voor kadastrale gemeente Westergeest. De oppervlakte van het perceel is 2,1 ha. Dat is groter dan gemiddeld in Westergeest, waar de gemiddelde perceeloppervlakte op 8413,16 m² ligt. Het grootste perceel in de kadastrale gemeente is 47,5 ha. Het kleinste perceel heeft een oppervlakte van 0 m². Op het perceel bevinden zich geen andere adressen. In de Basisregistratie Kadaster (BRK) werden de grenzen van het perceel geregistreerd op 20-10-2009.
Er is geen energielabel geregistreerd voor het adres. Het hoogste energielabel in de straat is G; het laagste is G. Het gemiddelde energielabel is er G. Het adres Massenbroekreed 1 heeft als status: 'verblijfsobject in gebruik'. Het pand waarin dit adres ligt heeft als status: 'pand in gebruik'.
Massenbroekreed 1 is een adres gelegen in de gemeente Noardeast-Fryslân, provincie Friesland. Dit adres is geregistreerd in de Basisregistratie Adressen en Gebouwen (BAG) met als unieke identificatie 0079010000375789.
Het pand op Massenbroekreed 1 is gebouwd in 2000, wat betekent dat het 26 jaar oud is. Dit is een pand van middelbare leeftijd. Het pand is van gemiddelde leeftijd en zal waarschijnlijk verouderde elementen bevatten.
De woning op Massenbroekreed 1 heeft een gebruiksoppervlakte van 339 m². Dit is ruim vergeleken met de gemiddelde Nederlandse woning, die een oppervlakte heeft van ongeveer 119 m². De gebruiksoppervlakte is de maat die wordt gebruikt in de BAG-registratie, de landelijke registratie van de Nederlandse overheid.
Massenbroekreed 1 heeft als functie: wonen. Deze gebruiksfunctie(s) zijn vastgelegd in de BAG-registratie en geven aan waarvoor het adres officieel mag worden gebruikt.
Massenbroekreed 1 is gelegen op kadastraal perceel WTG01F577. Deze kadastrale aanduiding is uniek en wordt gebruikt door het Kadaster om eigendomsrechten en andere zakelijke rechten vast te leggen. Het perceel maakt onderdeel uit van de kadastrale gemeente Westergeest.
Het perceel waarop Massenbroekreed 1 staat heeft een oppervlakte van 2,1 ha. Dit is een zeer groot perceel. De perceeloppervlakte wordt geregistreerd door het Kadaster. Gedetailleerde informatie over de maten van dit perceel kunt u vinden in het rapport Kadastrale kaart met maatvoering van Massenbroekreed 1.
De eigenaar van Massenbroekreed 1 is op te vragen op deze pagina.
De informatie over dit adres is afkomstig uit officiële overheidsregistraties, voornamelijk de Basisregistratie Adressen en Gebouwen (BAG) en de Basisregistratie Kadaster (BRK). Deze gegevens worden beheerd door respectievelijk gemeenten en het Kadaster, en worden regelmatig bijgewerkt. Energielabelgegevens komen uit de database van de Rijksdienst voor Ondernemend Nederland (RVO).
