
Het adres Strandweg 2 bevindt zich in de plaats Kropswolde, in de gemeente Kropswolde en de provincie Groningen. De oppervlakte van het adres is 137 m². Dat is vergelijkbaar met het gemiddelde Nederlandse oppervlakte van 119 m². De oppervlakte van het perceel waarin het adres ligt is 22,3 ha. Het adres is klein vergeleken met andere objecten in de straat. Het grootste object in de straat heeft een oppervlakte van 614 m², het kleinste is 8 m² groot. De meeste Nederlandse gebouwen zijn gebouwd in de periode 1965-1984. Zo ook het pand waarin Strandweg 2 ligt, dat gebouwd is in 1974. Het nieuwste gebouw in de straat komt uit 2024 en het oudste uit 1939. Dit object is relatief oud. De volgende gebruiksdoelen zijn geregistreerd voor dit adres: 'woonfunctie', 'logiesfunctie' en 'winkelfunctie'.
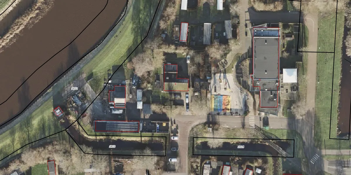
Het adres ligt op het perceel HGZ00-G-1611, dat zich in de kadastrale gemeente Hoogezand bevindt. De oppervlakte van het perceel is 22,3 ha. Dat is groter dan gemiddeld in Hoogezand, waar de gemiddelde perceeloppervlakte op 4406,69 m² ligt. De grootste perceeloppervlakte in de kadastrale gemeente is 1,68 km². De kleinste oppervlakte bedraagt 0 m². Op het perceel liggen in totaal 13 adressen. In de Basisregistratie Kadaster (BRK) werden de grenzen van het perceel geregistreerd op 19-11-2012.
Het adres ligt in een gebouw van het type 'vrijstaande woning'. Bij de laatste meting is voor het adres het energielabel C geregistreerd. Het hoogste energielabel in de straat is A; het laagste is G. Het gemiddelde energielabel is er C. Het adres Strandweg 2 heeft als status: 'verblijfsobject in gebruik'. Het pand waarin dit adres ligt heeft als status: 'pand in gebruik'.
Strandweg 2 is een adres gelegen in de gemeente Midden-Groningen, provincie Groningen. Dit adres is geregistreerd in de Basisregistratie Adressen en Gebouwen (BAG) met als unieke identificatie 0018010000011955.
Het pand op Strandweg 2 is gebouwd in 1974, wat betekent dat het 52 jaar oud is. Dit is een ouder pand. Het pand heeft mogelijk aanzienlijke renovaties nodig om aan de huidige standaarden te voldoen.
De woning op Strandweg 2 heeft een gebruiksoppervlakte van 137 m². Dit is gemiddeld vergeleken met de gemiddelde Nederlandse woning, die een oppervlakte heeft van ongeveer 119 m². De gebruiksoppervlakte is de maat die wordt gebruikt in de BAG-registratie, de landelijke registratie van de Nederlandse overheid.
Strandweg 2 heeft als functie: wonen, logies/verblijf en winkel/handel. Deze gebruiksfunctie(s) zijn vastgelegd in de BAG-registratie en geven aan waarvoor het adres officieel mag worden gebruikt.
Strandweg 2 is gelegen op kadastraal perceel HGZ00G1611. Deze kadastrale aanduiding is uniek en wordt gebruikt door het Kadaster om eigendomsrechten en andere zakelijke rechten vast te leggen. Het perceel maakt onderdeel uit van de kadastrale gemeente Hoogezand.
Het perceel waarop Strandweg 2 staat heeft een oppervlakte van 22,3 ha. Dit is een zeer groot perceel. De perceeloppervlakte wordt geregistreerd door het Kadaster. Gedetailleerde informatie over de maten van dit perceel kunt u vinden in het rapport Kadastrale kaart met maatvoering van Strandweg 2.
De eigenaar van Strandweg 2 is op te vragen op deze pagina.
De informatie over dit adres is afkomstig uit officiële overheidsregistraties, voornamelijk de Basisregistratie Adressen en Gebouwen (BAG) en de Basisregistratie Kadaster (BRK). Deze gegevens worden beheerd door respectievelijk gemeenten en het Kadaster, en worden regelmatig bijgewerkt. Energielabelgegevens komen uit de database van de Rijksdienst voor Ondernemend Nederland (RVO).
