
Het adres Woldweg 208 bevindt zich in de plaats Kropswolde, in de gemeente Kropswolde en de provincie Groningen. De oppervlakte bedraagt 341 m², waarmee het adres groter dan gemiddeld is. De grootte van het perceel waarop het adres ligt is 1260 m². De oppervlakte van dit adres is groot vergeleken met de oppervlaktes van andere adressen in de straat. De kleinste oppervlakte bedraagt er 4 m², de grootste 1546 m². Woldweg 208 bevindt zich in een pand uit het jaar 1919. Daarmee behoort het tot de groep relatief oude panden in Nederland die gebouwd zijn vóór 1965. In de straat komt het nieuwste gebouw uit het jaar 2026 en het oudste uit 1773. Het bouwjaar van dit object is relatief oud. De volgende gebruiksdoelen zijn geregistreerd voor dit adres: 'woonfunctie'.
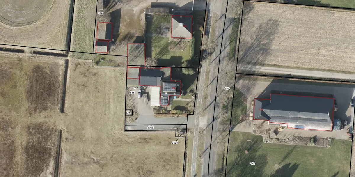
Het adres ligt op het perceel HGZ00-R-588, dat zich in de kadastrale gemeente Hoogezand bevindt. Het perceel is 1260 m² groot. Dat is kleiner dan de gemiddelde perceeloppervlakte in Hoogezand, dat op 4406,69 m² ligt. Het grootste perceel in de kadastrale gemeente is 1,68 km². Het kleinste perceel heeft een oppervlakte van 0 m². Er zijn geen andere adressen aanwezig op het perceel. In de Basisregistratie Kadaster (BRK) werden de grenzen van het perceel geregistreerd op 10-12-2012.
Er is geen energielabel geregistreerd voor het adres. Het hoogste energielabel in de straat is A; het laagste is G. Het gemiddelde energielabel is er D. Het adres Woldweg 208 heeft als status: 'verblijfsobject in gebruik'. Het pand waarin dit adres ligt heeft als status: 'pand in gebruik'.
Woldweg 208 is een adres gelegen in de gemeente Midden-Groningen, provincie Groningen. Dit adres is geregistreerd in de Basisregistratie Adressen en Gebouwen (BAG) met als unieke identificatie 0018010000014786.
Het pand op Woldweg 208 is gebouwd in 1919, wat betekent dat het 107 jaar oud is. Dit is een ouder pand. Het pand heeft mogelijk aanzienlijke renovaties nodig om aan de huidige standaarden te voldoen.
De woning op Woldweg 208 heeft een gebruiksoppervlakte van 341 m². Dit is ruim vergeleken met de gemiddelde Nederlandse woning, die een oppervlakte heeft van ongeveer 119 m². De gebruiksoppervlakte is de maat die wordt gebruikt in de BAG-registratie, de landelijke registratie van de Nederlandse overheid.
Woldweg 208 heeft als functie: wonen. Deze gebruiksfunctie(s) zijn vastgelegd in de BAG-registratie en geven aan waarvoor het adres officieel mag worden gebruikt.
Woldweg 208 is gelegen op kadastraal perceel HGZ00R588. Deze kadastrale aanduiding is uniek en wordt gebruikt door het Kadaster om eigendomsrechten en andere zakelijke rechten vast te leggen. Het perceel maakt onderdeel uit van de kadastrale gemeente Hoogezand.
Het perceel waarop Woldweg 208 staat heeft een oppervlakte van 1260 m². Dit is een zeer groot perceel. De perceeloppervlakte wordt geregistreerd door het Kadaster. Gedetailleerde informatie over de maten van dit perceel kunt u vinden in het rapport Kadastrale kaart met maatvoering van Woldweg 208.
De eigenaar van Woldweg 208 is op te vragen op deze pagina.
De informatie over dit adres is afkomstig uit officiële overheidsregistraties, voornamelijk de Basisregistratie Adressen en Gebouwen (BAG) en de Basisregistratie Kadaster (BRK). Deze gegevens worden beheerd door respectievelijk gemeenten en het Kadaster, en worden regelmatig bijgewerkt. Energielabelgegevens komen uit de database van de Rijksdienst voor Ondernemend Nederland (RVO).
