
Roosendaalseweg 2 is gelegen in de plaats Kruisland, de gemeente Steenbergen en de provincie Noord-Brabant. Het object heeft een oppervlakte van 242 m², wat relatief groot is. Het perceel waarop het adres ligt is 5420 m² groot. De oppervlakte van dit adres is groot vergeleken met de oppervlaktes van andere adressen in de straat. De kleinste oppervlakte bedraagt er 25 m², de grootste 724 m². De gemiddelde bouwperiode van gebouwen in Nederland ligt tussen de jaren 1965-1984. Dat geldt ook voor het bouwjaar van Roosendaalseweg 2: het is gebouwd in het jaar 1982. Vergeleken met de andere panden in de straat is dit gebouw nieuw. Het vroegste bouwjaar is er 1880 en het laatste is 2020. Het verblijfsobject heeft de volgende gebruiksdoelen: 'woonfunctie'.
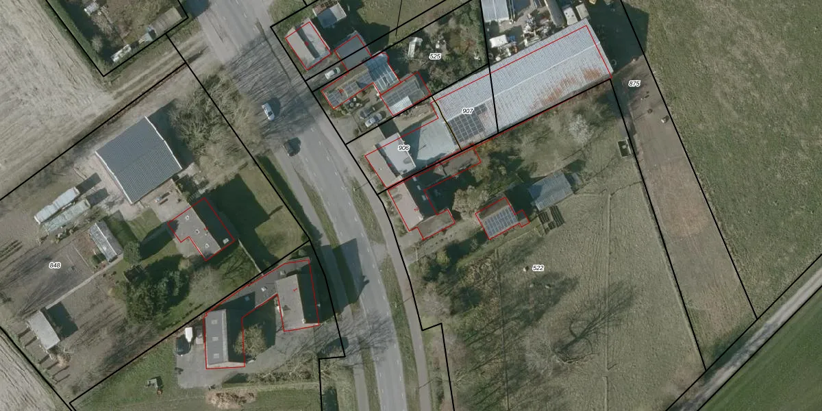
Het adres ligt op het perceel SBG02-AC-522, dat zich in de kadastrale gemeente Steenbergen bevindt. Het perceel is kleiner dan gemiddeld in Steenbergen. Het perceel is 5420 m² groot, terwijl het gemiddelde ligt op 7130,47 m². Het kleinste perceel in de kadastrale gemeente is 0 m² groot. De grootste perceeloppervlakte is 54,8 ha. Dit is het enige adres dat aanwezig is op het perceel. De laatste wijziging in het de Basisregistratie Kadaster (BRK) was op 03-11-2025.
Er is geen energielabel geregistreerd voor het adres. Het hoogste energielabel in de straat is A+; het laagste is G. Het gemiddelde energielabel is er D. Het adres Roosendaalseweg 2 heeft als status: 'verblijfsobject in gebruik'. Het pand waarin dit adres ligt heeft als status: 'pand in gebruik'.
Roosendaalseweg 2 is een adres gelegen in de gemeente Steenbergen, provincie Noord-Brabant. Dit adres is geregistreerd in de Basisregistratie Adressen en Gebouwen (BAG) met als unieke identificatie 0851010000007998.
Het pand op Roosendaalseweg 2 is gebouwd in 1982, wat betekent dat het 44 jaar oud is. Dit is een pand van middelbare leeftijd. Het pand is van gemiddelde leeftijd en zal waarschijnlijk verouderde elementen bevatten.
De woning op Roosendaalseweg 2 heeft een gebruiksoppervlakte van 242 m². Dit is ruim vergeleken met de gemiddelde Nederlandse woning, die een oppervlakte heeft van ongeveer 119 m². De gebruiksoppervlakte is de maat die wordt gebruikt in de BAG-registratie, de landelijke registratie van de Nederlandse overheid.
Roosendaalseweg 2 heeft als functie: wonen. Deze gebruiksfunctie(s) zijn vastgelegd in de BAG-registratie en geven aan waarvoor het adres officieel mag worden gebruikt.
Roosendaalseweg 2 is gelegen op kadastraal perceel SBG02AC522. Deze kadastrale aanduiding is uniek en wordt gebruikt door het Kadaster om eigendomsrechten en andere zakelijke rechten vast te leggen. Het perceel maakt onderdeel uit van de kadastrale gemeente Steenbergen.
Het perceel waarop Roosendaalseweg 2 staat heeft een oppervlakte van 5420 m². Dit is een zeer groot perceel. De perceeloppervlakte wordt geregistreerd door het Kadaster. Gedetailleerde informatie over de maten van dit perceel kunt u vinden in het rapport Kadastrale kaart met maatvoering van Roosendaalseweg 2.
De eigenaar van Roosendaalseweg 2 is op te vragen op deze pagina.
De informatie over dit adres is afkomstig uit officiële overheidsregistraties, voornamelijk de Basisregistratie Adressen en Gebouwen (BAG) en de Basisregistratie Kadaster (BRK). Deze gegevens worden beheerd door respectievelijk gemeenten en het Kadaster, en worden regelmatig bijgewerkt. Energielabelgegevens komen uit de database van de Rijksdienst voor Ondernemend Nederland (RVO).
