
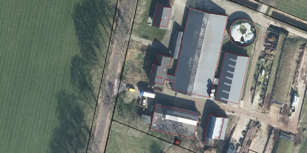
Holterweg 74-a is een adres in Laren, dat zich bevindt binnen de gemeentegrenzen van Laren en de grenzen van de provincie Gelderland. De oppervlakte van het verblijfsobject is met 926 m² aan de grote kant. Het perceel heeft een oppervlakte van 2,7 ha. De oppervlakte van dit adres is groot vergeleken met de oppervlaktes van andere adressen in de straat. De kleinste oppervlakte bedraagt er 3 m², de grootste 1925 m². In Nederland komt het grootste deel van de gebouwen uit de periode 1965-1984. Ook het bouwjaar van Holterweg 74-a is afkomstig uit die periode: het betreft namelijk een pand uit 1973. Dit object is relatief nieuw in de straat. Het nieuwste gebouw komt er uit het jaar 2025 en het oudste uit het jaar 1840. Voor het verblijfsobject gelden deze gebruiksdoelen: 'woonfunctie' en 'industriefunctie'.
Het adres ligt op het perceel LCM00-V-167, dat zich in de kadastrale gemeente Lochem bevindt. Het perceel is met 2,7 ha relatief groot. Het gemiddelde ligt in de kadastrale gemeente Lochem op 6721,98 m². Het grootste perceel in de kadastrale gemeente is 30,4 ha. Het kleinste perceel heeft een oppervlakte van 0 m². Op het perceel liggen in totaal 3 adressen. De huidige grenzen van het perceel zijn digitaal in de Basisregistratie Kadaster (BRK) geregistreerd op 10-08-2000.
Het adres ligt in een gebouw van het type 'vrijstaande woning'. Bij de laatste meting is voor het adres het energielabel C geregistreerd. Het hoogste energielabel in de straat is A+; het laagste is G. Het gemiddelde energielabel is er C. Het adres Holterweg 74-a heeft als status: 'verblijfsobject in gebruik'. Het pand waarin dit adres ligt heeft als status: 'pand in gebruik'.
Holterweg 74-a is een adres gelegen in de gemeente Lochem, provincie Gelderland. Dit adres is geregistreerd in de Basisregistratie Adressen en Gebouwen (BAG) met als unieke identificatie 0262010000008120.
Het pand op Holterweg 74-a is gebouwd in 1973, wat betekent dat het 53 jaar oud is. Dit is een ouder pand. Het pand heeft mogelijk aanzienlijke renovaties nodig om aan de huidige standaarden te voldoen.
De woning op Holterweg 74-a heeft een gebruiksoppervlakte van 926 m². Dit is ruim vergeleken met de gemiddelde Nederlandse woning, die een oppervlakte heeft van ongeveer 119 m². De gebruiksoppervlakte is de maat die wordt gebruikt in de BAG-registratie, de landelijke registratie van de Nederlandse overheid.
Holterweg 74-a heeft als functie: wonen en industrie. Deze gebruiksfunctie(s) zijn vastgelegd in de BAG-registratie en geven aan waarvoor het adres officieel mag worden gebruikt.
Holterweg 74-a is gelegen op kadastraal perceel LCM00V167. Deze kadastrale aanduiding is uniek en wordt gebruikt door het Kadaster om eigendomsrechten en andere zakelijke rechten vast te leggen. Het perceel maakt onderdeel uit van de kadastrale gemeente Lochem.
Het perceel waarop Holterweg 74-a staat heeft een oppervlakte van 2,7 ha. Dit is een zeer groot perceel. De perceeloppervlakte wordt geregistreerd door het Kadaster. Gedetailleerde informatie over de maten van dit perceel kunt u vinden in het rapport Kadastrale kaart met maatvoering van Holterweg 74-a.
De eigenaar van Holterweg 74-a is op te vragen op deze pagina.
De informatie over dit adres is afkomstig uit officiële overheidsregistraties, voornamelijk de Basisregistratie Adressen en Gebouwen (BAG) en de Basisregistratie Kadaster (BRK). Deze gegevens worden beheerd door respectievelijk gemeenten en het Kadaster, en worden regelmatig bijgewerkt. Energielabelgegevens komen uit de database van de Rijksdienst voor Ondernemend Nederland (RVO).
