
Hoog Hoefloo 46 is gelegen in de plaats Laren, de gemeente Laren en de provincie Noord-Holland. De oppervlakte van het verblijfsobject is met 601 m² aan de grote kant. Het perceel heeft een oppervlakte van 4432 m². De oppervlakte van dit adres is groot vergeleken met de oppervlaktes van andere adressen in de straat. De kleinste oppervlakte bedraagt er 223 m², de grootste 831 m². Het gebouw waarin Hoog Hoefloo 46 ligt komt uit het jaar 1950. Objecten die gebouwd zijn vóór 1965 classificeren we hier als oud. Het nieuwste gebouw in de straat komt uit 2025 en het oudste uit 1934. Dit object is relatief oud. Het verblijfsobject heeft de volgende gebruiksdoelen: 'woonfunctie'.
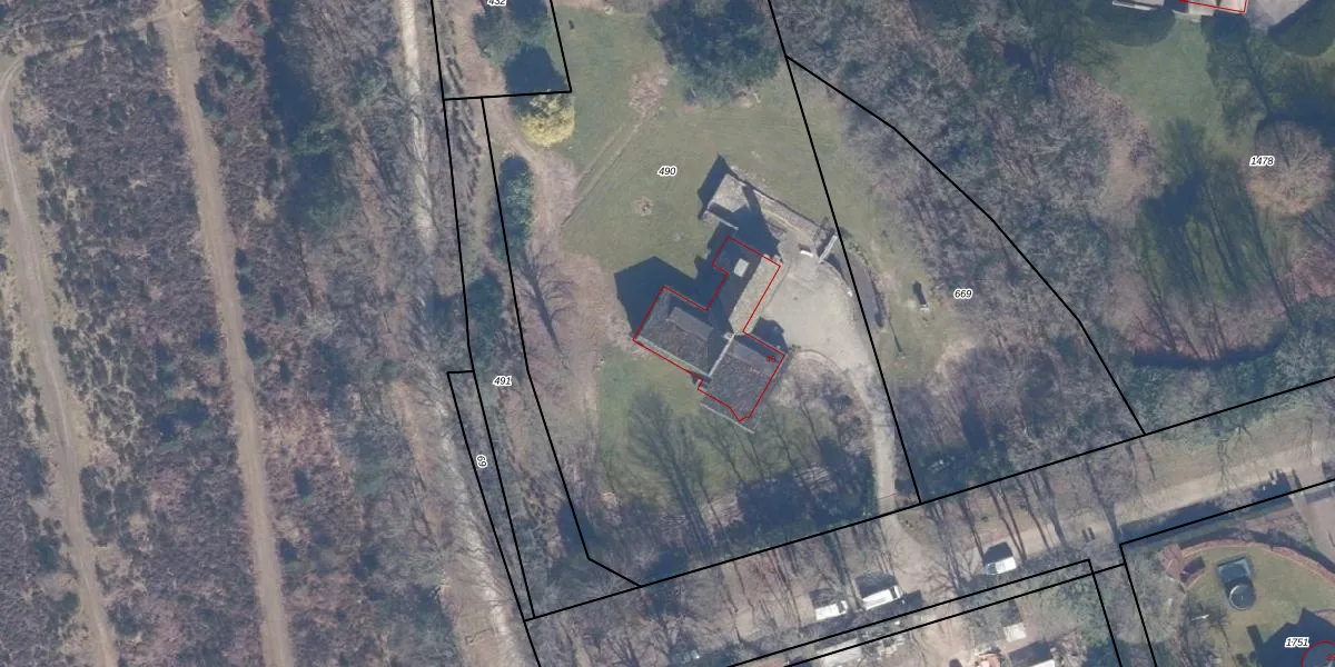
Het adres ligt op het perceel LRN01-C-490, dat zich in de kadastrale gemeente Laren Noord-Holland bevindt. De gemiddelde perceeloppervlakte in de kadastrale gemeente Laren Noord-Holland is 1838,72 m². Dit perceel is met zijn 4432 m² dus groter dan gemiddeld. Het kleinste perceel in de kadastrale gemeente is 0 m² groot. De grootste perceeloppervlakte is 1,24 km². Op het perceel bevinden zich geen andere adressen. De laatste wijziging in het de Basisregistratie Kadaster (BRK) was op 29-10-1999.
Er is geen energielabel geregistreerd voor het adres. Het hoogste energielabel in de straat is A+++; het laagste is G. Het gemiddelde energielabel is er D. Het adres Hoog Hoefloo 46 heeft als status: 'verblijfsobject in gebruik'. Het pand waarin dit adres ligt heeft als status: 'pand in gebruik'.
Hoog Hoefloo 46 is een adres gelegen in de gemeente Laren, provincie Noord-Holland. Dit adres is geregistreerd in de Basisregistratie Adressen en Gebouwen (BAG) met als unieke identificatie 0417010001001906.
Het pand op Hoog Hoefloo 46 is gebouwd in 1950, wat betekent dat het 76 jaar oud is. Dit is een ouder pand. Het pand heeft mogelijk aanzienlijke renovaties nodig om aan de huidige standaarden te voldoen.
De woning op Hoog Hoefloo 46 heeft een gebruiksoppervlakte van 601 m². Dit is ruim vergeleken met de gemiddelde Nederlandse woning, die een oppervlakte heeft van ongeveer 119 m². De gebruiksoppervlakte is de maat die wordt gebruikt in de BAG-registratie, de landelijke registratie van de Nederlandse overheid.
Hoog Hoefloo 46 heeft als functie: wonen. Deze gebruiksfunctie(s) zijn vastgelegd in de BAG-registratie en geven aan waarvoor het adres officieel mag worden gebruikt.
Hoog Hoefloo 46 is gelegen op kadastraal perceel LRN01C490. Deze kadastrale aanduiding is uniek en wordt gebruikt door het Kadaster om eigendomsrechten en andere zakelijke rechten vast te leggen. Het perceel maakt onderdeel uit van de kadastrale gemeente Laren Noord-Holland.
Het perceel waarop Hoog Hoefloo 46 staat heeft een oppervlakte van 4432 m². Dit is een zeer groot perceel. De perceeloppervlakte wordt geregistreerd door het Kadaster. Gedetailleerde informatie over de maten van dit perceel kunt u vinden in het rapport Kadastrale kaart met maatvoering van Hoog Hoefloo 46.
De eigenaar van Hoog Hoefloo 46 is op te vragen op deze pagina.
De informatie over dit adres is afkomstig uit officiële overheidsregistraties, voornamelijk de Basisregistratie Adressen en Gebouwen (BAG) en de Basisregistratie Kadaster (BRK). Deze gegevens worden beheerd door respectievelijk gemeenten en het Kadaster, en worden regelmatig bijgewerkt. Energielabelgegevens komen uit de database van de Rijksdienst voor Ondernemend Nederland (RVO).
