
Maerlant 168 is gelegen in de plaats Lelystad, de gemeente Lelystad en de provincie Flevoland. Het perceel waarop het adres gelegen is heeft een oppervlakte van 4,1 ha. Het verblijfsobject is met 62 m² relatief klein. Het adres is klein vergeleken met andere objecten in de straat. Het grootste object in de straat heeft een oppervlakte van 3216 m², het kleinste is 30 m² groot. Het pand waarin Maerlant 168 ligt is gebouwd in het jaar 2024. Panden die gebouwd zijn na het jaar 1984 noemen we hier relatief nieuw. Het gemiddelde bouwjaar in de straat is 2023 en dat van het oudste pand is 1976. Dit is het nieuwste object in de straat. Voor het verblijfsobject gelden deze gebruiksdoelen: 'woonfunctie'.
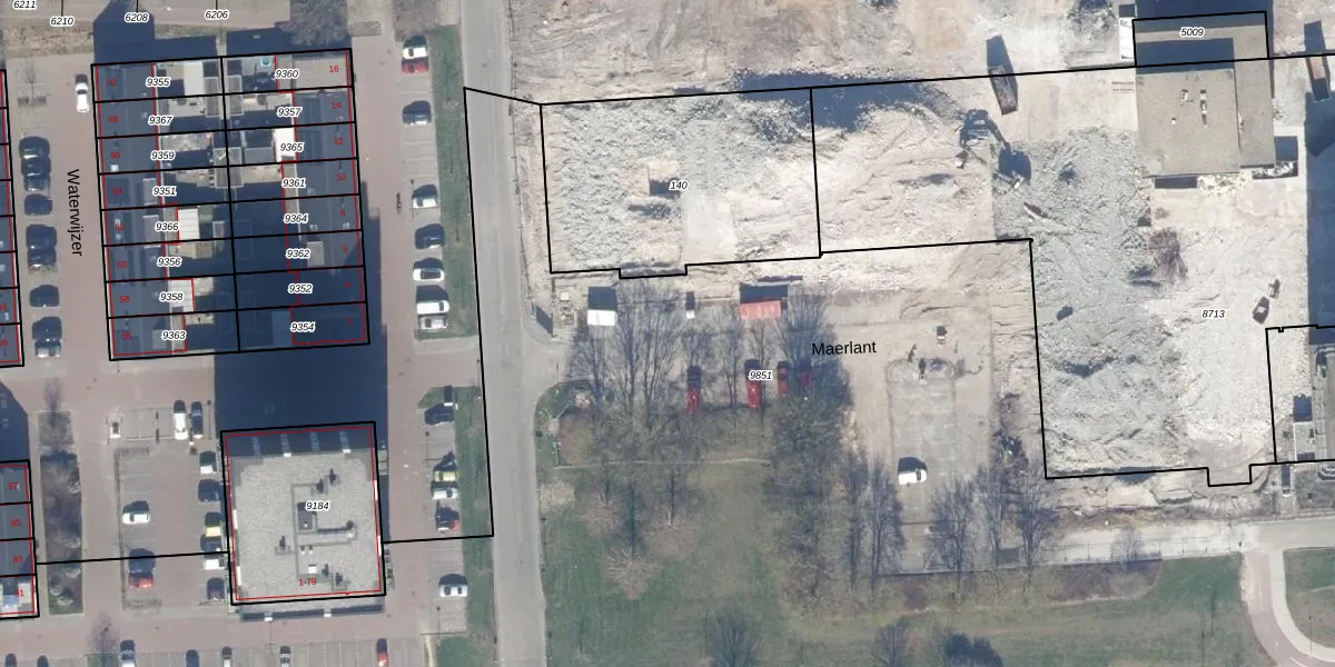
Het adres ligt op het perceel LLS00-K-9851, dat zich in de kadastrale gemeente Lelystad bevindt. Het perceel is met 4,1 ha relatief groot. Het gemiddelde ligt in de kadastrale gemeente Lelystad op 2,1 ha. Het kleinste perceel in de kadastrale gemeente is 0 m² groot. De grootste perceeloppervlakte is 78,50 km². Er zijn 80 adressen aanwezig op het perceel. De laatste wijziging in het de Basisregistratie Kadaster (BRK) was op 24-10-2025.
Er is geen energielabel geregistreerd voor het adres. Het hoogste energielabel in de straat is D; het laagste is G. Het gemiddelde energielabel is er D. Het adres Maerlant 168 heeft als status: 'verblijfsobject gevormd'. Het pand waarin dit adres ligt heeft als status: 'bouwvergunning verleend'.
Maerlant 168 is een adres gelegen in de gemeente Lelystad, provincie Flevoland. Dit adres is geregistreerd in de Basisregistratie Adressen en Gebouwen (BAG) met als unieke identificatie 0995010000844079.
Het pand op Maerlant 168 is gebouwd in 2024, wat betekent dat het 2 jaar oud is. Dit is een vrij nieuw pand. Het pand is dus waarschijnlijk goed geïsoleerd, geluidsdicht en voldoet aan de huidige bouwstandaarden. Op korte termijn zijn er waarschijnlijk weinig onderhoudskosten.
De woning op Maerlant 168 heeft een gebruiksoppervlakte van 62 m². Dit is relatief klein vergeleken met de gemiddelde Nederlandse woning, die een oppervlakte heeft van ongeveer 119 m². De gebruiksoppervlakte is de maat die wordt gebruikt in de BAG-registratie, de landelijke registratie van de Nederlandse overheid.
Maerlant 168 heeft als functie: wonen. Deze gebruiksfunctie(s) zijn vastgelegd in de BAG-registratie en geven aan waarvoor het adres officieel mag worden gebruikt.
Maerlant 168 is gelegen op kadastraal perceel LLS00K9851. Deze kadastrale aanduiding is uniek en wordt gebruikt door het Kadaster om eigendomsrechten en andere zakelijke rechten vast te leggen. Het perceel maakt onderdeel uit van de kadastrale gemeente Lelystad.
Het perceel waarop Maerlant 168 staat heeft een oppervlakte van 4,1 ha. Dit is een zeer groot perceel. De perceeloppervlakte wordt geregistreerd door het Kadaster. Gedetailleerde informatie over de maten van dit perceel kunt u vinden in het rapport Kadastrale kaart met maatvoering van Maerlant 168.
De eigenaar van Maerlant 168 is op te vragen op deze pagina.
De informatie over dit adres is afkomstig uit officiële overheidsregistraties, voornamelijk de Basisregistratie Adressen en Gebouwen (BAG) en de Basisregistratie Kadaster (BRK). Deze gegevens worden beheerd door respectievelijk gemeenten en het Kadaster, en worden regelmatig bijgewerkt. Energielabelgegevens komen uit de database van de Rijksdienst voor Ondernemend Nederland (RVO).
