
Het adres Hoenderweg 2 bevindt zich in de plaats Lemelerveld, in de gemeente Lemelerveld en de provincie Overijssel. De oppervlakte van het verblijfsobject is met 192 m² aan de grote kant. Het perceel heeft een oppervlakte van 2500 m². De oppervlakte van dit adres is groot vergeleken met de oppervlaktes van andere adressen in de straat. De kleinste oppervlakte bedraagt er 2 m², de grootste 342 m². Het adres Hoenderweg 2 ligt in een relatief oud pand uit het jaar 1915. Panden van vóór het jaar 1965 hebben we hier geclassificeerd als oud. Het nieuwste gebouw in de straat komt uit 2022 en het oudste uit 1900. Dit object is relatief oud. Voor het verblijfsobject gelden deze gebruiksdoelen: 'woonfunctie'.
Deze woning is voor het laatst verkocht op 1 juni 2007. Meer informatie over deze transactie? Bestel het Woningtransactierapport om de verkoopprijs en andere informatie te zien.
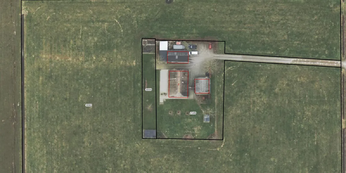
Het adres ligt op het perceel DSN01-M-2189, dat zich in de kadastrale gemeente Dalfsen bevindt. De gemiddelde perceelgrootte in Dalfsen is 8539,67 m². Dit perceel is kleiner: de perceeloppervlakte bedraagt 2500 m². De grootste perceeloppervlakte in de kadastrale gemeente is 83,3 ha. De kleinste oppervlakte bedraagt 0 m². Op het perceel bevinden zich geen andere adressen. In de Basisregistratie Kadaster (BRK) werden de grenzen van het perceel geregistreerd op 26-10-2021.
Er is geen energielabel geregistreerd voor het adres. Het hoogste energielabel in de straat is A; het laagste is G. Het gemiddelde energielabel is er B. Het adres Hoenderweg 2 heeft als status: 'verblijfsobject in gebruik'. Het pand waarin dit adres ligt heeft als status: 'pand in gebruik'.
Hoenderweg 2 is een adres gelegen in de gemeente Dalfsen, provincie Overijssel. Dit adres is geregistreerd in de Basisregistratie Adressen en Gebouwen (BAG) met als unieke identificatie 0148010000002331.
Het pand op Hoenderweg 2 is gebouwd in 1915, wat betekent dat het 111 jaar oud is. Dit is een ouder pand. Het pand heeft mogelijk aanzienlijke renovaties nodig om aan de huidige standaarden te voldoen.
De woning op Hoenderweg 2 heeft een gebruiksoppervlakte van 192 m². Dit is ruim vergeleken met de gemiddelde Nederlandse woning, die een oppervlakte heeft van ongeveer 119 m². De gebruiksoppervlakte is de maat die wordt gebruikt in de BAG-registratie, de landelijke registratie van de Nederlandse overheid.
Hoenderweg 2 heeft als functie: wonen. Deze gebruiksfunctie(s) zijn vastgelegd in de BAG-registratie en geven aan waarvoor het adres officieel mag worden gebruikt.
Hoenderweg 2 is gelegen op kadastraal perceel DSN01M2189. Deze kadastrale aanduiding is uniek en wordt gebruikt door het Kadaster om eigendomsrechten en andere zakelijke rechten vast te leggen. Het perceel maakt onderdeel uit van de kadastrale gemeente Dalfsen.
Het perceel waarop Hoenderweg 2 staat heeft een oppervlakte van 2500 m². Dit is een zeer groot perceel. De perceeloppervlakte wordt geregistreerd door het Kadaster. Gedetailleerde informatie over de maten van dit perceel kunt u vinden in het rapport Kadastrale kaart met maatvoering van Hoenderweg 2.
De eigenaar van Hoenderweg 2 is op te vragen op deze pagina.
De informatie over dit adres is afkomstig uit officiële overheidsregistraties, voornamelijk de Basisregistratie Adressen en Gebouwen (BAG) en de Basisregistratie Kadaster (BRK). Deze gegevens worden beheerd door respectievelijk gemeenten en het Kadaster, en worden regelmatig bijgewerkt. Energielabelgegevens komen uit de database van de Rijksdienst voor Ondernemend Nederland (RVO).
