
Het adres Ooievaarshorsterweg 3 bevindt zich in de plaats Leusden, in de gemeente Leusden en de provincie Utrecht. De oppervlakte van het adres is 149 m². Dat is vergelijkbaar met het gemiddelde Nederlandse oppervlakte van 119 m². De oppervlakte van het perceel waarin het adres ligt is 4850 m². Het adres is klein vergeleken met andere objecten in de straat. Het grootste object in de straat heeft een oppervlakte van 245 m², het kleinste is 71 m² groot. Het adres Ooievaarshorsterweg 3 ligt in een relatief oud pand uit het jaar 1880. Panden van vóór het jaar 1965 hebben we hier geclassificeerd als oud. Het nieuwste gebouw in de straat komt uit 1990 en het oudste uit 1771. Dit object is relatief oud. Het verblijfsobject heeft de volgende gebruiksdoelen: 'woonfunctie'.
Deze woning is voor het laatst verkocht op 1 maart 2011. Meer informatie over deze transactie? Bestel het Woningtransactierapport om de verkoopprijs en andere informatie te zien.
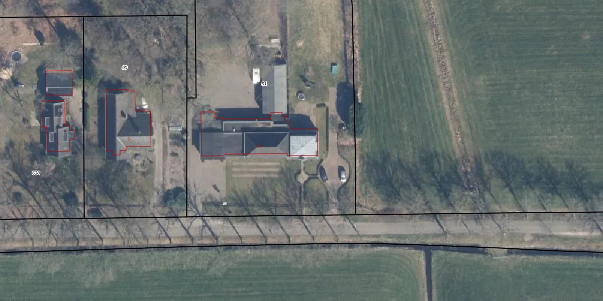
Het adres ligt op het perceel LDN02-K-91, dat zich in de kadastrale gemeente Leusden bevindt. De gemiddelde perceeloppervlakte in de kadastrale gemeente Leusden is 3487,96 m². Dit perceel is met zijn 4850 m² dus groter dan gemiddeld. De grootste perceeloppervlakte in de kadastrale gemeente is 8,56 km². De kleinste oppervlakte bedraagt 0 m². Op het perceel liggen in totaal 2 adressen. In de Basisregistratie Kadaster (BRK) werden de grenzen van het perceel geregistreerd op 19-09-1997.
Er is geen energielabel geregistreerd voor het adres. Het hoogste energielabel in de straat is A+++; het laagste is G. Het gemiddelde energielabel is er A. Het adres Ooievaarshorsterweg 3 heeft als status: 'verblijfsobject in gebruik'. Het pand waarin dit adres ligt heeft als status: 'pand in gebruik'.
Ooievaarshorsterweg 3 is een adres gelegen in de gemeente Leusden, provincie Utrecht. Dit adres is geregistreerd in de Basisregistratie Adressen en Gebouwen (BAG) met als unieke identificatie 0327010000270247.
Het pand op Ooievaarshorsterweg 3 is gebouwd in 1880, wat betekent dat het 146 jaar oud is. Dit is een ouder pand. Het pand heeft mogelijk aanzienlijke renovaties nodig om aan de huidige standaarden te voldoen.
De woning op Ooievaarshorsterweg 3 heeft een gebruiksoppervlakte van 149 m². Dit is gemiddeld vergeleken met de gemiddelde Nederlandse woning, die een oppervlakte heeft van ongeveer 119 m². De gebruiksoppervlakte is de maat die wordt gebruikt in de BAG-registratie, de landelijke registratie van de Nederlandse overheid.
Ooievaarshorsterweg 3 heeft als functie: wonen. Deze gebruiksfunctie(s) zijn vastgelegd in de BAG-registratie en geven aan waarvoor het adres officieel mag worden gebruikt.
Ooievaarshorsterweg 3 is gelegen op kadastraal perceel LDN02K91. Deze kadastrale aanduiding is uniek en wordt gebruikt door het Kadaster om eigendomsrechten en andere zakelijke rechten vast te leggen. Het perceel maakt onderdeel uit van de kadastrale gemeente Leusden.
Het perceel waarop Ooievaarshorsterweg 3 staat heeft een oppervlakte van 4850 m². Dit is een zeer groot perceel. De perceeloppervlakte wordt geregistreerd door het Kadaster. Gedetailleerde informatie over de maten van dit perceel kunt u vinden in het rapport Kadastrale kaart met maatvoering van Ooievaarshorsterweg 3.
De eigenaar van Ooievaarshorsterweg 3 is op te vragen op deze pagina.
De informatie over dit adres is afkomstig uit officiële overheidsregistraties, voornamelijk de Basisregistratie Adressen en Gebouwen (BAG) en de Basisregistratie Kadaster (BRK). Deze gegevens worden beheerd door respectievelijk gemeenten en het Kadaster, en worden regelmatig bijgewerkt. Energielabelgegevens komen uit de database van de Rijksdienst voor Ondernemend Nederland (RVO).
