
Regenweg 5 is gelegen in de plaats Liessel, de gemeente Deurne en de provincie Noord-Brabant. De oppervlakte bedraagt 160 m², waarmee het adres groter dan gemiddeld is. De grootte van het perceel waarop het adres ligt is 44,3 ha. Het adres is klein vergeleken met andere objecten in de straat. Het grootste object in de straat heeft een oppervlakte van 879 m², het kleinste is 126 m² groot. Regenweg 5 bevindt zich in een pand uit het jaar 1925. Daarmee behoort het tot de groep relatief oude panden in Nederland die gebouwd zijn vóór 1965. Dit is het oudste object in de straat. Het nieuwste pand komt uit 2015 en het gemiddelde bouwjaar in de straat is 1964. Voor het verblijfsobject gelden deze gebruiksdoelen: 'woonfunctie'.
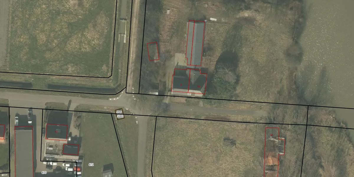
Het adres ligt op het perceel DNE00-S-470, dat zich in de kadastrale gemeente Deurne bevindt. Het perceel is met 44,3 ha relatief groot. Het gemiddelde ligt in de kadastrale gemeente Deurne op 5819,44 m². Het grootste perceel in de kadastrale gemeente is 3,71 km². Het kleinste perceel heeft een oppervlakte van 0 m². Op het perceel zijn 3 adressen aanwezig. De laatste wijziging in het de Basisregistratie Kadaster (BRK) was op 15-07-2022.
Er is geen energielabel geregistreerd voor het adres. Het hoogste energielabel in de straat is D; het laagste is G. Het gemiddelde energielabel is er D. Het adres Regenweg 5 heeft als status: 'verblijfsobject in gebruik'. Het pand waarin dit adres ligt heeft als status: 'sloopvergunning verleend'.
Regenweg 5 is een adres gelegen in de gemeente Deurne, provincie Noord-Brabant. Dit adres is geregistreerd in de Basisregistratie Adressen en Gebouwen (BAG) met als unieke identificatie 0762010000007659.
Het pand op Regenweg 5 is gebouwd in 1925, wat betekent dat het 101 jaar oud is. Dit is een ouder pand. Het pand heeft mogelijk aanzienlijke renovaties nodig om aan de huidige standaarden te voldoen.
De woning op Regenweg 5 heeft een gebruiksoppervlakte van 160 m². Dit is ruim vergeleken met de gemiddelde Nederlandse woning, die een oppervlakte heeft van ongeveer 119 m². De gebruiksoppervlakte is de maat die wordt gebruikt in de BAG-registratie, de landelijke registratie van de Nederlandse overheid.
Regenweg 5 heeft als functie: wonen. Deze gebruiksfunctie(s) zijn vastgelegd in de BAG-registratie en geven aan waarvoor het adres officieel mag worden gebruikt.
Regenweg 5 is gelegen op kadastraal perceel DNE00S470. Deze kadastrale aanduiding is uniek en wordt gebruikt door het Kadaster om eigendomsrechten en andere zakelijke rechten vast te leggen. Het perceel maakt onderdeel uit van de kadastrale gemeente Deurne.
Het perceel waarop Regenweg 5 staat heeft een oppervlakte van 44,3 ha. Dit is een zeer groot perceel. De perceeloppervlakte wordt geregistreerd door het Kadaster. Gedetailleerde informatie over de maten van dit perceel kunt u vinden in het rapport Kadastrale kaart met maatvoering van Regenweg 5.
De eigenaar van Regenweg 5 is op te vragen op deze pagina.
De informatie over dit adres is afkomstig uit officiële overheidsregistraties, voornamelijk de Basisregistratie Adressen en Gebouwen (BAG) en de Basisregistratie Kadaster (BRK). Deze gegevens worden beheerd door respectievelijk gemeenten en het Kadaster, en worden regelmatig bijgewerkt. Energielabelgegevens komen uit de database van de Rijksdienst voor Ondernemend Nederland (RVO).
