
Hoge Enk 3 is een adres in Lochem, dat zich bevindt binnen de gemeentegrenzen van Lochem en de grenzen van de provincie Gelderland. De oppervlakte bedraagt 310 m², waarmee het adres groter dan gemiddeld is. De grootte van het perceel waarop het adres ligt is 2650 m². In de straat is dit het adres met de grootste oppervlakte. De objecten in de straat zijn gemiddeld 239 m² groot. Het kleinste verblijfsobject heeft een oppervlakte van 189 m². Het pand waarin Hoge Enk 3 ligt is gebouwd in het jaar 2005. Panden die gebouwd zijn na het jaar 1984 noemen we hier relatief nieuw. In de straat is dit het nieuwste pand en stamt het oudste object uit het jaar 1925. Het gemiddelde bouwjaar in de straat is 1973. De volgende gebruiksdoelen zijn geregistreerd voor dit adres: 'woonfunctie'.
Deze woning is voor het laatst verkocht op 1 april 2025. Meer informatie over deze transactie? Bestel het Woningtransactierapport om de verkoopprijs en andere informatie te zien.
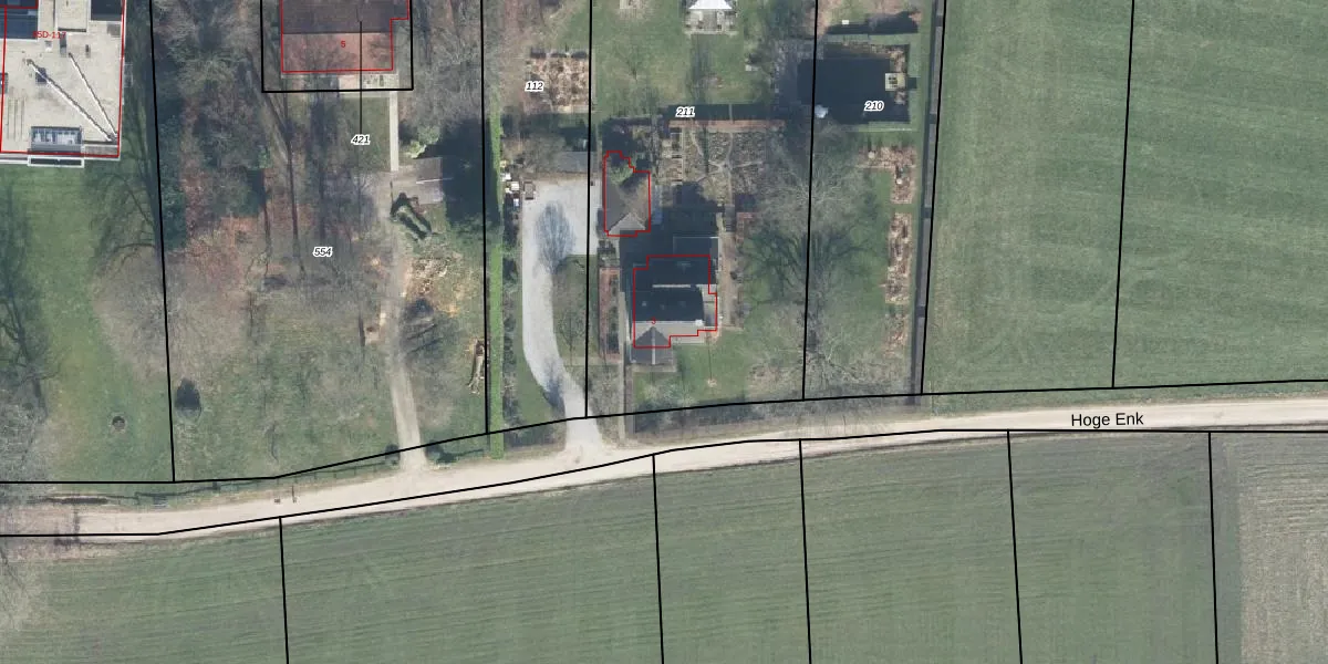
Het perceel waarop het adres ligt is LCM00-G-211. De afkorting 'LCM00' staat voor kadastrale gemeente Lochem. Het perceel is 2650 m² groot. Dat is kleiner dan de gemiddelde perceeloppervlakte in Lochem, dat op 6725,45 m² ligt. Het kleinste perceel in de kadastrale gemeente is 0 m² groot. De grootste perceeloppervlakte is 30,4 ha. Er zijn geen andere adressen aanwezig op het perceel. De huidige grenzen van het perceel zijn digitaal in de Basisregistratie Kadaster (BRK) geregistreerd op 05-11-2010.
Het adres ligt in een gebouw van het type 'vrijstaande woning'. Bij de laatste meting is voor het adres het energielabel A geregistreerd. Het hoogste energielabel in de straat is A; het laagste is G. Het gemiddelde energielabel is er A. Het adres Hoge Enk 3 heeft als status: 'verblijfsobject in gebruik'. Het pand waarin dit adres ligt heeft als status: 'pand in gebruik'.
Hoge Enk 3 is een adres gelegen in de gemeente Lochem, provincie Gelderland. Dit adres is geregistreerd in de Basisregistratie Adressen en Gebouwen (BAG) met als unieke identificatie 0262010000012238.
Het pand op Hoge Enk 3 is gebouwd in 2005, wat betekent dat het 21 jaar oud is. Dit is een relatief modern pand. Ten opzichte van de nationale woningvoorraad is het pand relatief modern, maar er kunnen enkele verouderde elementen zijn die aandacht nodig hebben.
De woning op Hoge Enk 3 heeft een gebruiksoppervlakte van 310 m². Dit is ruim vergeleken met de gemiddelde Nederlandse woning, die een oppervlakte heeft van ongeveer 119 m². De gebruiksoppervlakte is de maat die wordt gebruikt in de BAG-registratie, de landelijke registratie van de Nederlandse overheid.
Hoge Enk 3 heeft als functie: wonen. Deze gebruiksfunctie(s) zijn vastgelegd in de BAG-registratie en geven aan waarvoor het adres officieel mag worden gebruikt.
Hoge Enk 3 is gelegen op kadastraal perceel LCM00G211. Deze kadastrale aanduiding is uniek en wordt gebruikt door het Kadaster om eigendomsrechten en andere zakelijke rechten vast te leggen. Het perceel maakt onderdeel uit van de kadastrale gemeente Lochem.
Het perceel waarop Hoge Enk 3 staat heeft een oppervlakte van 2650 m². Dit is een zeer groot perceel. De perceeloppervlakte wordt geregistreerd door het Kadaster. Gedetailleerde informatie over de maten van dit perceel kunt u vinden in het rapport Kadastrale kaart met maatvoering van Hoge Enk 3.
De eigenaar van Hoge Enk 3 is op te vragen op deze pagina.
De informatie over dit adres is afkomstig uit officiële overheidsregistraties, voornamelijk de Basisregistratie Adressen en Gebouwen (BAG) en de Basisregistratie Kadaster (BRK). Deze gegevens worden beheerd door respectievelijk gemeenten en het Kadaster, en worden regelmatig bijgewerkt. Energielabelgegevens komen uit de database van de Rijksdienst voor Ondernemend Nederland (RVO).
