
Laan Ampsen 9 is gelegen in de plaats Lochem, de gemeente Lochem en de provincie Gelderland. De oppervlakte van het adres is 139 m². Dat is vergelijkbaar met het gemiddelde Nederlandse oppervlakte van 119 m². De oppervlakte van het perceel waarin het adres ligt is 143 m². Het object is klein ten opzichte van de andere adressen in de straat. Het grootste verblijfsobject is 793 m² groot en het kleinste is 3 m². Het gebouw waarin Laan Ampsen 9 ligt komt uit het jaar 1900. Objecten die gebouwd zijn vóór 1965 classificeren we hier als oud. Dit object is relatief nieuw in de straat. Het nieuwste gebouw komt er uit het jaar 1967 en het oudste uit het jaar 1650. Het verblijfsobject heeft de volgende gebruiksdoelen: 'industriefunctie' en 'winkelfunctie'.
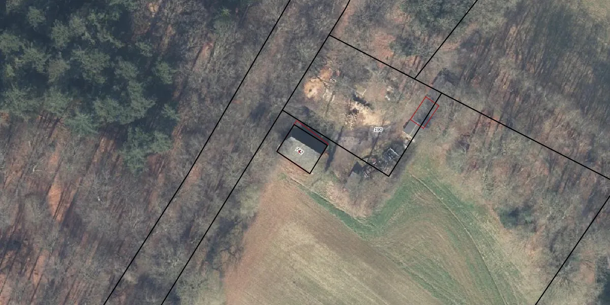
Het perceel waarop het adres ligt is LRN02-A-742. De afkorting 'LRN02' staat voor kadastrale gemeente Laren Gelderland. Het perceel is kleiner dan gemiddeld in Laren Gelderland. Het perceel is 143 m² groot, terwijl het gemiddelde ligt op 8394,91 m². Het kleinste perceel in de kadastrale gemeente is 0 m² groot. De grootste perceeloppervlakte is 36,7 ha. Op het perceel bevinden zich geen andere adressen. De laatste wijziging in het de Basisregistratie Kadaster (BRK) was op 11-09-2000.
Er is geen energielabel geregistreerd voor het adres. Het hoogste energielabel in de straat is G; het laagste is G. Het gemiddelde energielabel is er G. Het adres Laan Ampsen 9 heeft als status: 'verblijfsobject in gebruik'. Het pand waarin dit adres ligt heeft als status: 'pand in gebruik'.
Laan Ampsen 9 is een adres gelegen in de gemeente Lochem, provincie Gelderland. Dit adres is geregistreerd in de Basisregistratie Adressen en Gebouwen (BAG) met als unieke identificatie 0262010000010727.
Het pand op Laan Ampsen 9 is gebouwd in 1900, wat betekent dat het 126 jaar oud is. Dit is een ouder pand. Het pand heeft mogelijk aanzienlijke renovaties nodig om aan de huidige standaarden te voldoen.
De woning op Laan Ampsen 9 heeft een gebruiksoppervlakte van 139 m². Dit is gemiddeld vergeleken met de gemiddelde Nederlandse woning, die een oppervlakte heeft van ongeveer 119 m². De gebruiksoppervlakte is de maat die wordt gebruikt in de BAG-registratie, de landelijke registratie van de Nederlandse overheid.
Laan Ampsen 9 heeft als functie: industrie en winkel/handel. Deze gebruiksfunctie(s) zijn vastgelegd in de BAG-registratie en geven aan waarvoor het adres officieel mag worden gebruikt.
Laan Ampsen 9 is gelegen op kadastraal perceel LRN02A742. Deze kadastrale aanduiding is uniek en wordt gebruikt door het Kadaster om eigendomsrechten en andere zakelijke rechten vast te leggen. Het perceel maakt onderdeel uit van de kadastrale gemeente Laren Gelderland.
Het perceel waarop Laan Ampsen 9 staat heeft een oppervlakte van 143 m². Dit is een middelgroot perceel. De perceeloppervlakte wordt geregistreerd door het Kadaster. Gedetailleerde informatie over de maten van dit perceel kunt u vinden in het rapport Kadastrale kaart met maatvoering van Laan Ampsen 9.
De eigenaar van Laan Ampsen 9 is op te vragen op deze pagina.
De informatie over dit adres is afkomstig uit officiële overheidsregistraties, voornamelijk de Basisregistratie Adressen en Gebouwen (BAG) en de Basisregistratie Kadaster (BRK). Deze gegevens worden beheerd door respectievelijk gemeenten en het Kadaster, en worden regelmatig bijgewerkt. Energielabelgegevens komen uit de database van de Rijksdienst voor Ondernemend Nederland (RVO).
