
Bijweg 4 is een adres in Lunteren, dat zich bevindt binnen de gemeentegrenzen van Lunteren en de grenzen van de provincie Gelderland. Het verblijfsobject is 143 m² groot en bevindt zich op een perceel met een oppervlakte van 1,1 ha. Gemiddeld hebben adressen in Nederland een oppervlakte van 119 m². In de straat is dit het kleinste object. Het grootste verblijfsobject heeft een oppervlakte van 447 m². De gemiddelde grootte is er 279 m². In Nederland komt het grootste deel van de gebouwen uit de periode 1965-1984. Ook het bouwjaar van Bijweg 4 is afkomstig uit die periode: het betreft namelijk een pand uit 1972. Het gemiddelde bouwjaar in de straat is 1964 en dat van het oudste pand is 1960. Dit is het nieuwste object in de straat. Het verblijfsobject heeft de volgende gebruiksdoelen: 'woonfunctie'.
Deze woning is voor het laatst verkocht op 1 juni 2018. Meer informatie over deze transactie? Bestel het Woningtransactierapport om de verkoopprijs en andere informatie te zien.
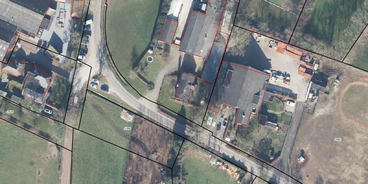
Het perceel waarop het adres ligt is LTR00-H-1810. De afkorting 'LTR00' staat voor kadastrale gemeente Lunteren. De gemiddelde perceeloppervlakte in de kadastrale gemeente Lunteren is 4969,75 m². Dit perceel is met zijn 1,1 ha dus groter dan gemiddeld. Het grootste perceel in de kadastrale gemeente is 42,6 ha. Het kleinste perceel heeft een oppervlakte van 0 m². Dit is het enige adres dat aanwezig is op het perceel. De huidige grenzen van het perceel zijn digitaal in de Basisregistratie Kadaster (BRK) geregistreerd op 02-08-2013.
Het adres ligt in een gebouw van het type 'vrijstaande woning'. Bij de laatste meting is voor het adres het energielabel F geregistreerd. Het hoogste energielabel in de straat is F; het laagste is G. Het gemiddelde energielabel is er F. Het adres Bijweg 4 heeft als status: 'verblijfsobject in gebruik'. Het pand waarin dit adres ligt heeft als status: 'pand in gebruik'.
Bijweg 4 is een adres gelegen in de gemeente Ede, provincie Gelderland. Dit adres is geregistreerd in de Basisregistratie Adressen en Gebouwen (BAG) met als unieke identificatie 0228010000043311.
Het pand op Bijweg 4 is gebouwd in 1972, wat betekent dat het 54 jaar oud is. Dit is een ouder pand. Het pand heeft mogelijk aanzienlijke renovaties nodig om aan de huidige standaarden te voldoen.
De woning op Bijweg 4 heeft een gebruiksoppervlakte van 143 m². Dit is gemiddeld vergeleken met de gemiddelde Nederlandse woning, die een oppervlakte heeft van ongeveer 119 m². De gebruiksoppervlakte is de maat die wordt gebruikt in de BAG-registratie, de landelijke registratie van de Nederlandse overheid.
Bijweg 4 heeft als functie: wonen. Deze gebruiksfunctie(s) zijn vastgelegd in de BAG-registratie en geven aan waarvoor het adres officieel mag worden gebruikt.
Bijweg 4 is gelegen op kadastraal perceel LTR00H1810. Deze kadastrale aanduiding is uniek en wordt gebruikt door het Kadaster om eigendomsrechten en andere zakelijke rechten vast te leggen. Het perceel maakt onderdeel uit van de kadastrale gemeente Lunteren.
Het perceel waarop Bijweg 4 staat heeft een oppervlakte van 1,1 ha. Dit is een zeer groot perceel. De perceeloppervlakte wordt geregistreerd door het Kadaster. Gedetailleerde informatie over de maten van dit perceel kunt u vinden in het rapport Kadastrale kaart met maatvoering van Bijweg 4.
De eigenaar van Bijweg 4 is op te vragen op deze pagina.
De informatie over dit adres is afkomstig uit officiële overheidsregistraties, voornamelijk de Basisregistratie Adressen en Gebouwen (BAG) en de Basisregistratie Kadaster (BRK). Deze gegevens worden beheerd door respectievelijk gemeenten en het Kadaster, en worden regelmatig bijgewerkt. Energielabelgegevens komen uit de database van de Rijksdienst voor Ondernemend Nederland (RVO).
