
Veenstraat 4-A is gelegen in de plaats Lunteren, de gemeente Ede en de provincie Gelderland. Het perceel waarop het adres gelegen is heeft een oppervlakte van 1705 m². Het verblijfsobject is met 57 m² relatief klein. Het object is klein ten opzichte van de andere adressen in de straat. Het grootste verblijfsobject is 353 m² groot en het kleinste is 13 m². Het gebouw waarin Veenstraat 4-A ligt komt uit het jaar 1950. Objecten die gebouwd zijn vóór 1965 classificeren we hier als oud. Vergeleken met de andere panden in de straat is dit gebouw nieuw. Het vroegste bouwjaar is er 1750 en het laatste is 2017. Het verblijfsobject heeft de volgende gebruiksdoelen: 'woonfunctie'.
Deze woning is voor het laatst verkocht op 1 december 2005. Meer informatie over deze transactie? Bestel het Woningtransactierapport om de verkoopprijs en andere informatie te zien.
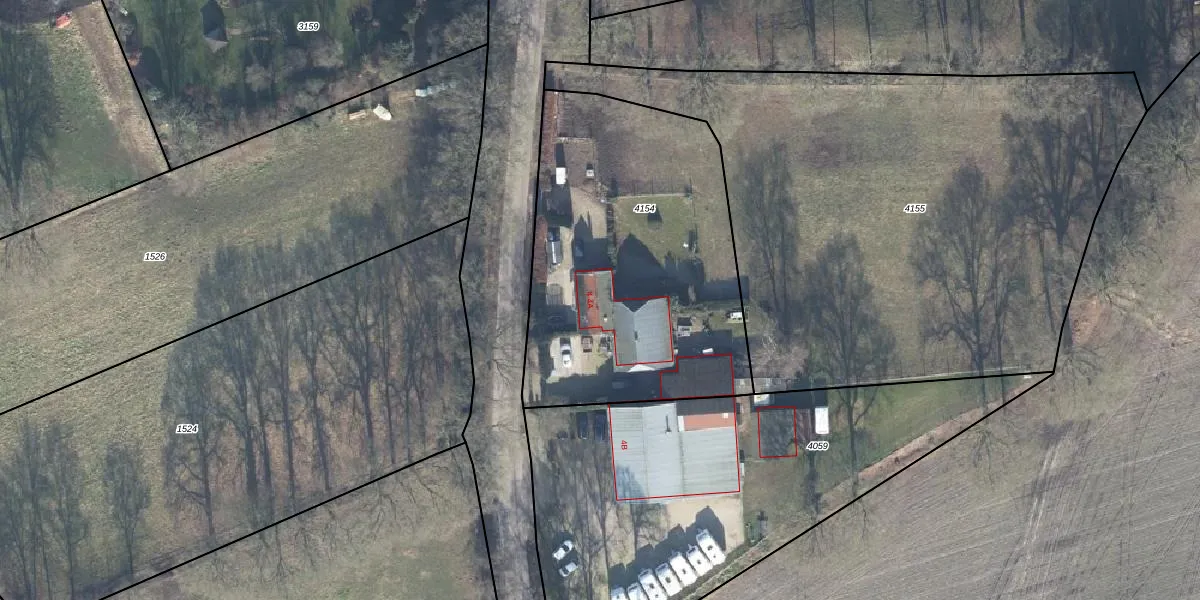
Het perceel waarop het adres ligt is LTR00-C-4154. De afkorting 'LTR00' staat voor kadastrale gemeente Lunteren. Het perceel is kleiner dan gemiddeld in Lunteren. Het perceel is 1705 m² groot, terwijl het gemiddelde ligt op 4969,75 m². Het kleinste perceel in de kadastrale gemeente is 0 m² groot. De grootste perceeloppervlakte is 42,6 ha. Er zijn 2 adressen aanwezig op het perceel. De laatste wijziging in het de Basisregistratie Kadaster (BRK) was op 02-10-2006.
Het adres ligt in een gebouw van het type 'vrijstaande woning'. Bij de laatste meting is voor het adres het energielabel G geregistreerd. Het hoogste energielabel in de straat is A++++; het laagste is G. Het gemiddelde energielabel is er C. Het adres Veenstraat 4-A heeft als status: 'verblijfsobject in gebruik'. Het pand waarin dit adres ligt heeft als status: 'pand in gebruik'.
Veenstraat 4-A is een adres gelegen in de gemeente Ede, provincie Gelderland. Dit adres is geregistreerd in de Basisregistratie Adressen en Gebouwen (BAG) met als unieke identificatie 0228010000049196.
Het pand op Veenstraat 4-A is gebouwd in 1950, wat betekent dat het 76 jaar oud is. Dit is een ouder pand. Het pand heeft mogelijk aanzienlijke renovaties nodig om aan de huidige standaarden te voldoen.
De woning op Veenstraat 4-A heeft een gebruiksoppervlakte van 57 m². Dit is relatief klein vergeleken met de gemiddelde Nederlandse woning, die een oppervlakte heeft van ongeveer 119 m². De gebruiksoppervlakte is de maat die wordt gebruikt in de BAG-registratie, de landelijke registratie van de Nederlandse overheid.
Veenstraat 4-A heeft als functie: wonen. Deze gebruiksfunctie(s) zijn vastgelegd in de BAG-registratie en geven aan waarvoor het adres officieel mag worden gebruikt.
Veenstraat 4-A is gelegen op kadastraal perceel LTR00C4154. Deze kadastrale aanduiding is uniek en wordt gebruikt door het Kadaster om eigendomsrechten en andere zakelijke rechten vast te leggen. Het perceel maakt onderdeel uit van de kadastrale gemeente Lunteren.
Het perceel waarop Veenstraat 4-A staat heeft een oppervlakte van 1705 m². Dit is een zeer groot perceel. De perceeloppervlakte wordt geregistreerd door het Kadaster. Gedetailleerde informatie over de maten van dit perceel kunt u vinden in het rapport Kadastrale kaart met maatvoering van Veenstraat 4-A.
De eigenaar van Veenstraat 4-A is op te vragen op deze pagina.
De informatie over dit adres is afkomstig uit officiële overheidsregistraties, voornamelijk de Basisregistratie Adressen en Gebouwen (BAG) en de Basisregistratie Kadaster (BRK). Deze gegevens worden beheerd door respectievelijk gemeenten en het Kadaster, en worden regelmatig bijgewerkt. Energielabelgegevens komen uit de database van de Rijksdienst voor Ondernemend Nederland (RVO).
