
Uiterdijkenweg 7-1 is gelegen in de plaats Luttelgeest, de gemeente Noordoostpolder en de provincie Flevoland. De oppervlakte van het verblijfsobject is met 193 m² aan de grote kant. Het perceel heeft een oppervlakte van 1,0 ha. Het adres is klein vergeleken met andere objecten in de straat. Het grootste object in de straat heeft een oppervlakte van 2505 m², het kleinste is 4 m² groot. Het adres Uiterdijkenweg 7-1 ligt in een relatief oud pand uit het jaar 1953. Panden van vóór het jaar 1965 hebben we hier geclassificeerd als oud. Het nieuwste gebouw in de straat komt uit 2025 en het oudste uit 1943. Dit object is relatief oud. Voor het verblijfsobject gelden deze gebruiksdoelen: 'woonfunctie'.
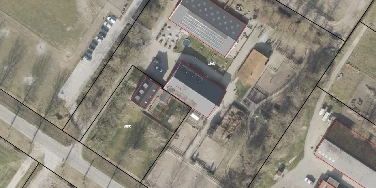
Het adres ligt op het perceel NOP00-G-2733, dat zich in de kadastrale gemeente Noordoostpolder bevindt. De gemiddelde perceelgrootte in Noordoostpolder is 2,1 ha. Dit perceel is kleiner: de perceeloppervlakte bedraagt 1,0 ha. De grootste perceeloppervlakte in de kadastrale gemeente is 47,42 km². De kleinste oppervlakte bedraagt 0 m². Op het perceel liggen in totaal 5 adressen. De laatste wijziging in het de Basisregistratie Kadaster (BRK) was op 08-05-2020.
Er is geen energielabel geregistreerd voor het adres. Het hoogste energielabel in de straat is A+++; het laagste is G. Het gemiddelde energielabel is er E. Het adres Uiterdijkenweg 7-1 heeft als status: 'verblijfsobject in gebruik (niet ingemeten)'. Het pand waarin dit adres ligt heeft als status: 'pand in gebruik (niet ingemeten)'.
Uiterdijkenweg 7-1 is een adres gelegen in de gemeente Noordoostpolder, provincie Flevoland. Dit adres is geregistreerd in de Basisregistratie Adressen en Gebouwen (BAG) met als unieke identificatie 0171010000036650.
Het pand op Uiterdijkenweg 7-1 is gebouwd in 1953, wat betekent dat het 73 jaar oud is. Dit is een ouder pand. Het pand heeft mogelijk aanzienlijke renovaties nodig om aan de huidige standaarden te voldoen.
De woning op Uiterdijkenweg 7-1 heeft een gebruiksoppervlakte van 193 m². Dit is ruim vergeleken met de gemiddelde Nederlandse woning, die een oppervlakte heeft van ongeveer 119 m². De gebruiksoppervlakte is de maat die wordt gebruikt in de BAG-registratie, de landelijke registratie van de Nederlandse overheid.
Uiterdijkenweg 7-1 heeft als functie: wonen. Deze gebruiksfunctie(s) zijn vastgelegd in de BAG-registratie en geven aan waarvoor het adres officieel mag worden gebruikt.
Uiterdijkenweg 7-1 is gelegen op kadastraal perceel NOP00G2733. Deze kadastrale aanduiding is uniek en wordt gebruikt door het Kadaster om eigendomsrechten en andere zakelijke rechten vast te leggen. Het perceel maakt onderdeel uit van de kadastrale gemeente Noordoostpolder.
Het perceel waarop Uiterdijkenweg 7-1 staat heeft een oppervlakte van 1,0 ha. Dit is een zeer groot perceel. De perceeloppervlakte wordt geregistreerd door het Kadaster. Gedetailleerde informatie over de maten van dit perceel kunt u vinden in het rapport Kadastrale kaart met maatvoering van Uiterdijkenweg 7-1.
De eigenaar van Uiterdijkenweg 7-1 is op te vragen op deze pagina
De informatie over dit adres is afkomstig uit officiële overheidsregistraties, voornamelijk de Basisregistratie Adressen en Gebouwen (BAG) en de Basisregistratie Kadaster (BRK). Deze gegevens worden beheerd door respectievelijk gemeenten en het Kadaster, en worden regelmatig bijgewerkt. Energielabelgegevens komen uit de database van de Rijksdienst voor Ondernemend Nederland (RVO).
