
Het adres Commandeurskade 48-a bevindt zich in de plaats Maasland, in de gemeente Maasland en de provincie Zuid-Holland. Het object heeft een oppervlakte van 167 m², wat relatief groot is. Het perceel waarop het adres ligt is 1,0 ha groot. Het adres is klein vergeleken met andere objecten in de straat. Het grootste object in de straat heeft een oppervlakte van 6618 m², het kleinste is 7 m² groot. De meeste Nederlandse gebouwen zijn gebouwd in de periode 1965-1984. Zo ook het pand waarin Commandeurskade 48-a ligt, dat gebouwd is in 1978. Vergeleken met de andere panden in de straat is dit gebouw nieuw. Het vroegste bouwjaar is er 1850 en het laatste is 2023. Voor het verblijfsobject gelden deze gebruiksdoelen: 'woonfunctie'.
Deze woning is voor het laatst verkocht op 1 december 2022. Meer informatie over deze transactie? Bestel het Woningtransactierapport om de verkoopprijs en andere informatie te zien.
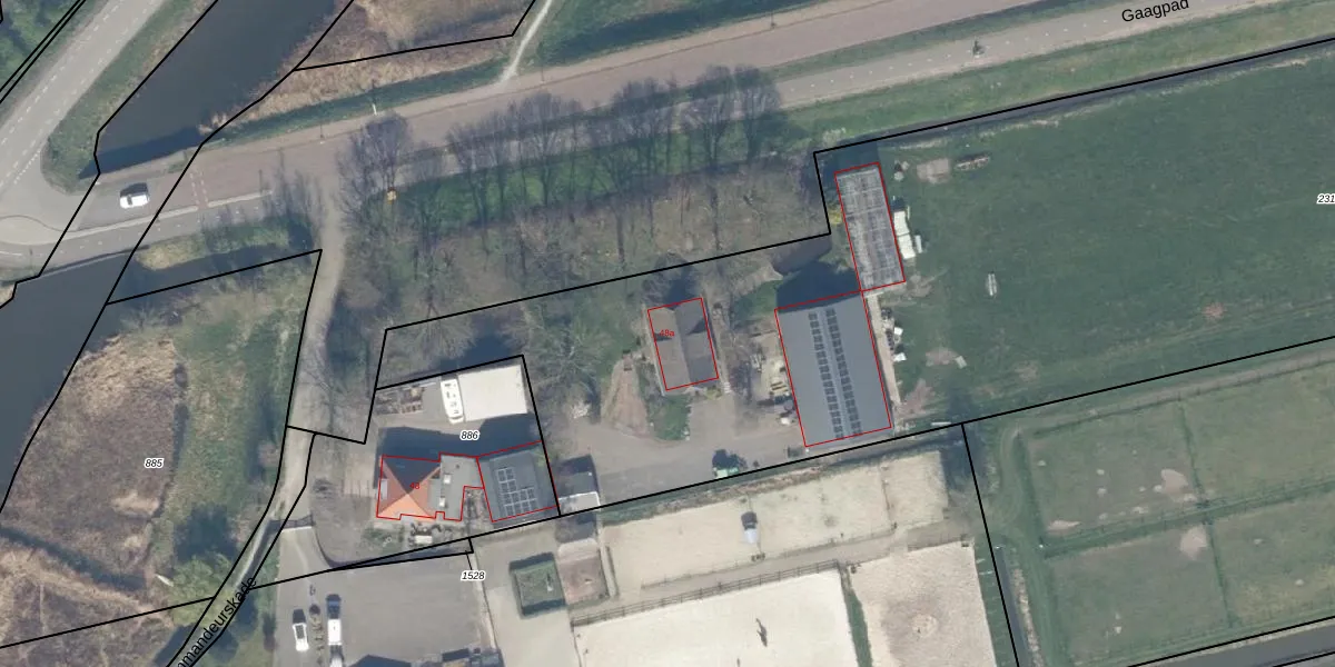
Het adres ligt op het perceel MLD00-I-2310, dat zich in de kadastrale gemeente Maasland bevindt. Het perceel is met 1,0 ha relatief groot. Het gemiddelde ligt in de kadastrale gemeente Maasland op 5012,34 m². De grootste perceeloppervlakte in de kadastrale gemeente is 45,4 ha. De kleinste oppervlakte bedraagt 0 m². Dit is het enige adres dat aanwezig is op het perceel. In de Basisregistratie Kadaster (BRK) werden de grenzen van het perceel geregistreerd op 24-09-2024.
Het adres ligt in een gebouw van het type 'vrijstaande woning'. Bij de laatste meting is voor het adres het energielabel C geregistreerd. Het hoogste energielabel in de straat is A++; het laagste is G. Het gemiddelde energielabel is er D. Het adres Commandeurskade 48-a heeft als status: 'verbouwing verblijfsobject'. Het pand waarin dit adres ligt heeft als status: 'verbouwing pand'.
Commandeurskade 48-a is een adres gelegen in de gemeente Midden-Delfland, provincie Zuid-Holland. Dit adres is geregistreerd in de Basisregistratie Adressen en Gebouwen (BAG) met als unieke identificatie 1842010000002368.
Het pand op Commandeurskade 48-a is gebouwd in 1978, wat betekent dat het 48 jaar oud is. Dit is een pand van middelbare leeftijd. Het pand is van gemiddelde leeftijd en zal waarschijnlijk verouderde elementen bevatten.
De woning op Commandeurskade 48-a heeft een gebruiksoppervlakte van 167 m². Dit is ruim vergeleken met de gemiddelde Nederlandse woning, die een oppervlakte heeft van ongeveer 119 m². De gebruiksoppervlakte is de maat die wordt gebruikt in de BAG-registratie, de landelijke registratie van de Nederlandse overheid.
Commandeurskade 48-a heeft als functie: wonen. Deze gebruiksfunctie(s) zijn vastgelegd in de BAG-registratie en geven aan waarvoor het adres officieel mag worden gebruikt.
Commandeurskade 48-a is gelegen op kadastraal perceel MLD00I2310. Deze kadastrale aanduiding is uniek en wordt gebruikt door het Kadaster om eigendomsrechten en andere zakelijke rechten vast te leggen. Het perceel maakt onderdeel uit van de kadastrale gemeente Maasland.
Het perceel waarop Commandeurskade 48-a staat heeft een oppervlakte van 1,0 ha. Dit is een zeer groot perceel. De perceeloppervlakte wordt geregistreerd door het Kadaster. Gedetailleerde informatie over de maten van dit perceel kunt u vinden in het rapport Kadastrale kaart met maatvoering van Commandeurskade 48-a.
De eigenaar van Commandeurskade 48-a is op te vragen op deze pagina.
De informatie over dit adres is afkomstig uit officiële overheidsregistraties, voornamelijk de Basisregistratie Adressen en Gebouwen (BAG) en de Basisregistratie Kadaster (BRK). Deze gegevens worden beheerd door respectievelijk gemeenten en het Kadaster, en worden regelmatig bijgewerkt. Energielabelgegevens komen uit de database van de Rijksdienst voor Ondernemend Nederland (RVO).
