
Postbaan 1-TR02 is gelegen in de plaats Maastricht, de gemeente Maastricht en de provincie Limburg. Het verblijfsobject is vergeleken met het Nederlandse gemiddelde aan de kleine kant: de oppervlakte is 10 m². Het perceel waarop het adres zich bevindt heeft een oppervlakte van 540 m². In de straat is dit het kleinste object. Het grootste verblijfsobject heeft een oppervlakte van 1463 m². De gemiddelde grootte is er 256 m². In het jaar 2000 is het pand waarin Postbaan 1-TR02 ligt gebouwd. Dat is relatief recent: de meeste gebouwen in Nederland zijn gebouwd in de periode 1965-1984. Dit object is relatief nieuw in de straat. Het nieuwste gebouw komt er uit het jaar 2008 en het oudste uit het jaar 1750. Voor het verblijfsobject gelden deze gebruiksdoelen: 'overige gebruiksfunctie'.
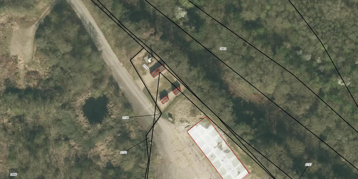
Het perceel waarop het adres ligt is VHV03-A-2713. De afkorting 'VHV03' staat voor kadastrale gemeente Oud-Vroenhoven. De gemiddelde perceelgrootte in Oud-Vroenhoven is 5934,46 m². Dit perceel is kleiner: de perceeloppervlakte bedraagt 540 m². De grootste perceeloppervlakte in de kadastrale gemeente is 72,0 ha. De kleinste oppervlakte bedraagt 6 m². Op het perceel liggen in totaal 2 adressen. De laatste wijziging in het de Basisregistratie Kadaster (BRK) was op 21-11-2006.
Er is geen energielabel geregistreerd voor het adres. Het hoogste energielabel in de straat is A+; het laagste is G. Het gemiddelde energielabel is er C. Het adres Postbaan 1-TR02 heeft als status: 'verblijfsobject in gebruik'. Het pand waarin dit adres ligt heeft als status: 'pand in gebruik'.
Postbaan 1-TR02 is een adres gelegen in de gemeente Maastricht, provincie Limburg. Dit adres is geregistreerd in de Basisregistratie Adressen en Gebouwen (BAG) met als unieke identificatie 0935010000098226.
Het pand op Postbaan 1-TR02 is gebouwd in 2000, wat betekent dat het 26 jaar oud is. Dit is een pand van middelbare leeftijd. Het pand is van gemiddelde leeftijd en zal waarschijnlijk verouderde elementen bevatten.
De woning op Postbaan 1-TR02 heeft een gebruiksoppervlakte van 10 m². Dit is relatief klein vergeleken met de gemiddelde Nederlandse woning, die een oppervlakte heeft van ongeveer 119 m². De gebruiksoppervlakte is de maat die wordt gebruikt in de BAG-registratie, de landelijke registratie van de Nederlandse overheid.
Postbaan 1-TR02 heeft als functie: overige doeleinden. Deze gebruiksfunctie(s) zijn vastgelegd in de BAG-registratie en geven aan waarvoor het adres officieel mag worden gebruikt.
Postbaan 1-TR02 is gelegen op kadastraal perceel VHV03A2713. Deze kadastrale aanduiding is uniek en wordt gebruikt door het Kadaster om eigendomsrechten en andere zakelijke rechten vast te leggen. Het perceel maakt onderdeel uit van de kadastrale gemeente Oud-Vroenhoven.
Het perceel waarop Postbaan 1-TR02 staat heeft een oppervlakte van 540 m². Dit is een groot perceel. De perceeloppervlakte wordt geregistreerd door het Kadaster. Gedetailleerde informatie over de maten van dit perceel kunt u vinden in het rapport Kadastrale kaart met maatvoering van Postbaan 1-TR02.
De eigenaar van Postbaan 1-TR02 is op te vragen op deze pagina
De informatie over dit adres is afkomstig uit officiële overheidsregistraties, voornamelijk de Basisregistratie Adressen en Gebouwen (BAG) en de Basisregistratie Kadaster (BRK). Deze gegevens worden beheerd door respectievelijk gemeenten en het Kadaster, en worden regelmatig bijgewerkt. Energielabelgegevens komen uit de database van de Rijksdienst voor Ondernemend Nederland (RVO).
