
Haasdijk 71-NST is een adres in Made, dat zich bevindt binnen de gemeentegrenzen van Made en de grenzen van de provincie Noord-Brabant. Het object heeft een oppervlakte van 286 m², wat relatief groot is. Het perceel waarop het adres ligt is 1000 m² groot. In vergelijking met de andere adressen in de straat is de oppervlakte van dit object relatief groot. Het grootste verblijfsobject heeft een oppervlakte van 1674 m², de oppervlakte van het kleinste object bedraagt 47 m². In Nederland komt het grootste deel van de gebouwen uit de periode 1965-1984. Ook het bouwjaar van Haasdijk 71-NST is afkomstig uit die periode: het betreft namelijk een pand uit 1965. Vergeleken met de andere panden in de straat is dit gebouw nieuw. Het vroegste bouwjaar is er 1901 en het laatste is 2002. Voor het verblijfsobject gelden deze gebruiksdoelen: 'overige gebruiksfunctie'.
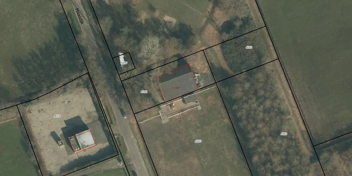
Het perceel waarop het adres ligt is MDE01-S-4260. De afkorting 'MDE01' staat voor kadastrale gemeente Made en Drimmelen. De gemiddelde perceelgrootte in Made en Drimmelen is 7297,69 m². Dit perceel is kleiner: de perceeloppervlakte bedraagt 1000 m². Het grootste perceel in de kadastrale gemeente is 3,79 km². Het kleinste perceel heeft een oppervlakte van 0 m². Dit is het enige adres dat aanwezig is op het perceel. De huidige grenzen van het perceel zijn digitaal in de Basisregistratie Kadaster (BRK) geregistreerd op 07-05-2012.
Er is geen energielabel geregistreerd voor het adres. Het hoogste energielabel in de straat is A; het laagste is G. Het gemiddelde energielabel is er D. Het adres Haasdijk 71-NST heeft als status: 'verblijfsobject in gebruik'. Het pand waarin dit adres ligt heeft als status: 'pand in gebruik'.
Haasdijk 71-NST is een adres gelegen in de gemeente Drimmelen, provincie Noord-Brabant. Dit adres is geregistreerd in de Basisregistratie Adressen en Gebouwen (BAG) met als unieke identificatie 1719010000011250.
Het pand op Haasdijk 71-NST is gebouwd in 1965, wat betekent dat het 61 jaar oud is. Dit is een ouder pand. Het pand heeft mogelijk aanzienlijke renovaties nodig om aan de huidige standaarden te voldoen.
De woning op Haasdijk 71-NST heeft een gebruiksoppervlakte van 286 m². Dit is ruim vergeleken met de gemiddelde Nederlandse woning, die een oppervlakte heeft van ongeveer 119 m². De gebruiksoppervlakte is de maat die wordt gebruikt in de BAG-registratie, de landelijke registratie van de Nederlandse overheid.
Haasdijk 71-NST heeft als functie: overige doeleinden. Deze gebruiksfunctie(s) zijn vastgelegd in de BAG-registratie en geven aan waarvoor het adres officieel mag worden gebruikt.
Haasdijk 71-NST is gelegen op kadastraal perceel MDE01S4260. Deze kadastrale aanduiding is uniek en wordt gebruikt door het Kadaster om eigendomsrechten en andere zakelijke rechten vast te leggen. Het perceel maakt onderdeel uit van de kadastrale gemeente Made en Drimmelen.
Het perceel waarop Haasdijk 71-NST staat heeft een oppervlakte van 1000 m². Dit is een zeer groot perceel. De perceeloppervlakte wordt geregistreerd door het Kadaster. Gedetailleerde informatie over de maten van dit perceel kunt u vinden in het rapport Kadastrale kaart met maatvoering van Haasdijk 71-NST.
De eigenaar van Haasdijk 71-NST is op te vragen op deze pagina.
De informatie over dit adres is afkomstig uit officiële overheidsregistraties, voornamelijk de Basisregistratie Adressen en Gebouwen (BAG) en de Basisregistratie Kadaster (BRK). Deze gegevens worden beheerd door respectievelijk gemeenten en het Kadaster, en worden regelmatig bijgewerkt. Energielabelgegevens komen uit de database van de Rijksdienst voor Ondernemend Nederland (RVO).
