
Het adres Meester Beukenweg 14 bevindt zich in de plaats Mechelen, in de gemeente Mechelen en de provincie Limburg. Het perceel waarop het verblijfsobject staat is 340 m² groot. De oppervlakte van het adres is 129 m², wat zich rond het Nederlandse gemiddelde van 119 m² bevindt. Het object is klein ten opzichte van de andere adressen in de straat. Het grootste verblijfsobject is 271 m² groot en het kleinste is 86 m². In Nederland komt het grootste deel van de gebouwen uit de periode 1965-1984. Ook het bouwjaar van Meester Beukenweg 14 is afkomstig uit die periode: het betreft namelijk een pand uit 1968. In de straat komt het nieuwste gebouw uit het jaar 1990 en het oudste uit 1966. Het bouwjaar van dit object is relatief oud. De volgende gebruiksdoelen zijn geregistreerd voor dit adres: 'woonfunctie'.
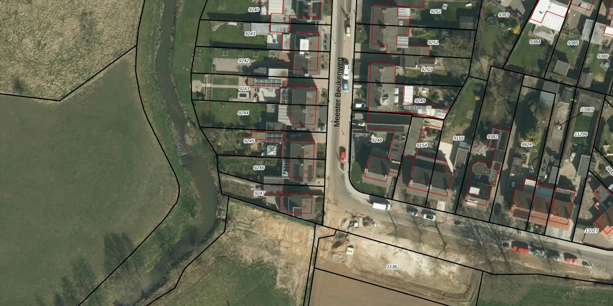
Het perceel waarop het adres ligt is WTM00-C-9245. De afkorting 'WTM00' staat voor kadastrale gemeente Wittem. Het perceel is 340 m² groot. Dat is kleiner dan de gemiddelde perceeloppervlakte in Wittem, dat op 6045,76 m² ligt. Het grootste perceel in de kadastrale gemeente is 50,8 ha. Het kleinste perceel heeft een oppervlakte van 0 m². Er zijn geen andere adressen aanwezig op het perceel. In de Basisregistratie Kadaster (BRK) werden de grenzen van het perceel geregistreerd op 14-09-2010.
Het adres ligt in een gebouw van het type 'twee-onder-één-kap'. Bij de laatste meting is voor het adres het energielabel B geregistreerd. Het hoogste energielabel in de straat is A; het laagste is G. Het gemiddelde energielabel is er C. Het adres Meester Beukenweg 14 heeft als status: 'verblijfsobject in gebruik'. Het pand waarin dit adres ligt heeft als status: 'pand in gebruik'.
Meester Beukenweg 14 is een adres gelegen in de gemeente Gulpen-Wittem, provincie Limburg. Dit adres is geregistreerd in de Basisregistratie Adressen en Gebouwen (BAG) met als unieke identificatie 1729010001042717.
Het pand op Meester Beukenweg 14 is gebouwd in 1968, wat betekent dat het 58 jaar oud is. Dit is een ouder pand. Het pand heeft mogelijk aanzienlijke renovaties nodig om aan de huidige standaarden te voldoen.
De woning op Meester Beukenweg 14 heeft een gebruiksoppervlakte van 129 m². Dit is gemiddeld vergeleken met de gemiddelde Nederlandse woning, die een oppervlakte heeft van ongeveer 119 m². De gebruiksoppervlakte is de maat die wordt gebruikt in de BAG-registratie, de landelijke registratie van de Nederlandse overheid.
Meester Beukenweg 14 heeft als functie: wonen. Deze gebruiksfunctie(s) zijn vastgelegd in de BAG-registratie en geven aan waarvoor het adres officieel mag worden gebruikt.
Meester Beukenweg 14 is gelegen op kadastraal perceel WTM00C9245. Deze kadastrale aanduiding is uniek en wordt gebruikt door het Kadaster om eigendomsrechten en andere zakelijke rechten vast te leggen. Het perceel maakt onderdeel uit van de kadastrale gemeente Wittem.
Het perceel waarop Meester Beukenweg 14 staat heeft een oppervlakte van 340 m². Dit is een groot perceel. De perceeloppervlakte wordt geregistreerd door het Kadaster. Gedetailleerde informatie over de maten van dit perceel kunt u vinden in het rapport Kadastrale kaart met maatvoering van Meester Beukenweg 14.
De eigenaar van Meester Beukenweg 14 is op te vragen op deze pagina.
De informatie over dit adres is afkomstig uit officiële overheidsregistraties, voornamelijk de Basisregistratie Adressen en Gebouwen (BAG) en de Basisregistratie Kadaster (BRK). Deze gegevens worden beheerd door respectievelijk gemeenten en het Kadaster, en worden regelmatig bijgewerkt. Energielabelgegevens komen uit de database van de Rijksdienst voor Ondernemend Nederland (RVO).
