
Hereweg 322 is gelegen in de plaats Meeden, de gemeente Midden-Groningen en de provincie Groningen. Het object heeft een oppervlakte van 837 m², wat relatief groot is. Het perceel waarop het adres ligt is 7920 m² groot. De oppervlakte van dit adres is groot vergeleken met de oppervlaktes van andere adressen in de straat. De kleinste oppervlakte bedraagt er 8 m², de grootste 2134 m². Hereweg 322 bevindt zich in een pand uit het jaar 1890. Daarmee behoort het tot de groep relatief oude panden in Nederland die gebouwd zijn vóór 1965. Het bouwjaar is oud vergeleken met dat van de andere panden in de straat. Het oudste bouwjaar is er 1820 en de nieuwste is 2025. Het verblijfsobject heeft de volgende gebruiksdoelen: 'industriefunctie'.
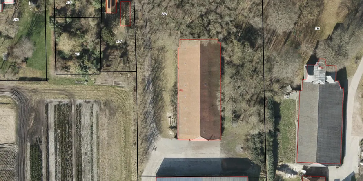
Het adres ligt op het perceel MDN02-H-282, dat zich in de kadastrale gemeente Meeden bevindt. Het perceel is kleiner dan gemiddeld in Meeden. Het perceel is 7920 m² groot, terwijl het gemiddelde ligt op 1,2 ha. Het grootste perceel in de kadastrale gemeente is 46,2 ha. Het kleinste perceel heeft een oppervlakte van 1 m². Dit is het enige adres dat aanwezig is op het perceel. De laatste wijziging in het de Basisregistratie Kadaster (BRK) was op 21-01-2002.
Er is geen energielabel geregistreerd voor het adres. Het hoogste energielabel in de straat is A++++; het laagste is G. Het gemiddelde energielabel is er D. Het adres Hereweg 322 heeft als status: 'verblijfsobject in gebruik'. Het pand waarin dit adres ligt heeft als status: 'pand in gebruik'.
Hereweg 322 is een adres gelegen in de gemeente Midden-Groningen, provincie Groningen. Dit adres is geregistreerd in de Basisregistratie Adressen en Gebouwen (BAG) met als unieke identificatie 1987010000004837.
Het pand op Hereweg 322 is gebouwd in 1890, wat betekent dat het 136 jaar oud is. Dit is een ouder pand. Het pand heeft mogelijk aanzienlijke renovaties nodig om aan de huidige standaarden te voldoen.
De woning op Hereweg 322 heeft een gebruiksoppervlakte van 837 m². Dit is ruim vergeleken met de gemiddelde Nederlandse woning, die een oppervlakte heeft van ongeveer 119 m². De gebruiksoppervlakte is de maat die wordt gebruikt in de BAG-registratie, de landelijke registratie van de Nederlandse overheid.
Hereweg 322 heeft als functie: industrie. Deze gebruiksfunctie(s) zijn vastgelegd in de BAG-registratie en geven aan waarvoor het adres officieel mag worden gebruikt.
Hereweg 322 is gelegen op kadastraal perceel MDN02H282. Deze kadastrale aanduiding is uniek en wordt gebruikt door het Kadaster om eigendomsrechten en andere zakelijke rechten vast te leggen. Het perceel maakt onderdeel uit van de kadastrale gemeente Meeden.
Het perceel waarop Hereweg 322 staat heeft een oppervlakte van 7920 m². Dit is een zeer groot perceel. De perceeloppervlakte wordt geregistreerd door het Kadaster. Gedetailleerde informatie over de maten van dit perceel kunt u vinden in het rapport Kadastrale kaart met maatvoering van Hereweg 322.
De eigenaar van Hereweg 322 is op te vragen op deze pagina.
De informatie over dit adres is afkomstig uit officiële overheidsregistraties, voornamelijk de Basisregistratie Adressen en Gebouwen (BAG) en de Basisregistratie Kadaster (BRK). Deze gegevens worden beheerd door respectievelijk gemeenten en het Kadaster, en worden regelmatig bijgewerkt. Energielabelgegevens komen uit de database van de Rijksdienst voor Ondernemend Nederland (RVO).
