
Het adres Heldensedijk 14 bevindt zich in de plaats Meijel, in de gemeente Meijel en de provincie Limburg. Het object heeft een oppervlakte van 151 m², wat relatief groot is. Het perceel waarop het adres ligt is 1295 m² groot. Het adres is klein vergeleken met andere objecten in de straat. Het grootste object in de straat heeft een oppervlakte van 2105 m², het kleinste is 5 m² groot. Het adres Heldensedijk 14 ligt in een relatief oud pand uit het jaar 1933. Panden van vóór het jaar 1965 hebben we hier geclassificeerd als oud. Het bouwjaar is oud vergeleken met dat van de andere panden in de straat. Het oudste bouwjaar is er 1906 en de nieuwste is 2017. Voor het verblijfsobject gelden deze gebruiksdoelen: 'woonfunctie'.
Deze woning is voor het laatst verkocht op 1 juni 2018. Meer informatie over deze transactie? Bestel het Woningtransactierapport om de verkoopprijs en andere informatie te zien.
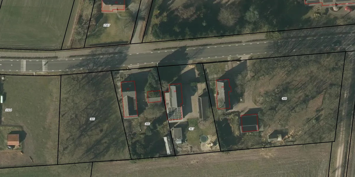
Het adres ligt op het perceel MEL00-F-367, dat zich in de kadastrale gemeente Meijel bevindt. De gemiddelde perceelgrootte in Meijel is 4140,94 m². Dit perceel is kleiner: de perceeloppervlakte bedraagt 1295 m². De grootste perceeloppervlakte in de kadastrale gemeente is 19,7 ha. De kleinste oppervlakte bedraagt 0 m². Dit is het enige adres dat aanwezig is op het perceel. In de Basisregistratie Kadaster (BRK) werden de grenzen van het perceel geregistreerd op 22-08-2006.
Het adres ligt in een gebouw van het type 'vrijstaande woning'. Bij de laatste meting is voor het adres het energielabel F geregistreerd. Het hoogste energielabel in de straat is A; het laagste is G. Het gemiddelde energielabel is er E. Het adres Heldensedijk 14 heeft als status: 'verblijfsobject in gebruik'. Het pand waarin dit adres ligt heeft als status: 'pand in gebruik'.
Heldensedijk 14 is een adres gelegen in de gemeente Peel en Maas, provincie Limburg. Dit adres is geregistreerd in de Basisregistratie Adressen en Gebouwen (BAG) met als unieke identificatie 1894010000302014.
Het pand op Heldensedijk 14 is gebouwd in 1933, wat betekent dat het 93 jaar oud is. Dit is een ouder pand. Het pand heeft mogelijk aanzienlijke renovaties nodig om aan de huidige standaarden te voldoen.
De woning op Heldensedijk 14 heeft een gebruiksoppervlakte van 151 m². Dit is ruim vergeleken met de gemiddelde Nederlandse woning, die een oppervlakte heeft van ongeveer 119 m². De gebruiksoppervlakte is de maat die wordt gebruikt in de BAG-registratie, de landelijke registratie van de Nederlandse overheid.
Heldensedijk 14 heeft als functie: wonen. Deze gebruiksfunctie(s) zijn vastgelegd in de BAG-registratie en geven aan waarvoor het adres officieel mag worden gebruikt.
Heldensedijk 14 is gelegen op kadastraal perceel MEL00F367. Deze kadastrale aanduiding is uniek en wordt gebruikt door het Kadaster om eigendomsrechten en andere zakelijke rechten vast te leggen. Het perceel maakt onderdeel uit van de kadastrale gemeente Meijel.
Het perceel waarop Heldensedijk 14 staat heeft een oppervlakte van 1295 m². Dit is een zeer groot perceel. De perceeloppervlakte wordt geregistreerd door het Kadaster. Gedetailleerde informatie over de maten van dit perceel kunt u vinden in het rapport Kadastrale kaart met maatvoering van Heldensedijk 14.
De eigenaar van Heldensedijk 14 is op te vragen op deze pagina.
De informatie over dit adres is afkomstig uit officiële overheidsregistraties, voornamelijk de Basisregistratie Adressen en Gebouwen (BAG) en de Basisregistratie Kadaster (BRK). Deze gegevens worden beheerd door respectievelijk gemeenten en het Kadaster, en worden regelmatig bijgewerkt. Energielabelgegevens komen uit de database van de Rijksdienst voor Ondernemend Nederland (RVO).
