
Katsberg 2 is een adres in Meijel, dat zich bevindt binnen de gemeentegrenzen van Meijel en de grenzen van de provincie Limburg. Het perceel waarop het adres gelegen is heeft een oppervlakte van 4205 m². Het verblijfsobject is met 86 m² relatief klein. Er zijn geen kleinere objecten in deze straat. De gemiddelde oppervlakte is er 184 m². Het grootste verblijfsobject is 355 m². Katsberg 2 ligt in een gebouw uit het jaar 2023. Daarmee behoort het tot de groep panden van na 1984, die we als relatief nieuw bestempelen. Het gemiddelde bouwjaar in de straat is 1967 en dat van het oudste pand is 1945. Dit is het nieuwste object in de straat. Voor het verblijfsobject gelden deze gebruiksdoelen: 'woonfunctie'.
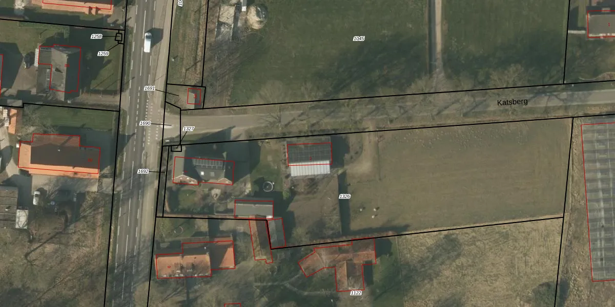
Het adres ligt op het perceel MEL00-F-1326, dat zich in de kadastrale gemeente Meijel bevindt. Het perceel is met 4205 m² relatief groot. Het gemiddelde ligt in de kadastrale gemeente Meijel op 4153,86 m². Het grootste perceel in de kadastrale gemeente is 19,7 ha. Het kleinste perceel heeft een oppervlakte van 0 m². Er zijn 2 adressen aanwezig op het perceel. De huidige grenzen van het perceel zijn digitaal in de Basisregistratie Kadaster (BRK) geregistreerd op 23-08-2006.
Er is geen energielabel geregistreerd voor het adres. Het hoogste energielabel in de straat is A++++; het laagste is G. Het gemiddelde energielabel is er C. Het adres Katsberg 2 heeft als status: 'verblijfsobject in gebruik'. Het pand waarin dit adres ligt heeft als status: 'pand in gebruik'.
Katsberg 2 is een adres gelegen in de gemeente Peel en Maas, provincie Limburg. Dit adres is geregistreerd in de Basisregistratie Adressen en Gebouwen (BAG) met als unieke identificatie 1894012000005793.
Het pand op Katsberg 2 is gebouwd in 2023, wat betekent dat het 3 jaar oud is. Dit is een vrij nieuw pand. Het pand is dus waarschijnlijk goed geïsoleerd, geluidsdicht en voldoet aan de huidige bouwstandaarden. Op korte termijn zijn er waarschijnlijk weinig onderhoudskosten.
De woning op Katsberg 2 heeft een gebruiksoppervlakte van 86 m². Dit is onder het gemiddelde vergeleken met de gemiddelde Nederlandse woning, die een oppervlakte heeft van ongeveer 119 m². De gebruiksoppervlakte is de maat die wordt gebruikt in de BAG-registratie, de landelijke registratie van de Nederlandse overheid.
Katsberg 2 heeft als functie: wonen. Deze gebruiksfunctie(s) zijn vastgelegd in de BAG-registratie en geven aan waarvoor het adres officieel mag worden gebruikt.
Katsberg 2 is gelegen op kadastraal perceel MEL00F1326. Deze kadastrale aanduiding is uniek en wordt gebruikt door het Kadaster om eigendomsrechten en andere zakelijke rechten vast te leggen. Het perceel maakt onderdeel uit van de kadastrale gemeente Meijel.
Het perceel waarop Katsberg 2 staat heeft een oppervlakte van 4205 m². Dit is een zeer groot perceel. De perceeloppervlakte wordt geregistreerd door het Kadaster. Gedetailleerde informatie over de maten van dit perceel kunt u vinden in het rapport Kadastrale kaart met maatvoering van Katsberg 2.
De eigenaar van Katsberg 2 is op te vragen op deze pagina.
De informatie over dit adres is afkomstig uit officiële overheidsregistraties, voornamelijk de Basisregistratie Adressen en Gebouwen (BAG) en de Basisregistratie Kadaster (BRK). Deze gegevens worden beheerd door respectievelijk gemeenten en het Kadaster, en worden regelmatig bijgewerkt. Energielabelgegevens komen uit de database van de Rijksdienst voor Ondernemend Nederland (RVO).
