
Het adres Leonard Springerlaan 35 bevindt zich in de plaats Meppel, in de gemeente Meppel en de provincie Drenthe. Het object heeft een oppervlakte van 933 m², wat relatief groot is. Het perceel waarop het adres ligt is 1310 m² groot. In vergelijking met de andere adressen in de straat is de oppervlakte van dit object relatief groot. Het grootste verblijfsobject heeft een oppervlakte van 1340 m², de oppervlakte van het kleinste object bedraagt 56 m². Het pand waarin Leonard Springerlaan 35 ligt is gebouwd in het jaar 1985. Panden die gebouwd zijn na het jaar 1984 noemen we hier relatief nieuw. Vergeleken met de andere panden in de straat is dit gebouw nieuw. Het vroegste bouwjaar is er 1934 en het laatste is 2017. Voor het verblijfsobject gelden deze gebruiksdoelen: 'kantoorfunctie'.
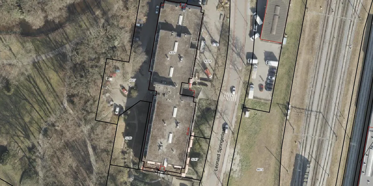
Het perceel waarop het adres ligt is MPL00-C-4324. De afkorting 'MPL00' staat voor kadastrale gemeente Meppel. De gemiddelde perceelgrootte in Meppel is 2124,99 m². Dit perceel is kleiner: de perceeloppervlakte bedraagt 1310 m². Het kleinste perceel in de kadastrale gemeente is 0 m² groot. De grootste perceeloppervlakte is 34,4 ha. Dit is het enige adres dat aanwezig is op het perceel. In de Basisregistratie Kadaster (BRK) werden de grenzen van het perceel geregistreerd op 04-07-2003.
Bij de laatste meting is voor het adres het energielabel B geregistreerd. Het hoogste energielabel in de straat is A+; het laagste is G. Het gemiddelde energielabel is er C. Het adres Leonard Springerlaan 35 heeft als status: 'verblijfsobject in gebruik'. Het pand waarin dit adres ligt heeft als status: 'pand in gebruik'.
Leonard Springerlaan 35 is een adres gelegen in de gemeente Meppel, provincie Drenthe. Dit adres is geregistreerd in de Basisregistratie Adressen en Gebouwen (BAG) met als unieke identificatie 0119010000010614.
Het pand op Leonard Springerlaan 35 is gebouwd in 1985, wat betekent dat het 41 jaar oud is. Dit is een pand van middelbare leeftijd. Het pand is van gemiddelde leeftijd en zal waarschijnlijk verouderde elementen bevatten.
De woning op Leonard Springerlaan 35 heeft een gebruiksoppervlakte van 933 m². Dit is ruim vergeleken met de gemiddelde Nederlandse woning, die een oppervlakte heeft van ongeveer 119 m². De gebruiksoppervlakte is de maat die wordt gebruikt in de BAG-registratie, de landelijke registratie van de Nederlandse overheid.
Leonard Springerlaan 35 heeft als functie: kantoor. Deze gebruiksfunctie(s) zijn vastgelegd in de BAG-registratie en geven aan waarvoor het adres officieel mag worden gebruikt.
Leonard Springerlaan 35 is gelegen op kadastraal perceel MPL00C4324. Deze kadastrale aanduiding is uniek en wordt gebruikt door het Kadaster om eigendomsrechten en andere zakelijke rechten vast te leggen. Het perceel maakt onderdeel uit van de kadastrale gemeente Meppel.
Het perceel waarop Leonard Springerlaan 35 staat heeft een oppervlakte van 1310 m². Dit is een zeer groot perceel. De perceeloppervlakte wordt geregistreerd door het Kadaster. Gedetailleerde informatie over de maten van dit perceel kunt u vinden in het rapport Kadastrale kaart met maatvoering van Leonard Springerlaan 35.
De eigenaar van Leonard Springerlaan 35 is op te vragen op deze pagina
De informatie over dit adres is afkomstig uit officiële overheidsregistraties, voornamelijk de Basisregistratie Adressen en Gebouwen (BAG) en de Basisregistratie Kadaster (BRK). Deze gegevens worden beheerd door respectievelijk gemeenten en het Kadaster, en worden regelmatig bijgewerkt. Energielabelgegevens komen uit de database van de Rijksdienst voor Ondernemend Nederland (RVO).
