
Hovinghoek 6 is gelegen in de plaats Meppen, de gemeente Coevorden en de provincie Drenthe. De oppervlakte van het verblijfsobject is met 224 m² aan de grote kant. Het perceel heeft een oppervlakte van 4375 m². Het adres is klein vergeleken met andere objecten in de straat. Het grootste object in de straat heeft een oppervlakte van 828 m², het kleinste is 90 m² groot. Het adres Hovinghoek 6 ligt in een relatief oud pand uit het jaar 1892. Panden van vóór het jaar 1965 hebben we hier geclassificeerd als oud. Het nieuwste gebouw in de straat komt uit 2018 en het oudste uit 1664. Dit object is relatief oud. Het verblijfsobject heeft de volgende gebruiksdoelen: 'woonfunctie'.
Deze woning is voor het laatst verkocht op 1 april 2003. Meer informatie over deze transactie? Bestel het Woningtransactierapport om de verkoopprijs en andere informatie te zien.
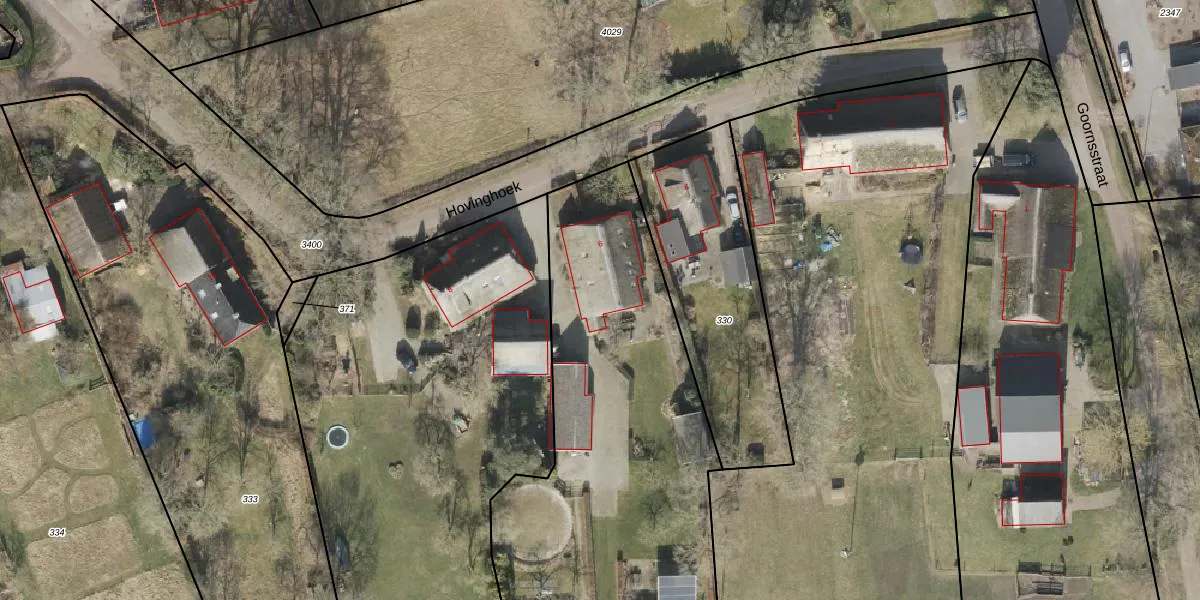
Het adres ligt op het perceel ZLO00-R-332, dat zich in de kadastrale gemeente Zweeloo bevindt. Het perceel is kleiner dan gemiddeld in Zweeloo. Het perceel is 4375 m² groot, terwijl het gemiddelde ligt op 1,5 ha. De grootste perceeloppervlakte in de kadastrale gemeente is 1,22 km². De kleinste oppervlakte bedraagt 2 m². Op het perceel bevinden zich geen andere adressen. De laatste wijziging in het de Basisregistratie Kadaster (BRK) was op 10-07-2003.
Er is geen energielabel geregistreerd voor het adres. Het hoogste energielabel in de straat is D; het laagste is G. Het gemiddelde energielabel is er E. Het adres Hovinghoek 6 heeft als status: 'verblijfsobject in gebruik'. Het pand waarin dit adres ligt heeft als status: 'pand in gebruik'.
Hovinghoek 6 is een adres gelegen in de gemeente Coevorden, provincie Drenthe. Dit adres is geregistreerd in de Basisregistratie Adressen en Gebouwen (BAG) met als unieke identificatie 0109010000005066.
Het pand op Hovinghoek 6 is gebouwd in 1892, wat betekent dat het 134 jaar oud is. Dit is een ouder pand. Het pand heeft mogelijk aanzienlijke renovaties nodig om aan de huidige standaarden te voldoen.
De woning op Hovinghoek 6 heeft een gebruiksoppervlakte van 224 m². Dit is ruim vergeleken met de gemiddelde Nederlandse woning, die een oppervlakte heeft van ongeveer 119 m². De gebruiksoppervlakte is de maat die wordt gebruikt in de BAG-registratie, de landelijke registratie van de Nederlandse overheid.
Hovinghoek 6 heeft als functie: wonen. Deze gebruiksfunctie(s) zijn vastgelegd in de BAG-registratie en geven aan waarvoor het adres officieel mag worden gebruikt.
Hovinghoek 6 is gelegen op kadastraal perceel ZLO00R332. Deze kadastrale aanduiding is uniek en wordt gebruikt door het Kadaster om eigendomsrechten en andere zakelijke rechten vast te leggen. Het perceel maakt onderdeel uit van de kadastrale gemeente Zweeloo.
Het perceel waarop Hovinghoek 6 staat heeft een oppervlakte van 4375 m². Dit is een zeer groot perceel. De perceeloppervlakte wordt geregistreerd door het Kadaster. Gedetailleerde informatie over de maten van dit perceel kunt u vinden in het rapport Kadastrale kaart met maatvoering van Hovinghoek 6.
De eigenaar van Hovinghoek 6 is op te vragen op deze pagina.
De informatie over dit adres is afkomstig uit officiële overheidsregistraties, voornamelijk de Basisregistratie Adressen en Gebouwen (BAG) en de Basisregistratie Kadaster (BRK). Deze gegevens worden beheerd door respectievelijk gemeenten en het Kadaster, en worden regelmatig bijgewerkt. Energielabelgegevens komen uit de database van de Rijksdienst voor Ondernemend Nederland (RVO).
