
Het adres de Loo 6 bevindt zich in de plaats Mierlo, in de gemeente Mierlo en de provincie Noord-Brabant. De oppervlakte bedraagt 342 m², waarmee het adres groter dan gemiddeld is. De grootte van het perceel waarop het adres ligt is 15,1 ha. In vergelijking met de andere adressen in de straat is de oppervlakte van dit object relatief groot. Het grootste verblijfsobject heeft een oppervlakte van 780 m², de oppervlakte van het kleinste object bedraagt 7 m². Het adres de Loo 6 ligt in een relatief oud pand uit het jaar null. Panden van vóór het jaar 1965 hebben we hier geclassificeerd als oud. Dit is het oudste object in de straat. Het nieuwste pand komt uit 2021 en het gemiddelde bouwjaar in de straat is 1997. Het verblijfsobject heeft de volgende gebruiksdoelen: 'standplaats'.
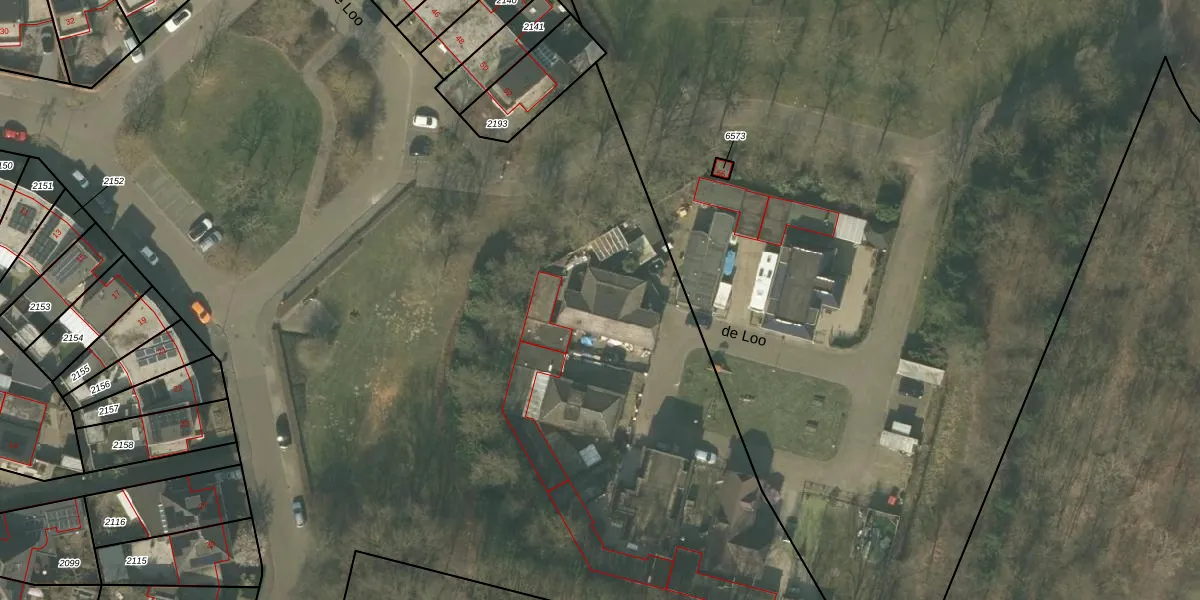
Het perceel waarop het adres ligt is MLO01-E-2314. De afkorting 'MLO01' staat voor kadastrale gemeente Mierlo. De gemiddelde perceeloppervlakte in de kadastrale gemeente Mierlo is 3051,34 m². Dit perceel is met zijn 15,1 ha dus groter dan gemiddeld. De grootste perceeloppervlakte in de kadastrale gemeente is 1,20 km². De kleinste oppervlakte bedraagt 0 m². Op het perceel zijn 4 adressen aanwezig. In de Basisregistratie Kadaster (BRK) werden de grenzen van het perceel geregistreerd op 13-04-2026.
Er is geen energielabel geregistreerd voor het adres. Het hoogste energielabel in de straat is A+; het laagste is G. Het gemiddelde energielabel is er A. Het adres de Loo 6 heeft als status: 'plaats aangewezen'. Het pand waarin dit adres ligt heeft als status: 'undefined'.
de Loo 6 is een adres gelegen in de gemeente Geldrop-Mierlo, provincie Noord-Brabant. Dit adres is geregistreerd in de Basisregistratie Adressen en Gebouwen (BAG) met als unieke identificatie 1771030000019386.
De woning op de Loo 6 heeft een gebruiksoppervlakte van 342 m². Dit is ruim vergeleken met de gemiddelde Nederlandse woning, die een oppervlakte heeft van ongeveer 119 m². De gebruiksoppervlakte is de maat die wordt gebruikt in de BAG-registratie, de landelijke registratie van de Nederlandse overheid.
de Loo 6 heeft als functie: standplaats. Deze gebruiksfunctie(s) zijn vastgelegd in de BAG-registratie en geven aan waarvoor het adres officieel mag worden gebruikt.
de Loo 6 is gelegen op kadastraal perceel MLO01E2314. Deze kadastrale aanduiding is uniek en wordt gebruikt door het Kadaster om eigendomsrechten en andere zakelijke rechten vast te leggen. Het perceel maakt onderdeel uit van de kadastrale gemeente Mierlo.
Het perceel waarop de Loo 6 staat heeft een oppervlakte van 15,1 ha. Dit is een zeer groot perceel. De perceeloppervlakte wordt geregistreerd door het Kadaster. Gedetailleerde informatie over de maten van dit perceel kunt u vinden in het rapport Kadastrale kaart met maatvoering van de Loo 6.
De eigenaar van de Loo 6 is op te vragen op deze pagina.
De informatie over dit adres is afkomstig uit officiële overheidsregistraties, voornamelijk de Basisregistratie Adressen en Gebouwen (BAG) en de Basisregistratie Kadaster (BRK). Deze gegevens worden beheerd door respectievelijk gemeenten en het Kadaster, en worden regelmatig bijgewerkt. Energielabelgegevens komen uit de database van de Rijksdienst voor Ondernemend Nederland (RVO).
