
Egelmeer 9 is een adres in Milheeze, dat zich bevindt binnen de gemeentegrenzen van Milheeze en de grenzen van de provincie Noord-Brabant. De oppervlakte van het verblijfsobject is met 364 m² aan de grote kant. Het perceel heeft een oppervlakte van 1895 m². In vergelijking met de andere adressen in de straat is de oppervlakte van dit object relatief groot. Het grootste verblijfsobject heeft een oppervlakte van 499 m², de oppervlakte van het kleinste object bedraagt 109 m². Egelmeer 9 ligt in een gebouw uit het jaar 2015. Daarmee behoort het tot de groep panden van na 1984, die we als relatief nieuw bestempelen. Het nieuwste gebouw in de straat komt uit 2023 en het oudste uit 2013. Dit object is relatief oud. Het verblijfsobject heeft de volgende gebruiksdoelen: 'woonfunctie'.
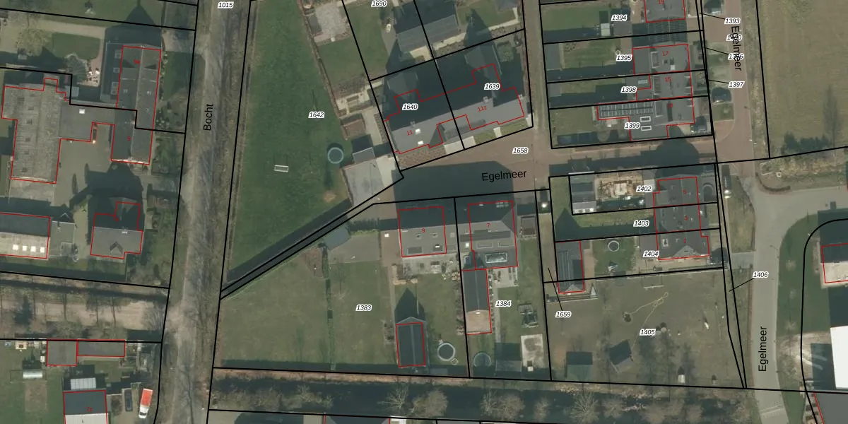
Het perceel waarop het adres ligt is BKL02-B-1383. De afkorting 'BKL02' staat voor kadastrale gemeente Bakel en Milheeze. Het perceel is kleiner dan gemiddeld in Bakel en Milheeze. Het perceel is 1895 m² groot, terwijl het gemiddelde ligt op 9019,35 m². Het grootste perceel in de kadastrale gemeente is 1,18 km². Het kleinste perceel heeft een oppervlakte van 0 m². Op het perceel bevinden zich geen andere adressen. De huidige grenzen van het perceel zijn digitaal in de Basisregistratie Kadaster (BRK) geregistreerd op 03-07-2012.
Er is geen energielabel geregistreerd voor het adres. Het hoogste energielabel in de straat is A; het laagste is G. Het gemiddelde energielabel is er A. Het adres Egelmeer 9 heeft als status: 'verblijfsobject in gebruik'. Het pand waarin dit adres ligt heeft als status: 'pand in gebruik'.
Egelmeer 9 is een adres gelegen in de gemeente Gemert-Bakel, provincie Noord-Brabant. Dit adres is geregistreerd in de Basisregistratie Adressen en Gebouwen (BAG) met als unieke identificatie 1652010000013613.
Het pand op Egelmeer 9 is gebouwd in 2015, wat betekent dat het 11 jaar oud is. Dit is een relatief modern pand. Ten opzichte van de nationale woningvoorraad is het pand relatief modern, maar er kunnen enkele verouderde elementen zijn die aandacht nodig hebben.
De woning op Egelmeer 9 heeft een gebruiksoppervlakte van 364 m². Dit is ruim vergeleken met de gemiddelde Nederlandse woning, die een oppervlakte heeft van ongeveer 119 m². De gebruiksoppervlakte is de maat die wordt gebruikt in de BAG-registratie, de landelijke registratie van de Nederlandse overheid.
Egelmeer 9 heeft als functie: wonen. Deze gebruiksfunctie(s) zijn vastgelegd in de BAG-registratie en geven aan waarvoor het adres officieel mag worden gebruikt.
Egelmeer 9 is gelegen op kadastraal perceel BKL02B1383. Deze kadastrale aanduiding is uniek en wordt gebruikt door het Kadaster om eigendomsrechten en andere zakelijke rechten vast te leggen. Het perceel maakt onderdeel uit van de kadastrale gemeente Bakel en Milheeze.
Het perceel waarop Egelmeer 9 staat heeft een oppervlakte van 1895 m². Dit is een zeer groot perceel. De perceeloppervlakte wordt geregistreerd door het Kadaster. Gedetailleerde informatie over de maten van dit perceel kunt u vinden in het rapport Kadastrale kaart met maatvoering van Egelmeer 9.
De eigenaar van Egelmeer 9 is op te vragen op deze pagina.
De informatie over dit adres is afkomstig uit officiële overheidsregistraties, voornamelijk de Basisregistratie Adressen en Gebouwen (BAG) en de Basisregistratie Kadaster (BRK). Deze gegevens worden beheerd door respectievelijk gemeenten en het Kadaster, en worden regelmatig bijgewerkt. Energielabelgegevens komen uit de database van de Rijksdienst voor Ondernemend Nederland (RVO).
