
Het adres Zandstraat 1-B bevindt zich in de plaats Moergestel, in de gemeente Moergestel en de provincie Noord-Brabant. Het object heeft een oppervlakte van 310 m², wat relatief groot is. Het perceel waarop het adres ligt is 3900 m² groot. In vergelijking met de andere adressen in de straat is de oppervlakte van dit object relatief groot. Het grootste verblijfsobject heeft een oppervlakte van 1562 m², de oppervlakte van het kleinste object bedraagt 67 m². Het gebouw waarin Zandstraat 1-B ligt komt uit het jaar 1908. Objecten die gebouwd zijn vóór 1965 classificeren we hier als oud. Het bouwjaar is oud vergeleken met dat van de andere panden in de straat. Het oudste bouwjaar is er 1900 en de nieuwste is 2025. De volgende gebruiksdoelen zijn geregistreerd voor dit adres: 'woonfunctie'.
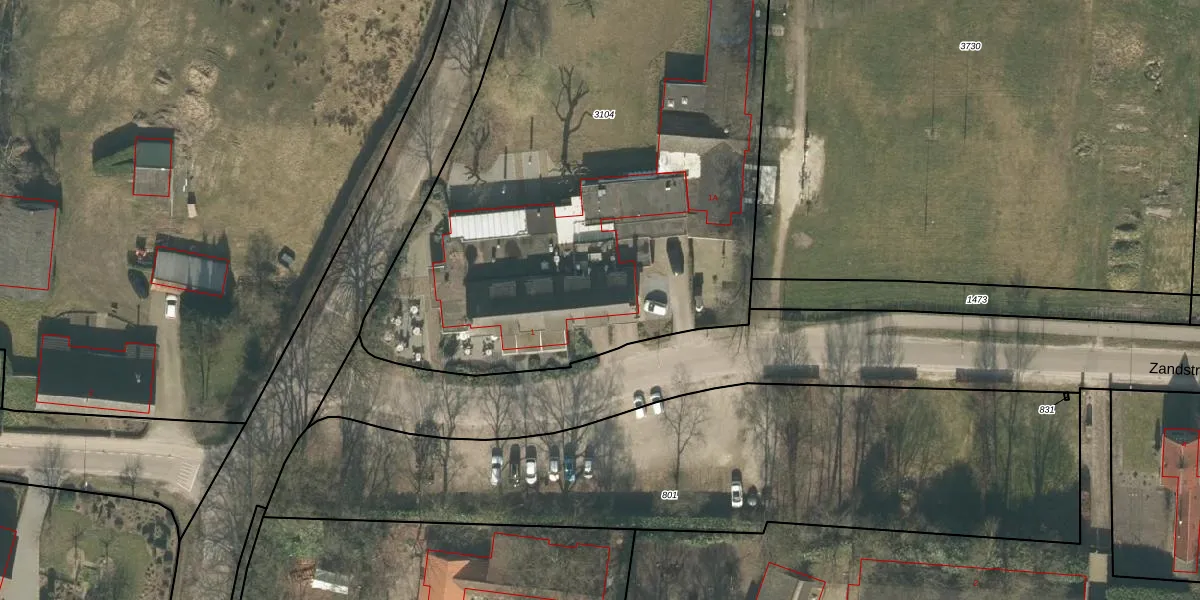
Het perceel waarop het adres ligt is MGT01-B-3104. De afkorting 'MGT01' staat voor kadastrale gemeente Moergestel. De oppervlakte van het perceel is 3900 m². Dat is groter dan gemiddeld in Moergestel, waar de gemiddelde perceeloppervlakte op 2669,26 m² ligt. Het kleinste perceel in de kadastrale gemeente is 0 m² groot. De grootste perceeloppervlakte is 51,1 ha. Er zijn 3 adressen aanwezig op het perceel. In de Basisregistratie Kadaster (BRK) werden de grenzen van het perceel geregistreerd op 14-06-2010.
Er is geen energielabel geregistreerd voor het adres. Het hoogste energielabel in de straat is A+++; het laagste is G. Het gemiddelde energielabel is er B. Het adres Zandstraat 1-B heeft als status: 'verblijfsobject in gebruik'. Het pand waarin dit adres ligt heeft als status: 'pand in gebruik'.
Zandstraat 1-B is een adres gelegen in de gemeente Oisterwijk, provincie Noord-Brabant. Dit adres is geregistreerd in de Basisregistratie Adressen en Gebouwen (BAG) met als unieke identificatie 0824010000014805.
Het pand op Zandstraat 1-B is gebouwd in 1908, wat betekent dat het 118 jaar oud is. Dit is een ouder pand. Het pand heeft mogelijk aanzienlijke renovaties nodig om aan de huidige standaarden te voldoen.
De woning op Zandstraat 1-B heeft een gebruiksoppervlakte van 310 m². Dit is ruim vergeleken met de gemiddelde Nederlandse woning, die een oppervlakte heeft van ongeveer 119 m². De gebruiksoppervlakte is de maat die wordt gebruikt in de BAG-registratie, de landelijke registratie van de Nederlandse overheid.
Zandstraat 1-B heeft als functie: wonen. Deze gebruiksfunctie(s) zijn vastgelegd in de BAG-registratie en geven aan waarvoor het adres officieel mag worden gebruikt.
Zandstraat 1-B is gelegen op kadastraal perceel MGT01B3104. Deze kadastrale aanduiding is uniek en wordt gebruikt door het Kadaster om eigendomsrechten en andere zakelijke rechten vast te leggen. Het perceel maakt onderdeel uit van de kadastrale gemeente Moergestel.
Het perceel waarop Zandstraat 1-B staat heeft een oppervlakte van 3900 m². Dit is een zeer groot perceel. De perceeloppervlakte wordt geregistreerd door het Kadaster. Gedetailleerde informatie over de maten van dit perceel kunt u vinden in het rapport Kadastrale kaart met maatvoering van Zandstraat 1-B.
De eigenaar van Zandstraat 1-B is op te vragen op deze pagina.
De informatie over dit adres is afkomstig uit officiële overheidsregistraties, voornamelijk de Basisregistratie Adressen en Gebouwen (BAG) en de Basisregistratie Kadaster (BRK). Deze gegevens worden beheerd door respectievelijk gemeenten en het Kadaster, en worden regelmatig bijgewerkt. Energielabelgegevens komen uit de database van de Rijksdienst voor Ondernemend Nederland (RVO).
