
Groesbeekseweg 23 is gelegen in de plaats Mook, de gemeente Mook en Middelaar en de provincie Limburg. De oppervlakte van het verblijfsobject is met 215 m² aan de grote kant. Het perceel heeft een oppervlakte van 1390 m². Vergeleken met de andere verblijfsobjecten in de straat is dit object groot. De oppervlakte van het grootste object in de straat is 1668 m², die van het kleinste bedraagt 18 m². In het jaar 1988 is het pand waarin Groesbeekseweg 23 ligt gebouwd. Dat is relatief recent: de meeste gebouwen in Nederland zijn gebouwd in de periode 1965-1984. Het nieuwste gebouw in de straat komt uit 2024 en het oudste uit 1900. Dit object is relatief oud. Voor het verblijfsobject gelden deze gebruiksdoelen: 'woonfunctie'.
Deze woning is voor het laatst verkocht op 1 maart 2023. Meer informatie over deze transactie? Bestel het Woningtransactierapport om de verkoopprijs en andere informatie te zien.
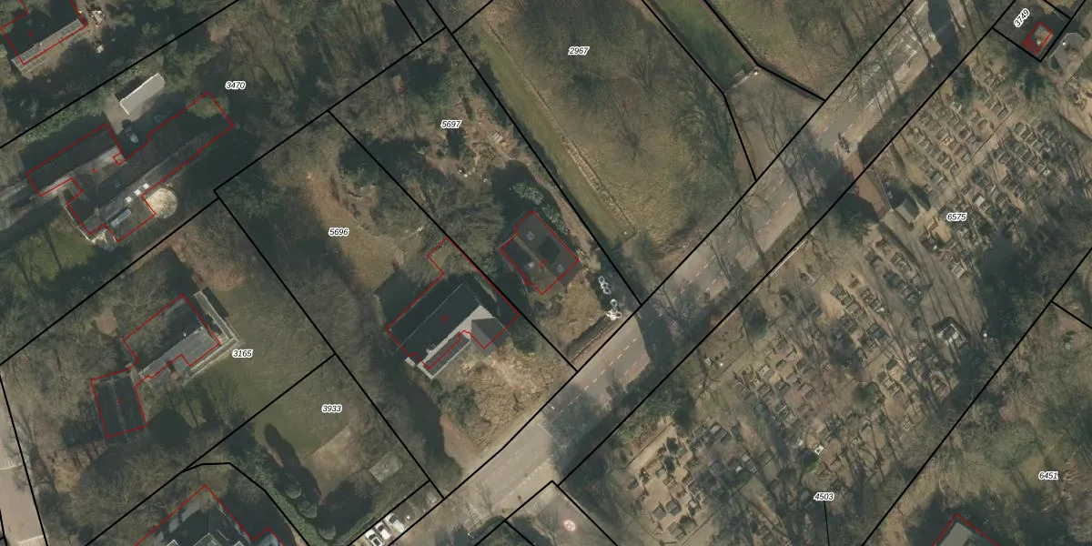
Het adres is gelegen op perceel 5697 in de sectie A en de kadastrale gemeente Mook en Middelaar. De kadastrale aanduiding is aldus MOO00-A-5697. De gemiddelde perceelgrootte in Mook en Middelaar is 3464,11 m². Dit perceel is kleiner: de perceeloppervlakte bedraagt 1390 m². De grootste perceeloppervlakte in de kadastrale gemeente is 79,6 ha. De kleinste oppervlakte bedraagt 0 m². Op het perceel bevinden zich geen andere adressen. De laatste wijziging in het de Basisregistratie Kadaster (BRK) was op 25-08-2006.
Het adres ligt in een gebouw van het type 'vrijstaande woning'. Bij de laatste meting is voor het adres het energielabel A geregistreerd. Het hoogste energielabel in de straat is A+++; het laagste is G. Het gemiddelde energielabel is er A. Het adres Groesbeekseweg 23 heeft als status: 'verbouwing verblijfsobject'. Het pand waarin dit adres ligt heeft als status: 'pand in gebruik'.
Groesbeekseweg 23 is een adres gelegen in de gemeente Mook en Middelaar, provincie Limburg. Dit adres is geregistreerd in de Basisregistratie Adressen en Gebouwen (BAG) met als unieke identificatie 0944010000208694.
Het pand op Groesbeekseweg 23 is gebouwd in 1988, wat betekent dat het 38 jaar oud is. Dit is een pand van middelbare leeftijd. Het pand is van gemiddelde leeftijd en zal waarschijnlijk verouderde elementen bevatten.
De woning op Groesbeekseweg 23 heeft een gebruiksoppervlakte van 215 m². Dit is ruim vergeleken met de gemiddelde Nederlandse woning, die een oppervlakte heeft van ongeveer 119 m². De gebruiksoppervlakte is de maat die wordt gebruikt in de BAG-registratie, de landelijke registratie van de Nederlandse overheid.
Groesbeekseweg 23 heeft als functie: wonen. Deze gebruiksfunctie(s) zijn vastgelegd in de BAG-registratie en geven aan waarvoor het adres officieel mag worden gebruikt.
Groesbeekseweg 23 is gelegen op kadastraal perceel MOO00A5697. Deze kadastrale aanduiding is uniek en wordt gebruikt door het Kadaster om eigendomsrechten en andere zakelijke rechten vast te leggen. Het perceel maakt onderdeel uit van de kadastrale gemeente Mook en Middelaar.
Het perceel waarop Groesbeekseweg 23 staat heeft een oppervlakte van 1390 m². Dit is een zeer groot perceel. De perceeloppervlakte wordt geregistreerd door het Kadaster. Gedetailleerde informatie over de maten van dit perceel kunt u vinden in het rapport Kadastrale kaart met maatvoering van Groesbeekseweg 23.
De eigenaar van Groesbeekseweg 23 is op te vragen op deze pagina.
De informatie over dit adres is afkomstig uit officiële overheidsregistraties, voornamelijk de Basisregistratie Adressen en Gebouwen (BAG) en de Basisregistratie Kadaster (BRK). Deze gegevens worden beheerd door respectievelijk gemeenten en het Kadaster, en worden regelmatig bijgewerkt. Energielabelgegevens komen uit de database van de Rijksdienst voor Ondernemend Nederland (RVO).
