Product Functies Prijzen Meer

Adressen

Gebruik de zoekbalk of klik op een perceel voor informatie over de adressen binnen dit perceel.
Locatie
Meten
Lagen
Download

Kopstukken 8

9584TG, Mussel

€ 1519312 Wat moet ik bieden voor deze woning?
172 m²
woonfunctie +1
2.425 m² perceeloppervlakte
G

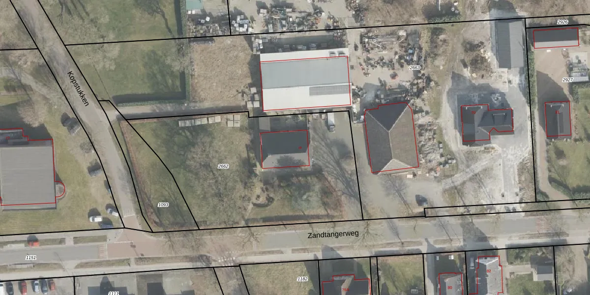
Kopstukken 8 is gelegen in de plaats Mussel, de gemeente Stadskanaal en de provincie Groningen. De oppervlakte van het verblijfsobject is met 172 m² aan de grote kant. Het perceel heeft een oppervlakte van 2425 m². Vergeleken met de andere verblijfsobjecten in de straat is dit object groot. De oppervlakte van het grootste object in de straat is 320 m², die van het kleinste bedraagt 74 m². Kopstukken 8 bevindt zich in een pand uit het jaar 1900. Daarmee behoort het tot de groep relatief oude panden in Nederland die gebouwd zijn vóór 1965. Het nieuwste gebouw in de straat komt uit 2021 en het oudste uit 1875. Dit object is relatief oud. Voor het verblijfsobject gelden deze gebruiksdoelen: 'woonfunctie' en 'industriefunctie'.

Verkoopdata beschikbaar

Deze woning is voor het laatst verkocht op 1 september 2015. Meer informatie over deze transactie? Bestel het Woningtransactierapport om de verkoopprijs en andere informatie te zien.

Perceel

Het adres is gelegen op perceel 2662 in de sectie W en de kadastrale gemeente Onstwedde. De kadastrale aanduiding is aldus OWD00-W-2662. De gemiddelde perceelgrootte in Onstwedde is 6380,93 m². Dit perceel is kleiner: de perceeloppervlakte bedraagt 2425 m². Het grootste perceel in de kadastrale gemeente is 1,07 km². Het kleinste perceel heeft een oppervlakte van 0 m². Op het perceel bevinden zich geen andere adressen. De laatste wijziging in het de Basisregistratie Kadaster (BRK) was op 22-08-2014.

Energielabel en status

Het adres ligt in een gebouw van het type 'vrijstaande woning'. Bij de laatste meting is voor het adres het energielabel G geregistreerd. Het hoogste energielabel in de straat is A+; het laagste is G. Het gemiddelde energielabel is er D. Het adres Kopstukken 8 heeft als status: 'verblijfsobject in gebruik'. Het pand waarin dit adres ligt heeft als status: 'pand in gebruik'.

Meer lezen

Adres

Gebruiksoppervlakte
172 m²
Bruto vloeroppervlakte
yH Y4B5vI20 FU0YEUpgrade naar KadastraleKaart Pro
Gebruiksdoel(en)
Woonfunctie, Industriefunctie
Status
Verblijfsobject in gebruik
Type
Vrijstaande woning
Gasloos
oqXI1HrSTP aHJUpgrade naar KadastraleKaart Pro
Gebeurtenissen
Appartementsrechten
3WG49 xqsbDUeX9xMFVUpgrade naar KadastraleKaart Pro
Eigenaar
Eigendomsinformatie 12,95
Adresinformatie bestellen
Adrespakket 34,95
VBO ID
0037010000359909
Woning laatst verkocht in
2015 -
Verkoopprijs opvragen 8,95

Pand

Bouwjaar pand
1900
Aantal adressen in dit gebouw
1 adres
Hoogte pand
tbkT ddGmf qxDHLIUpgrade naar KadastraleKaart Pro
Aantal bouwlagen (schatting)
J4XIsELC8xMmUpgrade naar KadastraleKaart Pro
Volume
mubJcT8Ziiu1KfsOsUpgrade naar KadastraleKaart Pro
Oppervlakte dak
rln4jgWagLNUpgrade naar KadastraleKaart Pro
Oppervlakte buitenmuur
ySVVDtCchdr6emQn29N7u9gUpgrade naar KadastraleKaart Pro
Status pand
Pand in gebruik
Pand ID
0037100000013814

Perceel

Kadastrale aanduiding
Onstwedde W 2662 (OWD00 W 2662)
Oppervlakte
2.425 m²
Maatvoering
Kadastrale kaart met maatvoering 59,95
Omtrek
216 meter
Datum laatst gewijzigd
22/08/2014
Aantal adressen op perceel
1
Hoogte boven N.A.P.
Nnlmx HP 43i SdUmUpgrade naar KadastraleKaart Pro

Veelgestelde vragen

Kopstukken 8 is een adres gelegen in de gemeente Stadskanaal, provincie Groningen. Dit adres is geregistreerd in de Basisregistratie Adressen en Gebouwen (BAG) met als unieke identificatie 0037010000359909.

Het pand op Kopstukken 8 is gebouwd in 1900, wat betekent dat het 126 jaar oud is. Dit is een ouder pand. Het pand heeft mogelijk aanzienlijke renovaties nodig om aan de huidige standaarden te voldoen.

De woning op Kopstukken 8 heeft een gebruiksoppervlakte van 172 m². Dit is ruim vergeleken met de gemiddelde Nederlandse woning, die een oppervlakte heeft van ongeveer 119 m². De gebruiksoppervlakte is de maat die wordt gebruikt in de BAG-registratie, de landelijke registratie van de Nederlandse overheid.

Kopstukken 8 heeft als functie: wonen en industrie. Deze gebruiksfunctie(s) zijn vastgelegd in de BAG-registratie en geven aan waarvoor het adres officieel mag worden gebruikt.

Kopstukken 8 is gelegen op kadastraal perceel OWD00W2662. Deze kadastrale aanduiding is uniek en wordt gebruikt door het Kadaster om eigendomsrechten en andere zakelijke rechten vast te leggen. Het perceel maakt onderdeel uit van de kadastrale gemeente Onstwedde.

Het perceel waarop Kopstukken 8 staat heeft een oppervlakte van 2425 m². Dit is een zeer groot perceel. De perceeloppervlakte wordt geregistreerd door het Kadaster. Gedetailleerde informatie over de maten van dit perceel kunt u vinden in het rapport Kadastrale kaart met maatvoering van Kopstukken 8.

De eigenaar van Kopstukken 8 is op te vragen op deze pagina.

De informatie over dit adres is afkomstig uit officiële overheidsregistraties, voornamelijk de Basisregistratie Adressen en Gebouwen (BAG) en de Basisregistratie Kadaster (BRK). Deze gegevens worden beheerd door respectievelijk gemeenten en het Kadaster, en worden regelmatig bijgewerkt. Energielabelgegevens komen uit de database van de Rijksdienst voor Ondernemend Nederland (RVO).

Maatvoeringsrapport

Wie is de eigenaar?

Bekijk de eigenaar van Kopstukken 8 met de eigendomsinformatie.
Bekijk de eigenaar van dit adres.
Maatvoeringsrapport

Maatvoering van het perceel

Bestel de maatvoering voor Kopstukken 8 met het maatvoeringsrapport.
Bestel de maatvoering voor dit adres.

360°-foto's van de omgeving

Google Street View
Upgrade nu voor 360° Street View foto's

Zon en schaduw rondom adres

Buurt
Mussel Buitengebied
Inwoners: 135
Woningen: 51
Wijk
Mussel
Inwoners: 1.525
Woningen: 611
Gemeente
Stadskanaal
Inwoners: 32.013
Woningen: 15.170