
Hollestraat 42 is gelegen in de plaats Nederasselt, de gemeente Heumen en de provincie Gelderland. Het perceel waarop het verblijfsobject staat is 3,4 ha groot. De oppervlakte van het adres is 130 m², wat zich rond het Nederlandse gemiddelde van 119 m² bevindt. Het object is klein ten opzichte van de andere adressen in de straat. Het grootste verblijfsobject is 671 m² groot en het kleinste is 7 m². Hollestraat 42 bevindt zich in een pand uit het jaar 1956. Daarmee behoort het tot de groep relatief oude panden in Nederland die gebouwd zijn vóór 1965. In de straat komt het nieuwste gebouw uit het jaar 2025 en het oudste uit 1790. Het bouwjaar van dit object is relatief oud. Het verblijfsobject heeft de volgende gebruiksdoelen: 'bijeenkomstfunctie'.
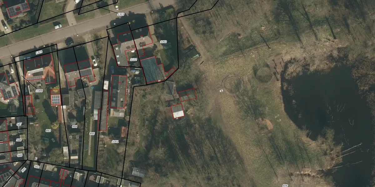
Het perceel waarop het adres ligt is NDA00-D-606. De afkorting 'NDA00' staat voor kadastrale gemeente Nederasselt. De gemiddelde perceeloppervlakte in de kadastrale gemeente Nederasselt is 7625,91 m². Dit perceel is met zijn 3,4 ha dus groter dan gemiddeld. Het grootste perceel in de kadastrale gemeente is 20,0 ha. Het kleinste perceel heeft een oppervlakte van 0 m². Er zijn geen andere adressen aanwezig op het perceel. De laatste wijziging in het de Basisregistratie Kadaster (BRK) was op 29-01-2019.
Er is geen energielabel geregistreerd voor het adres. Het hoogste energielabel in de straat is A; het laagste is G. Het gemiddelde energielabel is er C. Het adres Hollestraat 42 heeft als status: 'verblijfsobject in gebruik'. Het pand waarin dit adres ligt heeft als status: 'pand in gebruik'.
Hollestraat 42 is een adres gelegen in de gemeente Heumen, provincie Gelderland. Dit adres is geregistreerd in de Basisregistratie Adressen en Gebouwen (BAG) met als unieke identificatie 0252010000018348.
Het pand op Hollestraat 42 is gebouwd in 1956, wat betekent dat het 70 jaar oud is. Dit is een ouder pand. Het pand heeft mogelijk aanzienlijke renovaties nodig om aan de huidige standaarden te voldoen.
De woning op Hollestraat 42 heeft een gebruiksoppervlakte van 130 m². Dit is gemiddeld vergeleken met de gemiddelde Nederlandse woning, die een oppervlakte heeft van ongeveer 119 m². De gebruiksoppervlakte is de maat die wordt gebruikt in de BAG-registratie, de landelijke registratie van de Nederlandse overheid.
Hollestraat 42 heeft als functie: bijeenkomsten. Deze gebruiksfunctie(s) zijn vastgelegd in de BAG-registratie en geven aan waarvoor het adres officieel mag worden gebruikt.
Hollestraat 42 is gelegen op kadastraal perceel NDA00D606. Deze kadastrale aanduiding is uniek en wordt gebruikt door het Kadaster om eigendomsrechten en andere zakelijke rechten vast te leggen. Het perceel maakt onderdeel uit van de kadastrale gemeente Nederasselt.
Het perceel waarop Hollestraat 42 staat heeft een oppervlakte van 3,4 ha. Dit is een zeer groot perceel. De perceeloppervlakte wordt geregistreerd door het Kadaster. Gedetailleerde informatie over de maten van dit perceel kunt u vinden in het rapport Kadastrale kaart met maatvoering van Hollestraat 42.
De eigenaar van Hollestraat 42 is op te vragen op deze pagina.
De informatie over dit adres is afkomstig uit officiële overheidsregistraties, voornamelijk de Basisregistratie Adressen en Gebouwen (BAG) en de Basisregistratie Kadaster (BRK). Deze gegevens worden beheerd door respectievelijk gemeenten en het Kadaster, en worden regelmatig bijgewerkt. Energielabelgegevens komen uit de database van de Rijksdienst voor Ondernemend Nederland (RVO).
