
Haaksbergseweg 103 is een adres in Neede, dat zich bevindt binnen de gemeentegrenzen van Neede en de grenzen van de provincie Gelderland. Het object heeft een oppervlakte van 300 m², wat relatief groot is. Het perceel waarop het adres ligt is 6062 m² groot. De oppervlakte van dit adres is groot vergeleken met de oppervlaktes van andere adressen in de straat. De kleinste oppervlakte bedraagt er 3 m², de grootste 976 m². In Nederland komt het grootste deel van de gebouwen uit de periode 1965-1984. Ook het bouwjaar van Haaksbergseweg 103 is afkomstig uit die periode: het betreft namelijk een pand uit 1975. Vergeleken met de andere panden in de straat is dit gebouw nieuw. Het vroegste bouwjaar is er 1885 en het laatste is 2022. Het verblijfsobject heeft de volgende gebruiksdoelen: 'woonfunctie'.
Deze woning is voor het laatst verkocht op 1 augustus 2006. Meer informatie over deze transactie? Bestel het Woningtransactierapport om de verkoopprijs en andere informatie te zien.
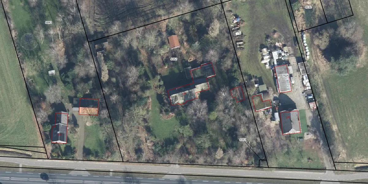
Het adres ligt op het perceel NDE00-C-9352, dat zich in de kadastrale gemeente Neede bevindt. De gemiddelde perceeloppervlakte in de kadastrale gemeente Neede is 5381,02 m². Dit perceel is met zijn 6062 m² dus groter dan gemiddeld. Het grootste perceel in de kadastrale gemeente is 26,2 ha. Het kleinste perceel heeft een oppervlakte van 0 m². Dit is het enige adres dat aanwezig is op het perceel. De huidige grenzen van het perceel zijn digitaal in de Basisregistratie Kadaster (BRK) geregistreerd op 16-04-2007.
Het adres ligt in een gebouw van het type 'vrijstaande woning'. Bij de laatste meting is voor het adres het energielabel C geregistreerd. Het hoogste energielabel in de straat is A+++; het laagste is G. Het gemiddelde energielabel is er C. Het adres Haaksbergseweg 103 heeft als status: 'verblijfsobject in gebruik'. Het pand waarin dit adres ligt heeft als status: 'pand in gebruik'.
Haaksbergseweg 103 is een adres gelegen in de gemeente Berkelland, provincie Gelderland. Dit adres is geregistreerd in de Basisregistratie Adressen en Gebouwen (BAG) met als unieke identificatie 1859010000810045.
Het pand op Haaksbergseweg 103 is gebouwd in 1975, wat betekent dat het 51 jaar oud is. Dit is een ouder pand. Het pand heeft mogelijk aanzienlijke renovaties nodig om aan de huidige standaarden te voldoen.
De woning op Haaksbergseweg 103 heeft een gebruiksoppervlakte van 300 m². Dit is ruim vergeleken met de gemiddelde Nederlandse woning, die een oppervlakte heeft van ongeveer 119 m². De gebruiksoppervlakte is de maat die wordt gebruikt in de BAG-registratie, de landelijke registratie van de Nederlandse overheid.
Haaksbergseweg 103 heeft als functie: wonen. Deze gebruiksfunctie(s) zijn vastgelegd in de BAG-registratie en geven aan waarvoor het adres officieel mag worden gebruikt.
Haaksbergseweg 103 is gelegen op kadastraal perceel NDE00C9352. Deze kadastrale aanduiding is uniek en wordt gebruikt door het Kadaster om eigendomsrechten en andere zakelijke rechten vast te leggen. Het perceel maakt onderdeel uit van de kadastrale gemeente Neede.
Het perceel waarop Haaksbergseweg 103 staat heeft een oppervlakte van 6062 m². Dit is een zeer groot perceel. De perceeloppervlakte wordt geregistreerd door het Kadaster. Gedetailleerde informatie over de maten van dit perceel kunt u vinden in het rapport Kadastrale kaart met maatvoering van Haaksbergseweg 103.
De eigenaar van Haaksbergseweg 103 is op te vragen op deze pagina.
De informatie over dit adres is afkomstig uit officiële overheidsregistraties, voornamelijk de Basisregistratie Adressen en Gebouwen (BAG) en de Basisregistratie Kadaster (BRK). Deze gegevens worden beheerd door respectievelijk gemeenten en het Kadaster, en worden regelmatig bijgewerkt. Energielabelgegevens komen uit de database van de Rijksdienst voor Ondernemend Nederland (RVO).
