
Het adres Jan van Eijckweg 7 bevindt zich in de plaats Nes, in de gemeente Nes en de provincie Friesland. Het perceel waarop het verblijfsobject staat is 3410 m² groot. De oppervlakte van het adres is 143 m², wat zich rond het Nederlandse gemiddelde van 119 m² bevindt. Het object is klein ten opzichte van de andere adressen in de straat. Het grootste verblijfsobject is 1098 m² groot en het kleinste is 3 m². De meeste Nederlandse gebouwen zijn gebouwd in de periode 1965-1984. Zo ook het pand waarin Jan van Eijckweg 7 ligt, dat gebouwd is in 1976. In de straat komt het nieuwste gebouw uit het jaar 2000 en het oudste uit 1930. Het bouwjaar van dit object is relatief oud. Het verblijfsobject heeft de volgende gebruiksdoelen: 'woonfunctie'.
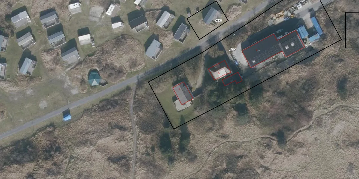
Het perceel waarop het adres ligt is NES01-A-4583. De afkorting 'NES01' staat voor kadastrale gemeente Nes Ameland. Het perceel is kleiner dan gemiddeld in Nes Ameland. Het perceel is 3410 m² groot, terwijl het gemiddelde ligt op 7,0 ha. De grootste perceeloppervlakte in de kadastrale gemeente is 58,73 km². De kleinste oppervlakte bedraagt 1 m². Op het perceel zijn 3 adressen aanwezig. In de Basisregistratie Kadaster (BRK) werden de grenzen van het perceel geregistreerd op 30-06-2005.
Het adres ligt in een gebouw van het type 'vrijstaande woning'. Bij de laatste meting is voor het adres het energielabel D geregistreerd. Het hoogste energielabel in de straat is A+; het laagste is G. Het gemiddelde energielabel is er C. Het adres Jan van Eijckweg 7 heeft als status: 'verblijfsobject in gebruik'. Het pand waarin dit adres ligt heeft als status: 'pand in gebruik'.
Jan van Eijckweg 7 is een adres gelegen in de gemeente Ameland, provincie Friesland. Dit adres is geregistreerd in de Basisregistratie Adressen en Gebouwen (BAG) met als unieke identificatie 0060010000134420.
Het pand op Jan van Eijckweg 7 is gebouwd in 1976, wat betekent dat het 50 jaar oud is. Dit is een ouder pand. Het pand heeft mogelijk aanzienlijke renovaties nodig om aan de huidige standaarden te voldoen.
De woning op Jan van Eijckweg 7 heeft een gebruiksoppervlakte van 143 m². Dit is gemiddeld vergeleken met de gemiddelde Nederlandse woning, die een oppervlakte heeft van ongeveer 119 m². De gebruiksoppervlakte is de maat die wordt gebruikt in de BAG-registratie, de landelijke registratie van de Nederlandse overheid.
Jan van Eijckweg 7 heeft als functie: wonen. Deze gebruiksfunctie(s) zijn vastgelegd in de BAG-registratie en geven aan waarvoor het adres officieel mag worden gebruikt.
Jan van Eijckweg 7 is gelegen op kadastraal perceel NES01A4583. Deze kadastrale aanduiding is uniek en wordt gebruikt door het Kadaster om eigendomsrechten en andere zakelijke rechten vast te leggen. Het perceel maakt onderdeel uit van de kadastrale gemeente Nes Ameland.
Het perceel waarop Jan van Eijckweg 7 staat heeft een oppervlakte van 3410 m². Dit is een zeer groot perceel. De perceeloppervlakte wordt geregistreerd door het Kadaster. Gedetailleerde informatie over de maten van dit perceel kunt u vinden in het rapport Kadastrale kaart met maatvoering van Jan van Eijckweg 7.
De eigenaar van Jan van Eijckweg 7 is op te vragen op deze pagina.
De informatie over dit adres is afkomstig uit officiële overheidsregistraties, voornamelijk de Basisregistratie Adressen en Gebouwen (BAG) en de Basisregistratie Kadaster (BRK). Deze gegevens worden beheerd door respectievelijk gemeenten en het Kadaster, en worden regelmatig bijgewerkt. Energielabelgegevens komen uit de database van de Rijksdienst voor Ondernemend Nederland (RVO).
