
Het adres Rijksweg 142 bevindt zich in de plaats Nieuwendijk, in de gemeente Nieuwendijk en de provincie Noord-Brabant. Het verblijfsobject is 108 m² groot en bevindt zich op een perceel met een oppervlakte van 960 m². Gemiddeld hebben adressen in Nederland een oppervlakte van 119 m². Het adres is klein vergeleken met andere objecten in de straat. Het grootste object in de straat heeft een oppervlakte van 1790 m², het kleinste is 8 m² groot. Het gebouw waarin Rijksweg 142 ligt komt uit het jaar 1935. Objecten die gebouwd zijn vóór 1965 classificeren we hier als oud. Het bouwjaar is oud vergeleken met dat van de andere panden in de straat. Het oudste bouwjaar is er 1735 en de nieuwste is 2025. Voor het verblijfsobject gelden deze gebruiksdoelen: 'woonfunctie'.
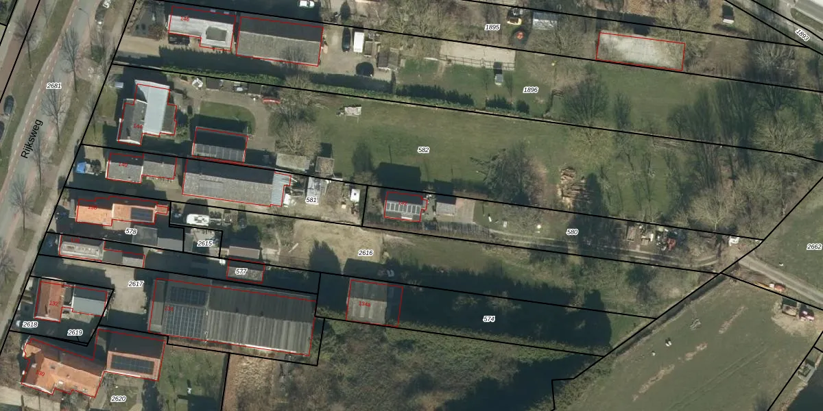
Het adres ligt op het perceel WKD00-T-580, dat zich in de kadastrale gemeente Werkendam bevindt. De gemiddelde perceelgrootte in Werkendam is 6256,14 m². Dit perceel is kleiner: de perceeloppervlakte bedraagt 960 m². Het kleinste perceel in de kadastrale gemeente is 0 m² groot. De grootste perceeloppervlakte is 2,54 km². Dit is het enige adres dat aanwezig is op het perceel. In de Basisregistratie Kadaster (BRK) werden de grenzen van het perceel geregistreerd op 21-05-2010.
Er is geen energielabel geregistreerd voor het adres. Het hoogste energielabel in de straat is A; het laagste is G. Het gemiddelde energielabel is er C. Het adres Rijksweg 142 heeft als status: 'verblijfsobject in gebruik'. Het pand waarin dit adres ligt heeft als status: 'pand in gebruik'.
Rijksweg 142 is een adres gelegen in de gemeente Altena, provincie Noord-Brabant. Dit adres is geregistreerd in de Basisregistratie Adressen en Gebouwen (BAG) met als unieke identificatie 0870010000003349.
Het pand op Rijksweg 142 is gebouwd in 1935, wat betekent dat het 91 jaar oud is. Dit is een ouder pand. Het pand heeft mogelijk aanzienlijke renovaties nodig om aan de huidige standaarden te voldoen.
De woning op Rijksweg 142 heeft een gebruiksoppervlakte van 108 m². Dit is onder het gemiddelde vergeleken met de gemiddelde Nederlandse woning, die een oppervlakte heeft van ongeveer 119 m². De gebruiksoppervlakte is de maat die wordt gebruikt in de BAG-registratie, de landelijke registratie van de Nederlandse overheid.
Rijksweg 142 heeft als functie: wonen. Deze gebruiksfunctie(s) zijn vastgelegd in de BAG-registratie en geven aan waarvoor het adres officieel mag worden gebruikt.
Rijksweg 142 is gelegen op kadastraal perceel WKD00T580. Deze kadastrale aanduiding is uniek en wordt gebruikt door het Kadaster om eigendomsrechten en andere zakelijke rechten vast te leggen. Het perceel maakt onderdeel uit van de kadastrale gemeente Werkendam.
Het perceel waarop Rijksweg 142 staat heeft een oppervlakte van 960 m². Dit is een groot perceel. De perceeloppervlakte wordt geregistreerd door het Kadaster. Gedetailleerde informatie over de maten van dit perceel kunt u vinden in het rapport Kadastrale kaart met maatvoering van Rijksweg 142.
De eigenaar van Rijksweg 142 is op te vragen op deze pagina.
De informatie over dit adres is afkomstig uit officiële overheidsregistraties, voornamelijk de Basisregistratie Adressen en Gebouwen (BAG) en de Basisregistratie Kadaster (BRK). Deze gegevens worden beheerd door respectievelijk gemeenten en het Kadaster, en worden regelmatig bijgewerkt. Energielabelgegevens komen uit de database van de Rijksdienst voor Ondernemend Nederland (RVO).
