
Groesbeekseweg 424 is een adres in Nijmegen, dat zich bevindt binnen de gemeentegrenzen van Nijmegen en de grenzen van de provincie Gelderland. De oppervlakte bedraagt 715 m², waarmee het adres groter dan gemiddeld is. De grootte van het perceel waarop het adres ligt is 3740 m². In vergelijking met de andere adressen in de straat is de oppervlakte van dit object relatief groot. Het grootste verblijfsobject heeft een oppervlakte van 1,2 ha, de oppervlakte van het kleinste object bedraagt 8 m². Het gebouw waarin Groesbeekseweg 424 ligt komt uit het jaar 1875. Objecten die gebouwd zijn vóór 1965 classificeren we hier als oud. In de straat komt het nieuwste gebouw uit het jaar 2025 en het oudste uit 1750. Het bouwjaar van dit object is relatief oud. Het verblijfsobject heeft de volgende gebruiksdoelen: 'woonfunctie'.
Deze woning is voor het laatst verkocht op 1 juli 2005. Meer informatie over deze transactie? Bestel het Woningtransactierapport om de verkoopprijs en andere informatie te zien.
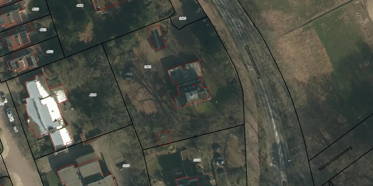
Het perceel waarop het adres ligt is HTT02-B-2461. De afkorting 'HTT02' staat voor kadastrale gemeente Hatert. De gemiddelde perceeloppervlakte in de kadastrale gemeente Hatert is 908,95 m². Dit perceel is met zijn 3740 m² dus groter dan gemiddeld. Het kleinste perceel in de kadastrale gemeente is 0 m² groot. De grootste perceeloppervlakte is 66,9 ha. Er zijn geen andere adressen aanwezig op het perceel. De huidige grenzen van het perceel zijn digitaal in de Basisregistratie Kadaster (BRK) geregistreerd op 24-07-2002.
Er is geen energielabel geregistreerd voor het adres. Het hoogste energielabel in de straat is A+++; het laagste is G. Het gemiddelde energielabel is er C. Het adres Groesbeekseweg 424 heeft als status: 'verblijfsobject in gebruik'. Het pand waarin dit adres ligt heeft als status: 'pand in gebruik'.
Groesbeekseweg 424 is een adres gelegen in de gemeente Nijmegen, provincie Gelderland. Dit adres is geregistreerd in de Basisregistratie Adressen en Gebouwen (BAG) met als unieke identificatie 0268010000078160.
Het pand op Groesbeekseweg 424 is gebouwd in 1875, wat betekent dat het 151 jaar oud is. Dit is een ouder pand. Het pand heeft mogelijk aanzienlijke renovaties nodig om aan de huidige standaarden te voldoen.
De woning op Groesbeekseweg 424 heeft een gebruiksoppervlakte van 715 m². Dit is ruim vergeleken met de gemiddelde Nederlandse woning, die een oppervlakte heeft van ongeveer 119 m². De gebruiksoppervlakte is de maat die wordt gebruikt in de BAG-registratie, de landelijke registratie van de Nederlandse overheid.
Groesbeekseweg 424 heeft als functie: wonen. Deze gebruiksfunctie(s) zijn vastgelegd in de BAG-registratie en geven aan waarvoor het adres officieel mag worden gebruikt.
Groesbeekseweg 424 is gelegen op kadastraal perceel HTT02B2461. Deze kadastrale aanduiding is uniek en wordt gebruikt door het Kadaster om eigendomsrechten en andere zakelijke rechten vast te leggen. Het perceel maakt onderdeel uit van de kadastrale gemeente Hatert.
Het perceel waarop Groesbeekseweg 424 staat heeft een oppervlakte van 3740 m². Dit is een zeer groot perceel. De perceeloppervlakte wordt geregistreerd door het Kadaster. Gedetailleerde informatie over de maten van dit perceel kunt u vinden in het rapport Kadastrale kaart met maatvoering van Groesbeekseweg 424.
De eigenaar van Groesbeekseweg 424 is op te vragen op deze pagina.
De informatie over dit adres is afkomstig uit officiële overheidsregistraties, voornamelijk de Basisregistratie Adressen en Gebouwen (BAG) en de Basisregistratie Kadaster (BRK). Deze gegevens worden beheerd door respectievelijk gemeenten en het Kadaster, en worden regelmatig bijgewerkt. Energielabelgegevens komen uit de database van de Rijksdienst voor Ondernemend Nederland (RVO).
