
Het adres Wezenlaan 123 bevindt zich in de plaats Nijmegen, in de gemeente Nijmegen en de provincie Gelderland. Het perceel waarop het verblijfsobject staat is 166 m² groot. De oppervlakte van het adres is 106 m², wat zich rond het Nederlandse gemiddelde van 119 m² bevindt. Het object is klein ten opzichte van de andere adressen in de straat. Het grootste verblijfsobject is 212 m² groot en het kleinste is 14 m². Wezenlaan 123 bevindt zich in een pand uit het jaar 1938. Daarmee behoort het tot de groep relatief oude panden in Nederland die gebouwd zijn vóór 1965. Veel andere gebouwen in de straat zijn ouder dan dit pand. Het oudste pand komt uit het jaar 1912 en het nieuwste uit 2025. Het verblijfsobject heeft de volgende gebruiksdoelen: 'woonfunctie'.
Deze woning is voor het laatst verkocht op 1 juni 2008. Meer informatie over deze transactie? Bestel het Woningtransactierapport om de verkoopprijs en andere informatie te zien.
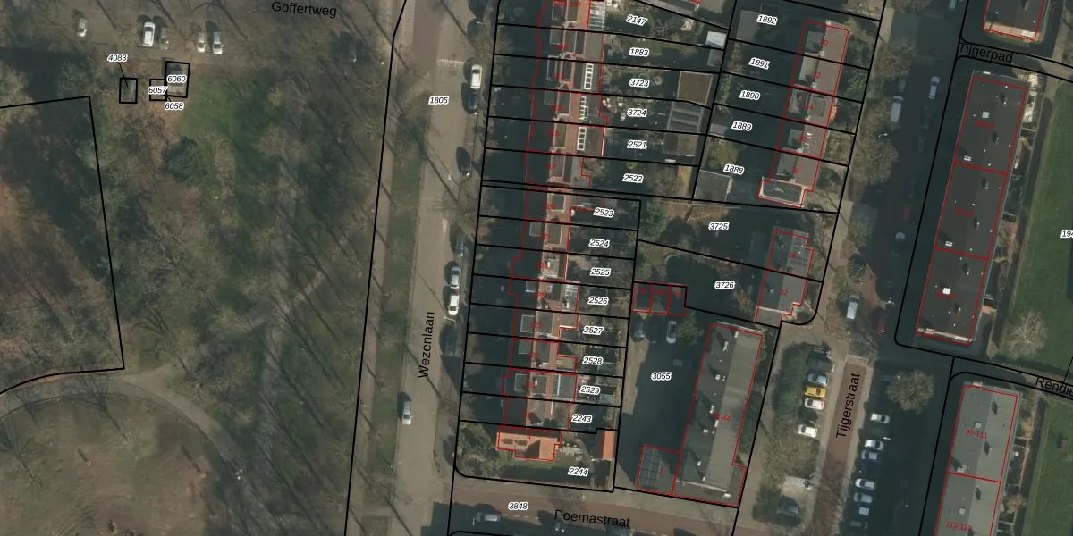
Het perceel waarop het adres ligt is HTT02-M-2525. De afkorting 'HTT02' staat voor kadastrale gemeente Hatert. Het perceel is kleiner dan gemiddeld in Hatert. Het perceel is 166 m² groot, terwijl het gemiddelde ligt op 908,98 m². Het grootste perceel in de kadastrale gemeente is 66,9 ha. Het kleinste perceel heeft een oppervlakte van 0 m². Er zijn geen andere adressen aanwezig op het perceel. In de Basisregistratie Kadaster (BRK) werden de grenzen van het perceel geregistreerd op 22-01-1998.
Het adres ligt in een gebouw van het type 'rijwoning tussen'. Bij de laatste meting is voor het adres het energielabel C geregistreerd. Het hoogste energielabel in de straat is A++; het laagste is G. Het gemiddelde energielabel is er C. Het adres Wezenlaan 123 heeft als status: 'verblijfsobject in gebruik'. Het pand waarin dit adres ligt heeft als status: 'pand in gebruik'.
Wezenlaan 123 is een adres gelegen in de gemeente Nijmegen, provincie Gelderland. Dit adres is geregistreerd in de Basisregistratie Adressen en Gebouwen (BAG) met als unieke identificatie 0268010000039662.
Het pand op Wezenlaan 123 is gebouwd in 1938, wat betekent dat het 88 jaar oud is. Dit is een ouder pand. Het pand heeft mogelijk aanzienlijke renovaties nodig om aan de huidige standaarden te voldoen.
De woning op Wezenlaan 123 heeft een gebruiksoppervlakte van 106 m². Dit is onder het gemiddelde vergeleken met de gemiddelde Nederlandse woning, die een oppervlakte heeft van ongeveer 119 m². De gebruiksoppervlakte is de maat die wordt gebruikt in de BAG-registratie, de landelijke registratie van de Nederlandse overheid.
Wezenlaan 123 heeft als functie: wonen. Deze gebruiksfunctie(s) zijn vastgelegd in de BAG-registratie en geven aan waarvoor het adres officieel mag worden gebruikt.
Wezenlaan 123 is gelegen op kadastraal perceel HTT02M2525. Deze kadastrale aanduiding is uniek en wordt gebruikt door het Kadaster om eigendomsrechten en andere zakelijke rechten vast te leggen. Het perceel maakt onderdeel uit van de kadastrale gemeente Hatert.
Het perceel waarop Wezenlaan 123 staat heeft een oppervlakte van 166 m². Dit is een middelgroot perceel. De perceeloppervlakte wordt geregistreerd door het Kadaster. Gedetailleerde informatie over de maten van dit perceel kunt u vinden in het rapport Kadastrale kaart met maatvoering van Wezenlaan 123.
De eigenaar van Wezenlaan 123 is op te vragen op deze pagina.
De informatie over dit adres is afkomstig uit officiële overheidsregistraties, voornamelijk de Basisregistratie Adressen en Gebouwen (BAG) en de Basisregistratie Kadaster (BRK). Deze gegevens worden beheerd door respectievelijk gemeenten en het Kadaster, en worden regelmatig bijgewerkt. Energielabelgegevens komen uit de database van de Rijksdienst voor Ondernemend Nederland (RVO).
