
Het adres Schoolpad 8 bevindt zich in de plaats Noordscheschut, in de gemeente Noordscheschut en de provincie Drenthe. De oppervlakte van het verblijfsobject is met 174 m² aan de grote kant. Het perceel heeft een oppervlakte van 2230 m². Vergeleken met de andere verblijfsobjecten in de straat is dit object groot. De oppervlakte van het grootste object in de straat is 421 m², die van het kleinste bedraagt 25 m². Schoolpad 8 bevindt zich in een pand uit het jaar 1934. Daarmee behoort het tot de groep relatief oude panden in Nederland die gebouwd zijn vóór 1965. Gemiddeld zijn de gebouwen in de straat gebouwd in 1971. Dit is het oudste pand in de straat. Het meest recente komt uit het jaar 2011. De volgende gebruiksdoelen zijn geregistreerd voor dit adres: 'woonfunctie'.
Deze woning is voor het laatst verkocht op 1 maart 2015. Meer informatie over deze transactie? Bestel het Woningtransactierapport om de verkoopprijs en andere informatie te zien.
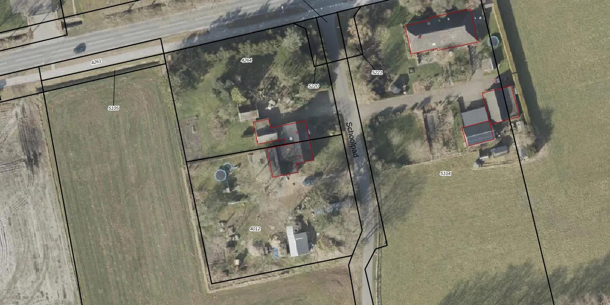
Het adres is gelegen op perceel 4012 in de sectie B en de kadastrale gemeente Hoogeveen. De kadastrale aanduiding is aldus HGV00-B-4012. Het perceel is 2230 m² groot. Dat is kleiner dan de gemiddelde perceeloppervlakte in Hoogeveen, dat op 4425,9 m² ligt. Het grootste perceel in de kadastrale gemeente is 56,8 ha. Het kleinste perceel heeft een oppervlakte van 0 m². Op het perceel bevinden zich geen andere adressen. In de Basisregistratie Kadaster (BRK) werden de grenzen van het perceel geregistreerd op 13-10-2003.
Er is geen energielabel geregistreerd voor het adres. Het hoogste energielabel in de straat is A+; het laagste is G. Het gemiddelde energielabel is er C. Het adres Schoolpad 8 heeft als status: 'verblijfsobject in gebruik'. Het pand waarin dit adres ligt heeft als status: 'pand in gebruik'.
Schoolpad 8 is een adres gelegen in de gemeente Hoogeveen, provincie Drenthe. Dit adres is geregistreerd in de Basisregistratie Adressen en Gebouwen (BAG) met als unieke identificatie 0118010000002193.
Het pand op Schoolpad 8 is gebouwd in 1934, wat betekent dat het 92 jaar oud is. Dit is een ouder pand. Het pand heeft mogelijk aanzienlijke renovaties nodig om aan de huidige standaarden te voldoen.
De woning op Schoolpad 8 heeft een gebruiksoppervlakte van 174 m². Dit is ruim vergeleken met de gemiddelde Nederlandse woning, die een oppervlakte heeft van ongeveer 119 m². De gebruiksoppervlakte is de maat die wordt gebruikt in de BAG-registratie, de landelijke registratie van de Nederlandse overheid.
Schoolpad 8 heeft als functie: wonen. Deze gebruiksfunctie(s) zijn vastgelegd in de BAG-registratie en geven aan waarvoor het adres officieel mag worden gebruikt.
Schoolpad 8 is gelegen op kadastraal perceel HGV00B4012. Deze kadastrale aanduiding is uniek en wordt gebruikt door het Kadaster om eigendomsrechten en andere zakelijke rechten vast te leggen. Het perceel maakt onderdeel uit van de kadastrale gemeente Hoogeveen.
Het perceel waarop Schoolpad 8 staat heeft een oppervlakte van 2230 m². Dit is een zeer groot perceel. De perceeloppervlakte wordt geregistreerd door het Kadaster. Gedetailleerde informatie over de maten van dit perceel kunt u vinden in het rapport Kadastrale kaart met maatvoering van Schoolpad 8.
De eigenaar van Schoolpad 8 is op te vragen op deze pagina.
De informatie over dit adres is afkomstig uit officiële overheidsregistraties, voornamelijk de Basisregistratie Adressen en Gebouwen (BAG) en de Basisregistratie Kadaster (BRK). Deze gegevens worden beheerd door respectievelijk gemeenten en het Kadaster, en worden regelmatig bijgewerkt. Energielabelgegevens komen uit de database van de Rijksdienst voor Ondernemend Nederland (RVO).
