
Het adres Schapendijk 25 bevindt zich in de plaats Notter, in de gemeente Notter en de provincie Overijssel. Het object heeft een oppervlakte van 335 m², wat relatief groot is. Het perceel waarop het adres ligt is 2090 m² groot. Vergeleken met de andere verblijfsobjecten in de straat is dit object groot. De oppervlakte van het grootste object in de straat is 2640 m², die van het kleinste bedraagt 8 m². Schapendijk 25 bevindt zich in een pand uit het jaar 1923. Daarmee behoort het tot de groep relatief oude panden in Nederland die gebouwd zijn vóór 1965. Het gemiddelde bouwjaar in de straat is 1978 en dat van het nieuwste object 2026. In de straat is dit het oudste pand. Voor het verblijfsobject gelden deze gebruiksdoelen: 'woonfunctie'.
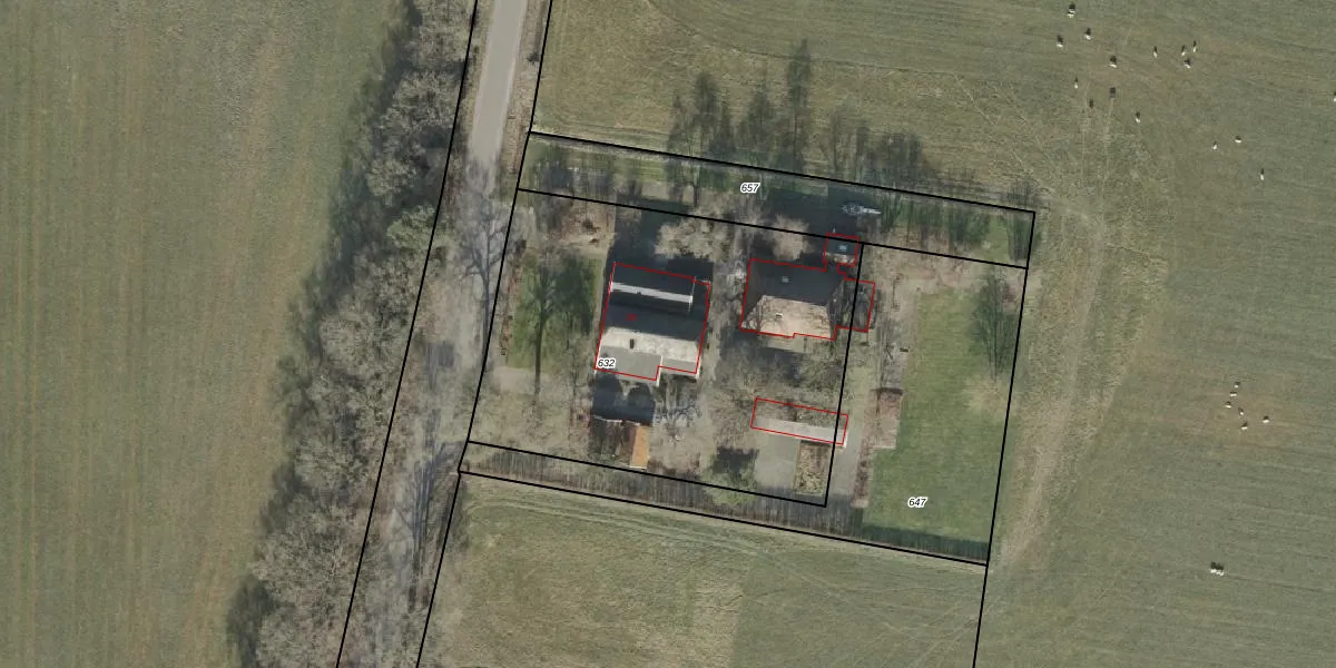
Het adres is gelegen op perceel 632 in de sectie X en de kadastrale gemeente Wierden. De kadastrale aanduiding is aldus WDN02-X-632. De gemiddelde perceelgrootte in Wierden is 5350,78 m². Dit perceel is kleiner: de perceeloppervlakte bedraagt 2090 m². Het grootste perceel in de kadastrale gemeente is 1,19 km². Het kleinste perceel heeft een oppervlakte van 0 m². Dit is het enige adres dat aanwezig is op het perceel. In de Basisregistratie Kadaster (BRK) werden de grenzen van het perceel geregistreerd op 27-07-2010.
Er is geen energielabel geregistreerd voor het adres. Het hoogste energielabel in de straat is B; het laagste is G. Het gemiddelde energielabel is er B. Het adres Schapendijk 25 heeft als status: 'verblijfsobject in gebruik'. Het pand waarin dit adres ligt heeft als status: 'pand in gebruik'.
Schapendijk 25 is een adres gelegen in de gemeente Wierden, provincie Overijssel. Dit adres is geregistreerd in de Basisregistratie Adressen en Gebouwen (BAG) met als unieke identificatie 0189010000001099.
Het pand op Schapendijk 25 is gebouwd in 1923, wat betekent dat het 103 jaar oud is. Dit is een ouder pand. Het pand heeft mogelijk aanzienlijke renovaties nodig om aan de huidige standaarden te voldoen.
De woning op Schapendijk 25 heeft een gebruiksoppervlakte van 335 m². Dit is ruim vergeleken met de gemiddelde Nederlandse woning, die een oppervlakte heeft van ongeveer 119 m². De gebruiksoppervlakte is de maat die wordt gebruikt in de BAG-registratie, de landelijke registratie van de Nederlandse overheid.
Schapendijk 25 heeft als functie: wonen. Deze gebruiksfunctie(s) zijn vastgelegd in de BAG-registratie en geven aan waarvoor het adres officieel mag worden gebruikt.
Schapendijk 25 is gelegen op kadastraal perceel WDN02X632. Deze kadastrale aanduiding is uniek en wordt gebruikt door het Kadaster om eigendomsrechten en andere zakelijke rechten vast te leggen. Het perceel maakt onderdeel uit van de kadastrale gemeente Wierden.
Het perceel waarop Schapendijk 25 staat heeft een oppervlakte van 2090 m². Dit is een zeer groot perceel. De perceeloppervlakte wordt geregistreerd door het Kadaster. Gedetailleerde informatie over de maten van dit perceel kunt u vinden in het rapport Kadastrale kaart met maatvoering van Schapendijk 25.
De eigenaar van Schapendijk 25 is op te vragen op deze pagina
De informatie over dit adres is afkomstig uit officiële overheidsregistraties, voornamelijk de Basisregistratie Adressen en Gebouwen (BAG) en de Basisregistratie Kadaster (BRK). Deze gegevens worden beheerd door respectievelijk gemeenten en het Kadaster, en worden regelmatig bijgewerkt. Energielabelgegevens komen uit de database van de Rijksdienst voor Ondernemend Nederland (RVO).
