
Bosweg 54 is een adres in Nuenen, dat zich bevindt binnen de gemeentegrenzen van Nuenen en de grenzen van de provincie Noord-Brabant. Het perceel waarop het verblijfsobject staat is 8623 m² groot. De oppervlakte van het adres is 108 m², wat zich rond het Nederlandse gemiddelde van 119 m² bevindt. De oppervlakte van het adres is klein vergeleken met de andere objecten in de straat. De oppervlakte van het kleinste object in de straat bedraagt 85 m², terwijl het grootste object 282 m² groot is. Bosweg 54 bevindt zich in een pand uit het jaar null. Daarmee behoort het tot de groep relatief oude panden in Nederland die gebouwd zijn vóór 1965. Dit is het oudste object in de straat. Het nieuwste pand komt uit 2009 en het gemiddelde bouwjaar in de straat is 1988. Het verblijfsobject heeft de volgende gebruiksdoelen: 'standplaats'.
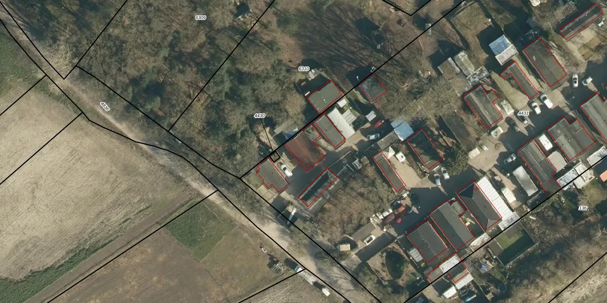
Het adres is gelegen op perceel 4431 in de sectie B en de kadastrale gemeente Nuenen. De kadastrale aanduiding is aldus NNN00-B-4431. De gemiddelde perceeloppervlakte in de kadastrale gemeente Nuenen is 2263,66 m². Dit perceel is met zijn 8623 m² dus groter dan gemiddeld. Het grootste perceel in de kadastrale gemeente is 27,9 ha. Het kleinste perceel heeft een oppervlakte van 0 m². Op het perceel zijn 20 adressen aanwezig. De huidige grenzen van het perceel zijn digitaal in de Basisregistratie Kadaster (BRK) geregistreerd op 01-10-2024.
Er is geen energielabel geregistreerd voor het adres. Het hoogste energielabel in de straat is C; het laagste is G. Het gemiddelde energielabel is er C. Het adres Bosweg 54 heeft als status: 'plaats aangewezen'. Het pand waarin dit adres ligt heeft als status: 'undefined'.
Bosweg 54 is een adres gelegen in de gemeente Nuenen, Gerwen en Nederwetten, provincie Noord-Brabant. Dit adres is geregistreerd in de Basisregistratie Adressen en Gebouwen (BAG) met als unieke identificatie 0820030000035786.
De woning op Bosweg 54 heeft een gebruiksoppervlakte van 108 m². Dit is onder het gemiddelde vergeleken met de gemiddelde Nederlandse woning, die een oppervlakte heeft van ongeveer 119 m². De gebruiksoppervlakte is de maat die wordt gebruikt in de BAG-registratie, de landelijke registratie van de Nederlandse overheid.
Bosweg 54 heeft als functie: standplaats. Deze gebruiksfunctie(s) zijn vastgelegd in de BAG-registratie en geven aan waarvoor het adres officieel mag worden gebruikt.
Bosweg 54 is gelegen op kadastraal perceel NNN00B4431. Deze kadastrale aanduiding is uniek en wordt gebruikt door het Kadaster om eigendomsrechten en andere zakelijke rechten vast te leggen. Het perceel maakt onderdeel uit van de kadastrale gemeente Nuenen.
Het perceel waarop Bosweg 54 staat heeft een oppervlakte van 8623 m². Dit is een zeer groot perceel. De perceeloppervlakte wordt geregistreerd door het Kadaster. Gedetailleerde informatie over de maten van dit perceel kunt u vinden in het rapport Kadastrale kaart met maatvoering van Bosweg 54.
De eigenaar van Bosweg 54 is op te vragen op deze pagina.
De informatie over dit adres is afkomstig uit officiële overheidsregistraties, voornamelijk de Basisregistratie Adressen en Gebouwen (BAG) en de Basisregistratie Kadaster (BRK). Deze gegevens worden beheerd door respectievelijk gemeenten en het Kadaster, en worden regelmatig bijgewerkt. Energielabelgegevens komen uit de database van de Rijksdienst voor Ondernemend Nederland (RVO).
