
Het adres Wettenseind 18 bevindt zich in de plaats Nuenen, in de gemeente Nuenen en de provincie Noord-Brabant. De oppervlakte van het verblijfsobject is met 179 m² aan de grote kant. Het perceel heeft een oppervlakte van 1291 m². Het adres is klein vergeleken met andere objecten in de straat. Het grootste object in de straat heeft een oppervlakte van 1222 m², het kleinste is 6 m² groot. De meeste Nederlandse gebouwen zijn gebouwd in de periode 1965-1984. Zo ook het pand waarin Wettenseind 18 ligt, dat gebouwd is in 1984. Dit object is relatief nieuw in de straat. Het nieuwste gebouw komt er uit het jaar 2020 en het oudste uit het jaar 1900. De volgende gebruiksdoelen zijn geregistreerd voor dit adres: 'woonfunctie'.
Deze woning is voor het laatst verkocht op 1 maart 2009. Meer informatie over deze transactie? Bestel het Woningtransactierapport om de verkoopprijs en andere informatie te zien.
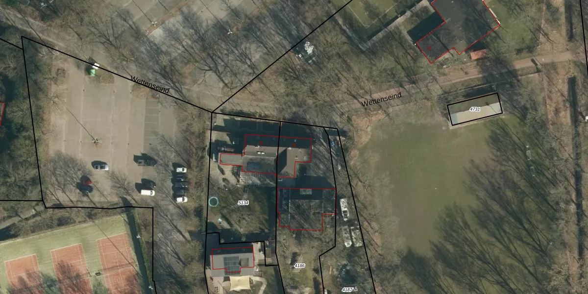
Het adres ligt op het perceel NNN00-D-4186, dat zich in de kadastrale gemeente Nuenen bevindt. Het perceel is 1291 m² groot. Dat is kleiner dan de gemiddelde perceeloppervlakte in Nuenen, dat op 2263,36 m² ligt. De grootste perceeloppervlakte in de kadastrale gemeente is 27,9 ha. De kleinste oppervlakte bedraagt 0 m². Op het perceel bevinden zich geen andere adressen. In de Basisregistratie Kadaster (BRK) werden de grenzen van het perceel geregistreerd op 04-01-2024.
Het adres ligt in een gebouw van het type 'twee-onder-één-kap'. Bij de laatste meting is voor het adres het energielabel C geregistreerd. Het hoogste energielabel in de straat is A+++; het laagste is G. Het gemiddelde energielabel is er C. Het adres Wettenseind 18 heeft als status: 'verblijfsobject in gebruik'. Het pand waarin dit adres ligt heeft als status: 'pand in gebruik'.
Wettenseind 18 is een adres gelegen in de gemeente Nuenen, Gerwen en Nederwetten, provincie Noord-Brabant. Dit adres is geregistreerd in de Basisregistratie Adressen en Gebouwen (BAG) met als unieke identificatie 0820010000009876.
Het pand op Wettenseind 18 is gebouwd in 1984, wat betekent dat het 42 jaar oud is. Dit is een pand van middelbare leeftijd. Het pand is van gemiddelde leeftijd en zal waarschijnlijk verouderde elementen bevatten.
De woning op Wettenseind 18 heeft een gebruiksoppervlakte van 179 m². Dit is ruim vergeleken met de gemiddelde Nederlandse woning, die een oppervlakte heeft van ongeveer 119 m². De gebruiksoppervlakte is de maat die wordt gebruikt in de BAG-registratie, de landelijke registratie van de Nederlandse overheid.
Wettenseind 18 heeft als functie: wonen. Deze gebruiksfunctie(s) zijn vastgelegd in de BAG-registratie en geven aan waarvoor het adres officieel mag worden gebruikt.
Wettenseind 18 is gelegen op kadastraal perceel NNN00D4186. Deze kadastrale aanduiding is uniek en wordt gebruikt door het Kadaster om eigendomsrechten en andere zakelijke rechten vast te leggen. Het perceel maakt onderdeel uit van de kadastrale gemeente Nuenen.
Het perceel waarop Wettenseind 18 staat heeft een oppervlakte van 1291 m². Dit is een zeer groot perceel. De perceeloppervlakte wordt geregistreerd door het Kadaster. Gedetailleerde informatie over de maten van dit perceel kunt u vinden in het rapport Kadastrale kaart met maatvoering van Wettenseind 18.
De eigenaar van Wettenseind 18 is op te vragen op deze pagina.
De informatie over dit adres is afkomstig uit officiële overheidsregistraties, voornamelijk de Basisregistratie Adressen en Gebouwen (BAG) en de Basisregistratie Kadaster (BRK). Deze gegevens worden beheerd door respectievelijk gemeenten en het Kadaster, en worden regelmatig bijgewerkt. Energielabelgegevens komen uit de database van de Rijksdienst voor Ondernemend Nederland (RVO).
