
Wilshuijsen 5 is een adres in Nuland, dat zich bevindt binnen de gemeentegrenzen van Nuland en de grenzen van de provincie Noord-Brabant. Het object heeft een oppervlakte van 234 m², wat relatief groot is. Het perceel waarop het adres ligt is 800 m² groot. Dit is het grootste verblijfsobject. Gemiddeld hebben de objecten in de straat een oppervlakte van 221 m². Het kleinste verblijfsobject is er 208 m². In het jaar 2026 is het pand waarin Wilshuijsen 5 ligt gebouwd. Dat is relatief recent: de meeste gebouwen in Nederland zijn gebouwd in de periode 1965-1984. Het gemiddelde bouwjaar in de straat is 2026 en dat van het oudste pand is 2025. Dit is het nieuwste object in de straat. De volgende gebruiksdoelen zijn geregistreerd voor dit adres: 'woonfunctie'.
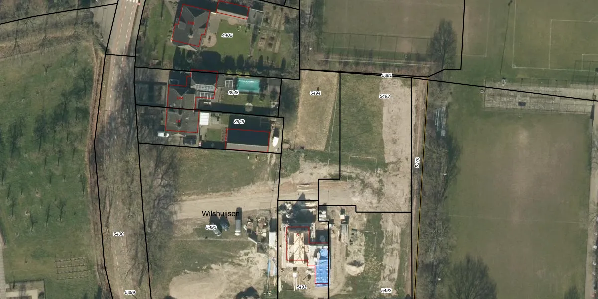
Het adres is gelegen op perceel 5494 in de sectie B en de kadastrale gemeente Nuland. De kadastrale aanduiding is aldus NLD03-B-5494. Het perceel is 800 m² groot. Dat is kleiner dan de gemiddelde perceeloppervlakte in Nuland, dat op 4950,69 m² ligt. De grootste perceeloppervlakte in de kadastrale gemeente is 39,3 ha. De kleinste oppervlakte bedraagt 0 m². Dit is het enige adres dat aanwezig is op het perceel. De huidige grenzen van het perceel zijn digitaal in de Basisregistratie Kadaster (BRK) geregistreerd op 13-09-2024.
Er is geen energielabel geregistreerd voor het adres. Het hoogste energielabel in de straat is G; het laagste is G. Het gemiddelde energielabel is er G. Het adres Wilshuijsen 5 heeft als status: 'verblijfsobject gevormd'. Het pand waarin dit adres ligt heeft als status: 'bouw gestart'.
Wilshuijsen 5 is een adres gelegen in de gemeente 's-Hertogenbosch, provincie Noord-Brabant. Dit adres is geregistreerd in de Basisregistratie Adressen en Gebouwen (BAG) met als unieke identificatie 0796010000836855.
Het pand op Wilshuijsen 5 is gebouwd in 2026, wat betekent dat het 0 jaar oud is. Dit is een vrij nieuw pand. Het pand is dus waarschijnlijk goed geïsoleerd, geluidsdicht en voldoet aan de huidige bouwstandaarden. Op korte termijn zijn er waarschijnlijk weinig onderhoudskosten.
De woning op Wilshuijsen 5 heeft een gebruiksoppervlakte van 234 m². Dit is ruim vergeleken met de gemiddelde Nederlandse woning, die een oppervlakte heeft van ongeveer 119 m². De gebruiksoppervlakte is de maat die wordt gebruikt in de BAG-registratie, de landelijke registratie van de Nederlandse overheid.
Wilshuijsen 5 heeft als functie: wonen. Deze gebruiksfunctie(s) zijn vastgelegd in de BAG-registratie en geven aan waarvoor het adres officieel mag worden gebruikt.
Wilshuijsen 5 is gelegen op kadastraal perceel NLD03B5494. Deze kadastrale aanduiding is uniek en wordt gebruikt door het Kadaster om eigendomsrechten en andere zakelijke rechten vast te leggen. Het perceel maakt onderdeel uit van de kadastrale gemeente Nuland.
Het perceel waarop Wilshuijsen 5 staat heeft een oppervlakte van 800 m². Dit is een groot perceel. De perceeloppervlakte wordt geregistreerd door het Kadaster. Gedetailleerde informatie over de maten van dit perceel kunt u vinden in het rapport Kadastrale kaart met maatvoering van Wilshuijsen 5.
De eigenaar van Wilshuijsen 5 is op te vragen op deze pagina.
De informatie over dit adres is afkomstig uit officiële overheidsregistraties, voornamelijk de Basisregistratie Adressen en Gebouwen (BAG) en de Basisregistratie Kadaster (BRK). Deze gegevens worden beheerd door respectievelijk gemeenten en het Kadaster, en worden regelmatig bijgewerkt. Energielabelgegevens komen uit de database van de Rijksdienst voor Ondernemend Nederland (RVO).
