
Het adres Vreeweg 11-0008 bevindt zich in de plaats Nunspeet, in de gemeente Nunspeet en de provincie Gelderland. Het verblijfsobject is vergeleken met het Nederlandse gemiddelde aan de kleine kant: de oppervlakte is 54 m². Het perceel waarop het adres zich bevindt heeft een oppervlakte van 2380 m². De oppervlakte van het adres is klein vergeleken met de andere objecten in de straat. De oppervlakte van het kleinste object in de straat bedraagt 17 m², terwijl het grootste object 1950 m² groot is. Het adres Vreeweg 11-0008 ligt in een relatief oud pand uit het jaar null. Panden van vóór het jaar 1965 hebben we hier geclassificeerd als oud. Gemiddeld zijn de gebouwen in de straat gebouwd in 1986. Dit is het oudste pand in de straat. Het meest recente komt uit het jaar 2025. De volgende gebruiksdoelen zijn geregistreerd voor dit adres: 'standplaats'.
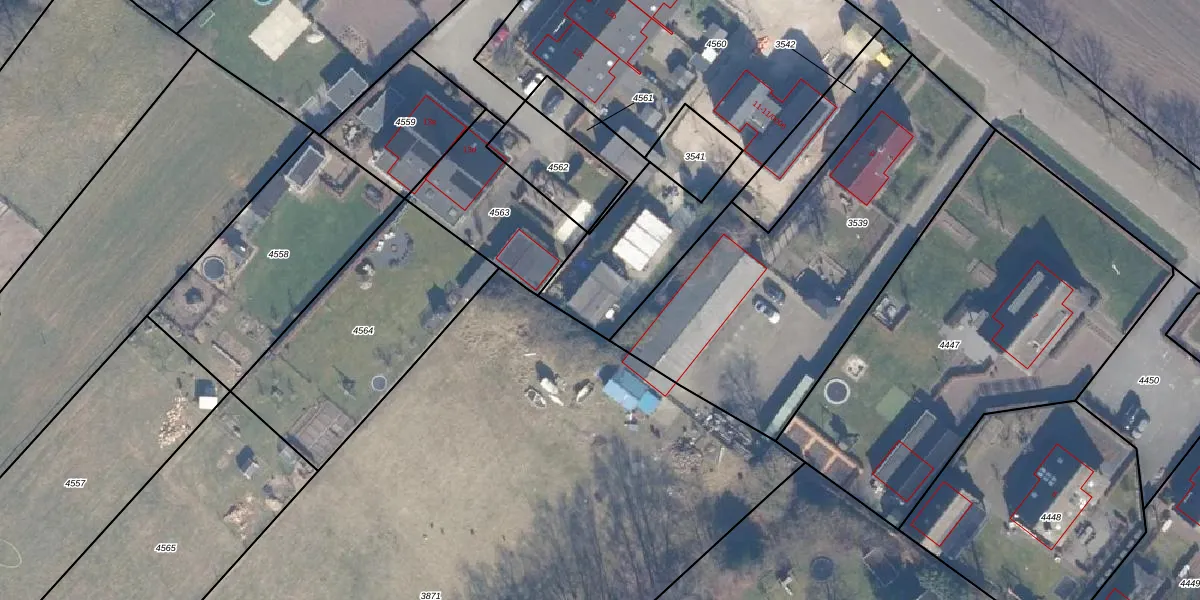
Het adres is gelegen op perceel 4560 in de sectie I en de kadastrale gemeente Nunspeet. De kadastrale aanduiding is aldus NST01-I-4560. Het perceel is 2380 m² groot. Dat is kleiner dan de gemiddelde perceeloppervlakte in Nunspeet, dat op 7212,71 m² ligt. De grootste perceeloppervlakte in de kadastrale gemeente is 1,70 km². De kleinste oppervlakte bedraagt 0 m². Op het perceel liggen in totaal 11 adressen. In de Basisregistratie Kadaster (BRK) werden de grenzen van het perceel geregistreerd op 26-08-2016.
Er is geen energielabel geregistreerd voor het adres. Het hoogste energielabel in de straat is A+++; het laagste is G. Het gemiddelde energielabel is er B. Het adres Vreeweg 11-0008 heeft als status: 'plaats aangewezen'. Het pand waarin dit adres ligt heeft als status: 'undefined'.
Vreeweg 11-0008 is een adres gelegen in de gemeente Nunspeet, provincie Gelderland. Dit adres is geregistreerd in de Basisregistratie Adressen en Gebouwen (BAG) met als unieke identificatie 0302030000056176.
De woning op Vreeweg 11-0008 heeft een gebruiksoppervlakte van 54 m². Dit is relatief klein vergeleken met de gemiddelde Nederlandse woning, die een oppervlakte heeft van ongeveer 119 m². De gebruiksoppervlakte is de maat die wordt gebruikt in de BAG-registratie, de landelijke registratie van de Nederlandse overheid.
Vreeweg 11-0008 heeft als functie: standplaats. Deze gebruiksfunctie(s) zijn vastgelegd in de BAG-registratie en geven aan waarvoor het adres officieel mag worden gebruikt.
Vreeweg 11-0008 is gelegen op kadastraal perceel NST01I4560. Deze kadastrale aanduiding is uniek en wordt gebruikt door het Kadaster om eigendomsrechten en andere zakelijke rechten vast te leggen. Het perceel maakt onderdeel uit van de kadastrale gemeente Nunspeet.
Het perceel waarop Vreeweg 11-0008 staat heeft een oppervlakte van 2380 m². Dit is een zeer groot perceel. De perceeloppervlakte wordt geregistreerd door het Kadaster. Gedetailleerde informatie over de maten van dit perceel kunt u vinden in het rapport Kadastrale kaart met maatvoering van Vreeweg 11-0008.
De eigenaar van Vreeweg 11-0008 is op te vragen op deze pagina.
De informatie over dit adres is afkomstig uit officiële overheidsregistraties, voornamelijk de Basisregistratie Adressen en Gebouwen (BAG) en de Basisregistratie Kadaster (BRK). Deze gegevens worden beheerd door respectievelijk gemeenten en het Kadaster, en worden regelmatig bijgewerkt. Energielabelgegevens komen uit de database van de Rijksdienst voor Ondernemend Nederland (RVO).
