
Voorsterstraat 37 is een adres in Nuth, dat zich bevindt binnen de gemeentegrenzen van Nuth en de grenzen van de provincie Limburg. De oppervlakte van het verblijfsobject is met 184 m² aan de grote kant. Het perceel heeft een oppervlakte van 5305 m². De oppervlakte van dit adres is groot vergeleken met de oppervlaktes van andere adressen in de straat. De kleinste oppervlakte bedraagt er 32 m², de grootste 526 m². De meeste Nederlandse gebouwen zijn gebouwd in de periode 1965-1984. Zo ook het pand waarin Voorsterstraat 37 ligt, dat gebouwd is in 1978. Dit object is relatief nieuw in de straat. Het nieuwste gebouw komt er uit het jaar 2022 en het oudste uit het jaar 1760. Voor het verblijfsobject gelden deze gebruiksdoelen: 'woonfunctie'.
Deze woning is voor het laatst verkocht op 1 september 2018. Meer informatie over deze transactie? Bestel het Woningtransactierapport om de verkoopprijs en andere informatie te zien.
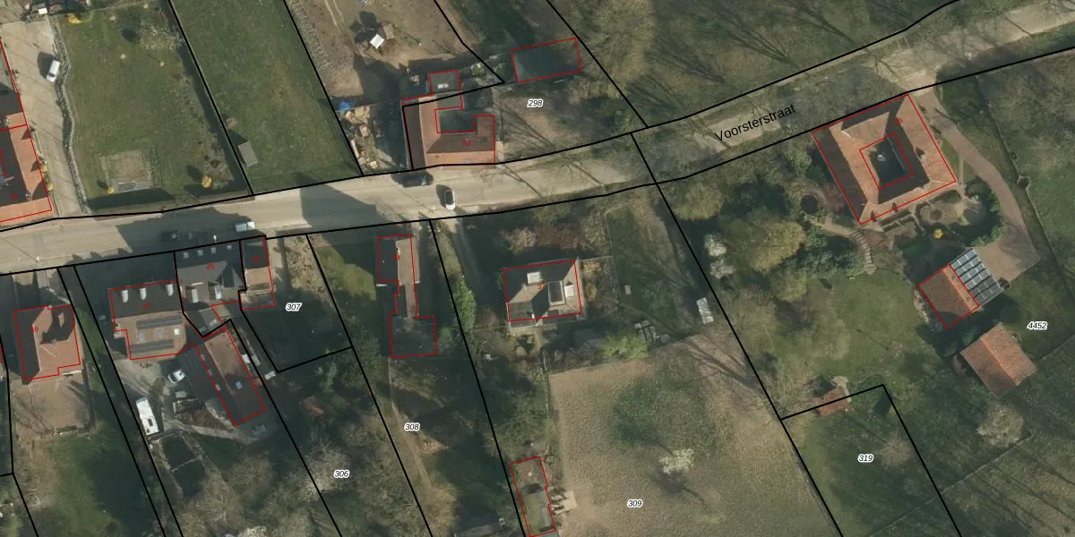
Het adres ligt op het perceel NUT00-O-309, dat zich in de kadastrale gemeente Nuth bevindt. Het perceel is met 5305 m² relatief groot. Het gemiddelde ligt in de kadastrale gemeente Nuth op 4309,65 m². De grootste perceeloppervlakte in de kadastrale gemeente is 42,4 ha. De kleinste oppervlakte bedraagt 0 m². Op het perceel bevinden zich geen andere adressen. De huidige grenzen van het perceel zijn digitaal in de Basisregistratie Kadaster (BRK) geregistreerd op 20-10-2009.
Het adres ligt in een gebouw van het type 'vrijstaande woning'. Bij de laatste meting is voor het adres het energielabel C geregistreerd. Het hoogste energielabel in de straat is A++; het laagste is G. Het gemiddelde energielabel is er D. Het adres Voorsterstraat 37 heeft als status: 'verblijfsobject in gebruik'. Het pand waarin dit adres ligt heeft als status: 'pand in gebruik'.
Voorsterstraat 37 is een adres gelegen in de gemeente Beekdaelen, provincie Limburg. Dit adres is geregistreerd in de Basisregistratie Adressen en Gebouwen (BAG) met als unieke identificatie 0951010000005153.
Het pand op Voorsterstraat 37 is gebouwd in 1978, wat betekent dat het 48 jaar oud is. Dit is een pand van middelbare leeftijd. Het pand is van gemiddelde leeftijd en zal waarschijnlijk verouderde elementen bevatten.
De woning op Voorsterstraat 37 heeft een gebruiksoppervlakte van 184 m². Dit is ruim vergeleken met de gemiddelde Nederlandse woning, die een oppervlakte heeft van ongeveer 119 m². De gebruiksoppervlakte is de maat die wordt gebruikt in de BAG-registratie, de landelijke registratie van de Nederlandse overheid.
Voorsterstraat 37 heeft als functie: wonen. Deze gebruiksfunctie(s) zijn vastgelegd in de BAG-registratie en geven aan waarvoor het adres officieel mag worden gebruikt.
Voorsterstraat 37 is gelegen op kadastraal perceel NUT00O309. Deze kadastrale aanduiding is uniek en wordt gebruikt door het Kadaster om eigendomsrechten en andere zakelijke rechten vast te leggen. Het perceel maakt onderdeel uit van de kadastrale gemeente Nuth.
Het perceel waarop Voorsterstraat 37 staat heeft een oppervlakte van 5305 m². Dit is een zeer groot perceel. De perceeloppervlakte wordt geregistreerd door het Kadaster. Gedetailleerde informatie over de maten van dit perceel kunt u vinden in het rapport Kadastrale kaart met maatvoering van Voorsterstraat 37.
De eigenaar van Voorsterstraat 37 is op te vragen op deze pagina.
De informatie over dit adres is afkomstig uit officiële overheidsregistraties, voornamelijk de Basisregistratie Adressen en Gebouwen (BAG) en de Basisregistratie Kadaster (BRK). Deze gegevens worden beheerd door respectievelijk gemeenten en het Kadaster, en worden regelmatig bijgewerkt. Energielabelgegevens komen uit de database van de Rijksdienst voor Ondernemend Nederland (RVO).
