
Het adres Ooster Oenerweg 9 bevindt zich in de plaats Oene, in de gemeente Oene en de provincie Gelderland. Het object heeft een oppervlakte van 373 m², wat relatief groot is. Het perceel waarop het adres ligt is 3880 m² groot. Het adres is klein vergeleken met andere objecten in de straat. Het grootste object in de straat heeft een oppervlakte van 8091 m², het kleinste is 35 m² groot. Ooster Oenerweg 9 bevindt zich in een pand uit het jaar 1910. Daarmee behoort het tot de groep relatief oude panden in Nederland die gebouwd zijn vóór 1965. Het bouwjaar is oud vergeleken met dat van de andere panden in de straat. Het oudste bouwjaar is er 1830 en de nieuwste is 2019. De volgende gebruiksdoelen zijn geregistreerd voor dit adres: 'woonfunctie'.
Deze woning is voor het laatst verkocht op 1 oktober 2025. Meer informatie over deze transactie? Bestel het Woningtransactierapport om de verkoopprijs en andere informatie te zien.
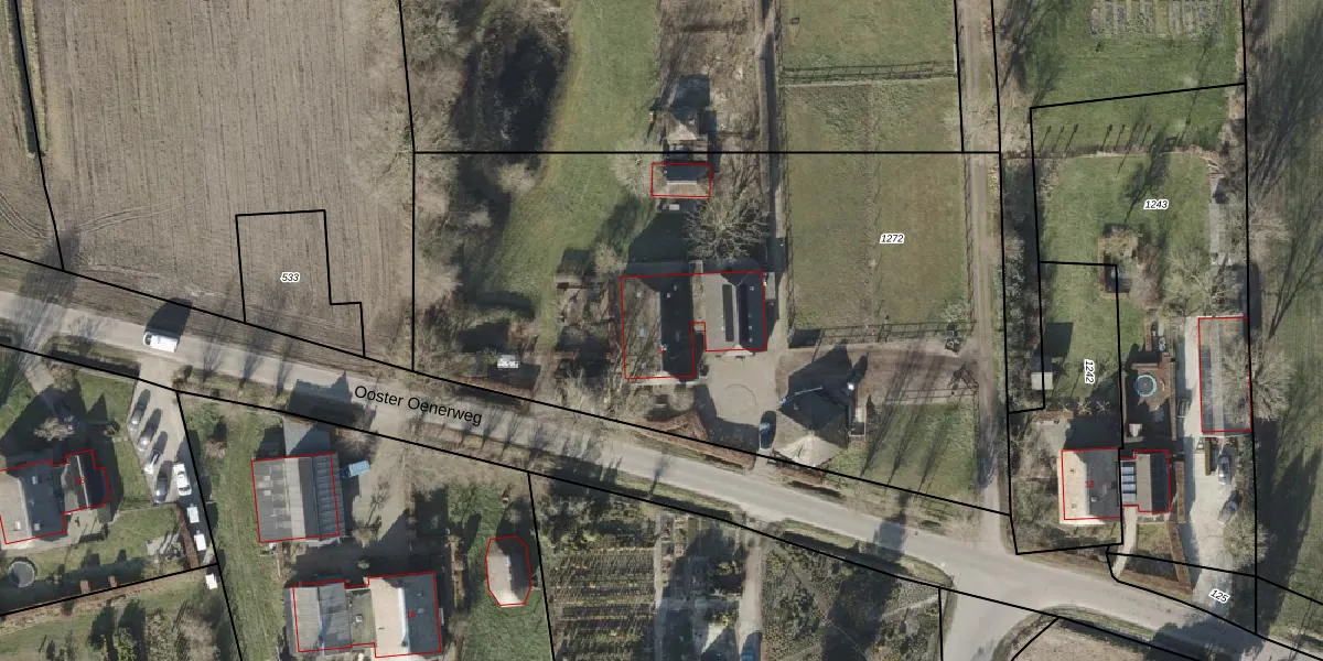
Het adres ligt op het perceel EPE00-D-1272, dat zich in de kadastrale gemeente Epe en Oene bevindt. Het perceel is 3880 m² groot. Dat is kleiner dan de gemiddelde perceeloppervlakte in Epe en Oene, dat op 6734,72 m² ligt. Het grootste perceel in de kadastrale gemeente is 1,95 km². Het kleinste perceel heeft een oppervlakte van 0 m². Dit is het enige adres dat aanwezig is op het perceel. In de Basisregistratie Kadaster (BRK) werden de grenzen van het perceel geregistreerd op 17-04-2008.
Het adres ligt in een gebouw van het type 'vrijstaande woning'. Bij de laatste meting is voor het adres het energielabel C geregistreerd. Het hoogste energielabel in de straat is A+++; het laagste is G. Het gemiddelde energielabel is er B. Het adres Ooster Oenerweg 9 heeft als status: 'verblijfsobject in gebruik'. Het pand waarin dit adres ligt heeft als status: 'pand in gebruik'.
Ooster Oenerweg 9 is een adres gelegen in de gemeente Epe, provincie Gelderland. Dit adres is geregistreerd in de Basisregistratie Adressen en Gebouwen (BAG) met als unieke identificatie 0232010000009610.
Het pand op Ooster Oenerweg 9 is gebouwd in 1910, wat betekent dat het 116 jaar oud is. Dit is een ouder pand. Het pand heeft mogelijk aanzienlijke renovaties nodig om aan de huidige standaarden te voldoen.
De woning op Ooster Oenerweg 9 heeft een gebruiksoppervlakte van 373 m². Dit is ruim vergeleken met de gemiddelde Nederlandse woning, die een oppervlakte heeft van ongeveer 119 m². De gebruiksoppervlakte is de maat die wordt gebruikt in de BAG-registratie, de landelijke registratie van de Nederlandse overheid.
Ooster Oenerweg 9 heeft als functie: wonen. Deze gebruiksfunctie(s) zijn vastgelegd in de BAG-registratie en geven aan waarvoor het adres officieel mag worden gebruikt.
Ooster Oenerweg 9 is gelegen op kadastraal perceel EPE00D1272. Deze kadastrale aanduiding is uniek en wordt gebruikt door het Kadaster om eigendomsrechten en andere zakelijke rechten vast te leggen. Het perceel maakt onderdeel uit van de kadastrale gemeente Epe en Oene.
Het perceel waarop Ooster Oenerweg 9 staat heeft een oppervlakte van 3880 m². Dit is een zeer groot perceel. De perceeloppervlakte wordt geregistreerd door het Kadaster. Gedetailleerde informatie over de maten van dit perceel kunt u vinden in het rapport Kadastrale kaart met maatvoering van Ooster Oenerweg 9.
De eigenaar van Ooster Oenerweg 9 is op te vragen op deze pagina.
De informatie over dit adres is afkomstig uit officiële overheidsregistraties, voornamelijk de Basisregistratie Adressen en Gebouwen (BAG) en de Basisregistratie Kadaster (BRK). Deze gegevens worden beheerd door respectievelijk gemeenten en het Kadaster, en worden regelmatig bijgewerkt. Energielabelgegevens komen uit de database van de Rijksdienst voor Ondernemend Nederland (RVO).
