
Oostappensedijk 36 is gelegen in de plaats Ommel, de gemeente Asten en de provincie Noord-Brabant. Het object heeft een oppervlakte van 156 m², wat relatief groot is. Het perceel waarop het adres ligt is 2,6 ha groot. Het object is klein ten opzichte van de andere adressen in de straat. Het grootste verblijfsobject is 800 m² groot en het kleinste is 37 m². Het adres Oostappensedijk 36 ligt in een relatief oud pand uit het jaar 1913. Panden van vóór het jaar 1965 hebben we hier geclassificeerd als oud. Het bouwjaar is oud vergeleken met dat van de andere panden in de straat. Het oudste bouwjaar is er 1760 en de nieuwste is 2014. Voor het verblijfsobject gelden deze gebruiksdoelen: 'woonfunctie' en 'industriefunctie'.
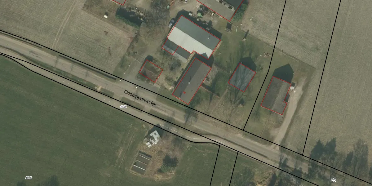
Het perceel waarop het adres ligt is ATN01-M-2440. De afkorting 'ATN01' staat voor kadastrale gemeente Asten. Het perceel is met 2,6 ha relatief groot. Het gemiddelde ligt in de kadastrale gemeente Asten op 6613,45 m². De grootste perceeloppervlakte in de kadastrale gemeente is 3,95 km². De kleinste oppervlakte bedraagt 0 m². Dit is het enige adres dat aanwezig is op het perceel. De laatste wijziging in het de Basisregistratie Kadaster (BRK) was op 27-05-2025.
Er is geen energielabel geregistreerd voor het adres. Het hoogste energielabel in de straat is A; het laagste is G. Het gemiddelde energielabel is er C. Het adres Oostappensedijk 36 heeft als status: 'verblijfsobject in gebruik'. Het pand waarin dit adres ligt heeft als status: 'pand in gebruik'.
Oostappensedijk 36 is een adres gelegen in de gemeente Asten, provincie Noord-Brabant. Dit adres is geregistreerd in de Basisregistratie Adressen en Gebouwen (BAG) met als unieke identificatie 0743010000007004.
Het pand op Oostappensedijk 36 is gebouwd in 1913, wat betekent dat het 113 jaar oud is. Dit is een ouder pand. Het pand heeft mogelijk aanzienlijke renovaties nodig om aan de huidige standaarden te voldoen.
De woning op Oostappensedijk 36 heeft een gebruiksoppervlakte van 156 m². Dit is ruim vergeleken met de gemiddelde Nederlandse woning, die een oppervlakte heeft van ongeveer 119 m². De gebruiksoppervlakte is de maat die wordt gebruikt in de BAG-registratie, de landelijke registratie van de Nederlandse overheid.
Oostappensedijk 36 heeft als functie: wonen en industrie. Deze gebruiksfunctie(s) zijn vastgelegd in de BAG-registratie en geven aan waarvoor het adres officieel mag worden gebruikt.
Oostappensedijk 36 is gelegen op kadastraal perceel ATN01M2440. Deze kadastrale aanduiding is uniek en wordt gebruikt door het Kadaster om eigendomsrechten en andere zakelijke rechten vast te leggen. Het perceel maakt onderdeel uit van de kadastrale gemeente Asten.
Het perceel waarop Oostappensedijk 36 staat heeft een oppervlakte van 2,6 ha. Dit is een zeer groot perceel. De perceeloppervlakte wordt geregistreerd door het Kadaster. Gedetailleerde informatie over de maten van dit perceel kunt u vinden in het rapport Kadastrale kaart met maatvoering van Oostappensedijk 36.
De eigenaar van Oostappensedijk 36 is op te vragen op deze pagina.
De informatie over dit adres is afkomstig uit officiële overheidsregistraties, voornamelijk de Basisregistratie Adressen en Gebouwen (BAG) en de Basisregistratie Kadaster (BRK). Deze gegevens worden beheerd door respectievelijk gemeenten en het Kadaster, en worden regelmatig bijgewerkt. Energielabelgegevens komen uit de database van de Rijksdienst voor Ondernemend Nederland (RVO).
