
2e Barlagerweg 1 is een adres in Onstwedde, dat zich bevindt binnen de gemeentegrenzen van Onstwedde en de grenzen van de provincie Groningen. Het object heeft een oppervlakte van 248 m², wat relatief groot is. Het perceel waarop het adres ligt is 2975 m² groot. De oppervlakte van dit adres is groot vergeleken met de oppervlaktes van andere adressen in de straat. De kleinste oppervlakte bedraagt er 90 m², de grootste 951 m². Het adres 2e Barlagerweg 1 ligt in een relatief oud pand uit het jaar 1925. Panden van vóór het jaar 1965 hebben we hier geclassificeerd als oud. Het bouwjaar is oud vergeleken met dat van de andere panden in de straat. Het oudste bouwjaar is er 1875 en de nieuwste is 2009. Het verblijfsobject heeft de volgende gebruiksdoelen: 'woonfunctie'.
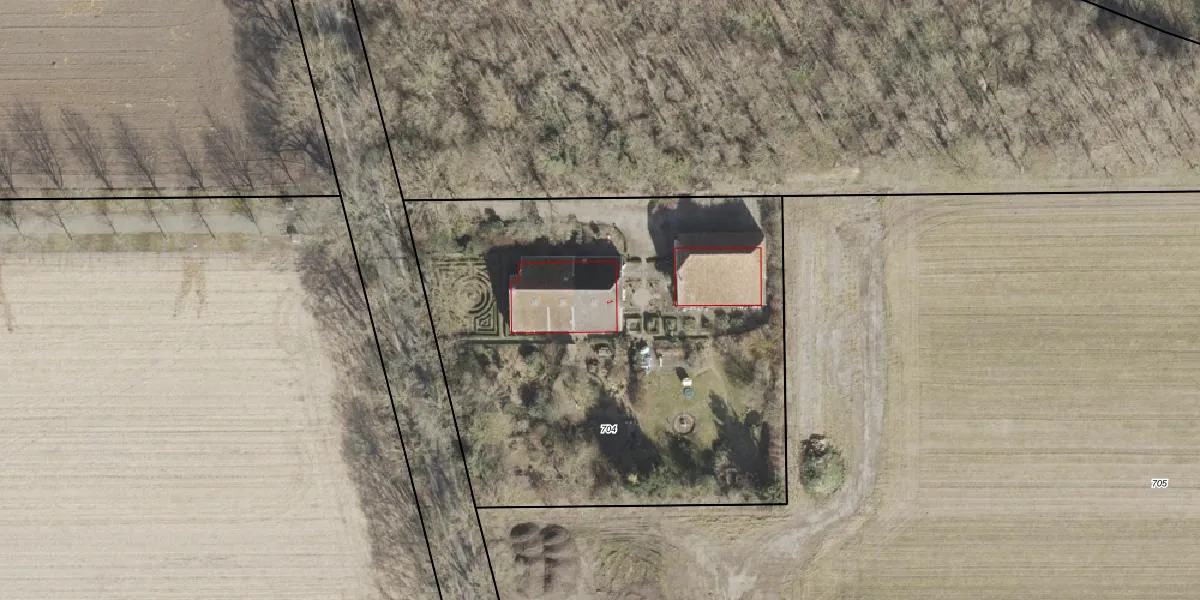
Het adres ligt op het perceel OWD00-T-704, dat zich in de kadastrale gemeente Onstwedde bevindt. Het perceel is kleiner dan gemiddeld in Onstwedde. Het perceel is 2975 m² groot, terwijl het gemiddelde ligt op 6380,93 m². De grootste perceeloppervlakte in de kadastrale gemeente is 1,07 km². De kleinste oppervlakte bedraagt 0 m². Dit is het enige adres dat aanwezig is op het perceel. De huidige grenzen van het perceel zijn digitaal in de Basisregistratie Kadaster (BRK) geregistreerd op 28-12-1999.
Er is geen energielabel geregistreerd voor het adres. Het hoogste energielabel in de straat is A; het laagste is G. Het gemiddelde energielabel is er D. Het adres 2e Barlagerweg 1 heeft als status: 'verblijfsobject in gebruik'. Het pand waarin dit adres ligt heeft als status: 'pand in gebruik'.
2e Barlagerweg 1 is een adres gelegen in de gemeente Stadskanaal, provincie Groningen. Dit adres is geregistreerd in de Basisregistratie Adressen en Gebouwen (BAG) met als unieke identificatie 0037010000364108.
Het pand op 2e Barlagerweg 1 is gebouwd in 1925, wat betekent dat het 101 jaar oud is. Dit is een ouder pand. Het pand heeft mogelijk aanzienlijke renovaties nodig om aan de huidige standaarden te voldoen.
De woning op 2e Barlagerweg 1 heeft een gebruiksoppervlakte van 248 m². Dit is ruim vergeleken met de gemiddelde Nederlandse woning, die een oppervlakte heeft van ongeveer 119 m². De gebruiksoppervlakte is de maat die wordt gebruikt in de BAG-registratie, de landelijke registratie van de Nederlandse overheid.
2e Barlagerweg 1 heeft als functie: wonen. Deze gebruiksfunctie(s) zijn vastgelegd in de BAG-registratie en geven aan waarvoor het adres officieel mag worden gebruikt.
2e Barlagerweg 1 is gelegen op kadastraal perceel OWD00T704. Deze kadastrale aanduiding is uniek en wordt gebruikt door het Kadaster om eigendomsrechten en andere zakelijke rechten vast te leggen. Het perceel maakt onderdeel uit van de kadastrale gemeente Onstwedde.
Het perceel waarop 2e Barlagerweg 1 staat heeft een oppervlakte van 2975 m². Dit is een zeer groot perceel. De perceeloppervlakte wordt geregistreerd door het Kadaster. Gedetailleerde informatie over de maten van dit perceel kunt u vinden in het rapport Kadastrale kaart met maatvoering van 2e Barlagerweg 1.
De eigenaar van 2e Barlagerweg 1 is op te vragen op deze pagina.
De informatie over dit adres is afkomstig uit officiële overheidsregistraties, voornamelijk de Basisregistratie Adressen en Gebouwen (BAG) en de Basisregistratie Kadaster (BRK). Deze gegevens worden beheerd door respectievelijk gemeenten en het Kadaster, en worden regelmatig bijgewerkt. Energielabelgegevens komen uit de database van de Rijksdienst voor Ondernemend Nederland (RVO).
