
Hoge Dijk 14 is een adres in Oosteind, dat zich bevindt binnen de gemeentegrenzen van Oosteind en de grenzen van de provincie Noord-Brabant. De oppervlakte bedraagt 162 m², waarmee het adres groter dan gemiddeld is. De grootte van het perceel waarop het adres ligt is 2035 m². Het adres is klein vergeleken met andere objecten in de straat. Het grootste object in de straat heeft een oppervlakte van 1991 m², het kleinste is 33 m² groot. Het adres Hoge Dijk 14 ligt in een relatief oud pand uit het jaar 1900. Panden van vóór het jaar 1965 hebben we hier geclassificeerd als oud. In de straat komt het nieuwste gebouw uit het jaar 2026 en het oudste uit 1700. Het bouwjaar van dit object is relatief oud. Voor het verblijfsobject gelden deze gebruiksdoelen: 'woonfunctie'.
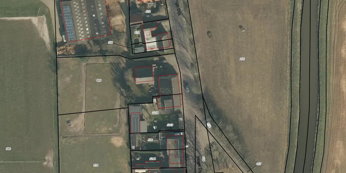
Het adres ligt op het perceel OTH01-V-809, dat zich in de kadastrale gemeente Oosterhout bevindt. De gemiddelde perceelgrootte in Oosterhout is 2773,27 m². Dit perceel is kleiner: de perceeloppervlakte bedraagt 2035 m². De grootste perceeloppervlakte in de kadastrale gemeente is 75,9 ha. De kleinste oppervlakte bedraagt 0 m². Er zijn geen andere adressen aanwezig op het perceel. De huidige grenzen van het perceel zijn digitaal in de Basisregistratie Kadaster (BRK) geregistreerd op 22-12-2006.
Er is geen energielabel geregistreerd voor het adres. Het hoogste energielabel in de straat is A; het laagste is G. Het gemiddelde energielabel is er C. Het adres Hoge Dijk 14 heeft als status: 'verblijfsobject in gebruik'. Het pand waarin dit adres ligt heeft als status: 'pand in gebruik'.
Hoge Dijk 14 is een adres gelegen in de gemeente Oosterhout, provincie Noord-Brabant. Dit adres is geregistreerd in de Basisregistratie Adressen en Gebouwen (BAG) met als unieke identificatie 0826010000008842.
Het pand op Hoge Dijk 14 is gebouwd in 1900, wat betekent dat het 126 jaar oud is. Dit is een ouder pand. Het pand heeft mogelijk aanzienlijke renovaties nodig om aan de huidige standaarden te voldoen.
De woning op Hoge Dijk 14 heeft een gebruiksoppervlakte van 162 m². Dit is ruim vergeleken met de gemiddelde Nederlandse woning, die een oppervlakte heeft van ongeveer 119 m². De gebruiksoppervlakte is de maat die wordt gebruikt in de BAG-registratie, de landelijke registratie van de Nederlandse overheid.
Hoge Dijk 14 heeft als functie: wonen. Deze gebruiksfunctie(s) zijn vastgelegd in de BAG-registratie en geven aan waarvoor het adres officieel mag worden gebruikt.
Hoge Dijk 14 is gelegen op kadastraal perceel OTH01V809. Deze kadastrale aanduiding is uniek en wordt gebruikt door het Kadaster om eigendomsrechten en andere zakelijke rechten vast te leggen. Het perceel maakt onderdeel uit van de kadastrale gemeente Oosterhout.
Het perceel waarop Hoge Dijk 14 staat heeft een oppervlakte van 2035 m². Dit is een zeer groot perceel. De perceeloppervlakte wordt geregistreerd door het Kadaster. Gedetailleerde informatie over de maten van dit perceel kunt u vinden in het rapport Kadastrale kaart met maatvoering van Hoge Dijk 14.
De eigenaar van Hoge Dijk 14 is op te vragen op deze pagina.
De informatie over dit adres is afkomstig uit officiële overheidsregistraties, voornamelijk de Basisregistratie Adressen en Gebouwen (BAG) en de Basisregistratie Kadaster (BRK). Deze gegevens worden beheerd door respectievelijk gemeenten en het Kadaster, en worden regelmatig bijgewerkt. Energielabelgegevens komen uit de database van de Rijksdienst voor Ondernemend Nederland (RVO).
