
Leijsenstraat 20 is gelegen in de plaats Oosterhout, de gemeente Oosterhout en de provincie Noord-Brabant. Het object heeft een oppervlakte van 271 m², wat relatief groot is. Het perceel waarop het adres ligt is 3100 m² groot. Het adres is klein vergeleken met andere objecten in de straat. Het grootste object in de straat heeft een oppervlakte van 877 m², het kleinste is 32 m² groot. Leijsenstraat 20 bevindt zich in een pand uit het jaar 1850. Daarmee behoort het tot de groep relatief oude panden in Nederland die gebouwd zijn vóór 1965. Het bouwjaar is oud vergeleken met dat van de andere panden in de straat. Het oudste bouwjaar is er 1557 en de nieuwste is 2018. De volgende gebruiksdoelen zijn geregistreerd voor dit adres: 'woonfunctie'.
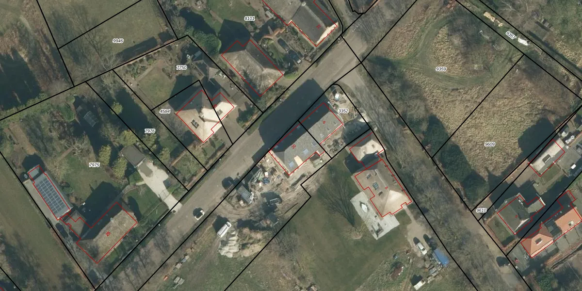
Het adres ligt op het perceel OTH01-G-3358, dat zich in de kadastrale gemeente Oosterhout bevindt. De oppervlakte van het perceel is 3100 m². Dat is groter dan gemiddeld in Oosterhout, waar de gemiddelde perceeloppervlakte op 2771,69 m² ligt. Het grootste perceel in de kadastrale gemeente is 75,9 ha. Het kleinste perceel heeft een oppervlakte van 0 m². Dit is het enige adres dat aanwezig is op het perceel. De laatste wijziging in het de Basisregistratie Kadaster (BRK) was op 28-09-2023.
Er is geen energielabel geregistreerd voor het adres. Het hoogste energielabel in de straat is A++; het laagste is G. Het gemiddelde energielabel is er D. Het adres Leijsenstraat 20 heeft als status: 'verblijfsobject gevormd'. Het pand waarin dit adres ligt heeft als status: 'verbouwing pand'.
Leijsenstraat 20 is een adres gelegen in de gemeente Oosterhout, provincie Noord-Brabant. Dit adres is geregistreerd in de Basisregistratie Adressen en Gebouwen (BAG) met als unieke identificatie 0826010000033008.
Het pand op Leijsenstraat 20 is gebouwd in 1850, wat betekent dat het 176 jaar oud is. Dit is een ouder pand. Het pand heeft mogelijk aanzienlijke renovaties nodig om aan de huidige standaarden te voldoen.
De woning op Leijsenstraat 20 heeft een gebruiksoppervlakte van 271 m². Dit is ruim vergeleken met de gemiddelde Nederlandse woning, die een oppervlakte heeft van ongeveer 119 m². De gebruiksoppervlakte is de maat die wordt gebruikt in de BAG-registratie, de landelijke registratie van de Nederlandse overheid.
Leijsenstraat 20 heeft als functie: wonen. Deze gebruiksfunctie(s) zijn vastgelegd in de BAG-registratie en geven aan waarvoor het adres officieel mag worden gebruikt.
Leijsenstraat 20 is gelegen op kadastraal perceel OTH01G3358. Deze kadastrale aanduiding is uniek en wordt gebruikt door het Kadaster om eigendomsrechten en andere zakelijke rechten vast te leggen. Het perceel maakt onderdeel uit van de kadastrale gemeente Oosterhout.
Het perceel waarop Leijsenstraat 20 staat heeft een oppervlakte van 3100 m². Dit is een zeer groot perceel. De perceeloppervlakte wordt geregistreerd door het Kadaster. Gedetailleerde informatie over de maten van dit perceel kunt u vinden in het rapport Kadastrale kaart met maatvoering van Leijsenstraat 20.
De eigenaar van Leijsenstraat 20 is op te vragen op deze pagina.
De informatie over dit adres is afkomstig uit officiële overheidsregistraties, voornamelijk de Basisregistratie Adressen en Gebouwen (BAG) en de Basisregistratie Kadaster (BRK). Deze gegevens worden beheerd door respectievelijk gemeenten en het Kadaster, en worden regelmatig bijgewerkt. Energielabelgegevens komen uit de database van de Rijksdienst voor Ondernemend Nederland (RVO).
