
Sint Antoniusstraat 73 is gelegen in de plaats Oosterhout, de gemeente Oosterhout en de provincie Noord-Brabant. Het perceel waarop het verblijfsobject staat is 250 m² groot. De oppervlakte van het adres is 121 m², wat zich rond het Nederlandse gemiddelde van 119 m² bevindt. Vergeleken met de andere verblijfsobjecten in de straat is dit object groot. De oppervlakte van het grootste object in de straat is 1480 m², die van het kleinste bedraagt 70 m². In Nederland komt het grootste deel van de gebouwen uit de periode 1965-1984. Ook het bouwjaar van Sint Antoniusstraat 73 is afkomstig uit die periode: het betreft namelijk een pand uit 1972. In de straat komt het nieuwste gebouw uit het jaar 2013 en het oudste uit 1909. Het bouwjaar van dit object is relatief oud. Voor het verblijfsobject gelden deze gebruiksdoelen: 'woonfunctie'.
Deze woning is voor het laatst verkocht op 1 januari 2026. Meer informatie over deze transactie? Bestel het Woningtransactierapport om de verkoopprijs en andere informatie te zien.
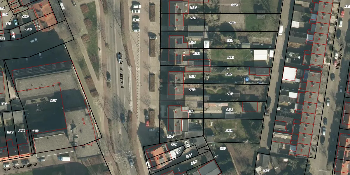
Het adres is gelegen op perceel 2113 in de sectie G en de kadastrale gemeente Oosterhout. De kadastrale aanduiding is aldus OTH01-G-2113. De gemiddelde perceelgrootte in Oosterhout is 2771,9 m². Dit perceel is kleiner: de perceeloppervlakte bedraagt 250 m². Het grootste perceel in de kadastrale gemeente is 75,9 ha. Het kleinste perceel heeft een oppervlakte van 0 m². Er zijn geen andere adressen aanwezig op het perceel. De laatste wijziging in het de Basisregistratie Kadaster (BRK) was op 12-08-2002.
Het adres ligt in een gebouw van het type 'twee-onder-een-kap / rijwoning hoek met het subtype twee-onder-een-kap'. Bij de laatste meting is voor het adres het energielabel C geregistreerd. Het hoogste energielabel in de straat is A; het laagste is G. Het gemiddelde energielabel is er B. Het adres Sint Antoniusstraat 73 heeft als status: 'verblijfsobject in gebruik'. Het pand waarin dit adres ligt heeft als status: 'pand in gebruik'.
Sint Antoniusstraat 73 is een adres gelegen in de gemeente Oosterhout, provincie Noord-Brabant. Dit adres is geregistreerd in de Basisregistratie Adressen en Gebouwen (BAG) met als unieke identificatie 0826010000019842.
Het pand op Sint Antoniusstraat 73 is gebouwd in 1972, wat betekent dat het 54 jaar oud is. Dit is een ouder pand. Het pand heeft mogelijk aanzienlijke renovaties nodig om aan de huidige standaarden te voldoen.
De woning op Sint Antoniusstraat 73 heeft een gebruiksoppervlakte van 121 m². Dit is gemiddeld vergeleken met de gemiddelde Nederlandse woning, die een oppervlakte heeft van ongeveer 119 m². De gebruiksoppervlakte is de maat die wordt gebruikt in de BAG-registratie, de landelijke registratie van de Nederlandse overheid.
Sint Antoniusstraat 73 heeft als functie: wonen. Deze gebruiksfunctie(s) zijn vastgelegd in de BAG-registratie en geven aan waarvoor het adres officieel mag worden gebruikt.
Sint Antoniusstraat 73 is gelegen op kadastraal perceel OTH01G2113. Deze kadastrale aanduiding is uniek en wordt gebruikt door het Kadaster om eigendomsrechten en andere zakelijke rechten vast te leggen. Het perceel maakt onderdeel uit van de kadastrale gemeente Oosterhout.
Het perceel waarop Sint Antoniusstraat 73 staat heeft een oppervlakte van 250 m². Dit is een middelgroot perceel. De perceeloppervlakte wordt geregistreerd door het Kadaster. Gedetailleerde informatie over de maten van dit perceel kunt u vinden in het rapport Kadastrale kaart met maatvoering van Sint Antoniusstraat 73.
De eigenaar van Sint Antoniusstraat 73 is op te vragen op deze pagina.
De informatie over dit adres is afkomstig uit officiële overheidsregistraties, voornamelijk de Basisregistratie Adressen en Gebouwen (BAG) en de Basisregistratie Kadaster (BRK). Deze gegevens worden beheerd door respectievelijk gemeenten en het Kadaster, en worden regelmatig bijgewerkt. Energielabelgegevens komen uit de database van de Rijksdienst voor Ondernemend Nederland (RVO).
